电脑桌面
添加小米粒文库到电脑桌面
安装后可以在桌面快捷访问

022进度控制流程-工程进度控制流程a

022进度控制流程-工程进度控制流程a_第1页
1/1
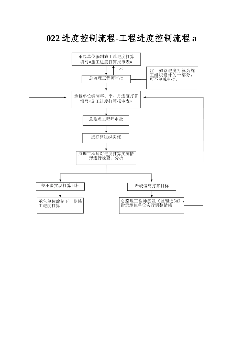
022 进度控制流程-工程进度控制流程 a承包单位编制施工总进度打算 填写«施工进度打算报审表»总监理工程师审批承包单位编制年、季、月进度打算 填写«施工进度打算报审表»总监理工程师审批按打算组织实施监理工程师对进度打算实施情形进行检查、分析差不多实现打算目标严峻偏离打算目标承包单位编制下一期施工进度打算总监理工程师签发《监理通知》,指示承包单位实行调整措施否注:如总进度打算为施工组织设计的一部分,可不单独审批。

1、当您付费下载文档后,您只拥有了使用权限,并不意味着购买了版权,文档只能用于自身使用,不得用于其他商业用途(如 [转卖]进行直接盈利或[编辑后售卖]进行间接盈利)。
2、本站所有内容均由合作方或网友上传,本站不对文档的完整性、权威性及其观点立场正确性做任何保证或承诺!文档内容仅供研究参考,付费前请自行鉴别。
3、如文档内容存在违规,或者侵犯商业秘密、侵犯著作权等,请点击“违规举报”。

碎片内容

022进度控制流程-工程进度控制流程a

您可能关注的文档

确认删除?
VIP
微信客服
  • 扫码咨询
会员Q群
  • 会员专属群点击这里加入QQ群
客服邮箱
回到顶部