电脑桌面
添加小米粒文库到电脑桌面
安装后可以在桌面快捷访问

二、采光屋面及铝板屋面工程

二、采光屋面及铝板屋面工程_第1页
1/34
二、采光屋面及铝板屋面工程_第2页
2/34
二、采光屋面及铝板屋面工程_第3页
3/34
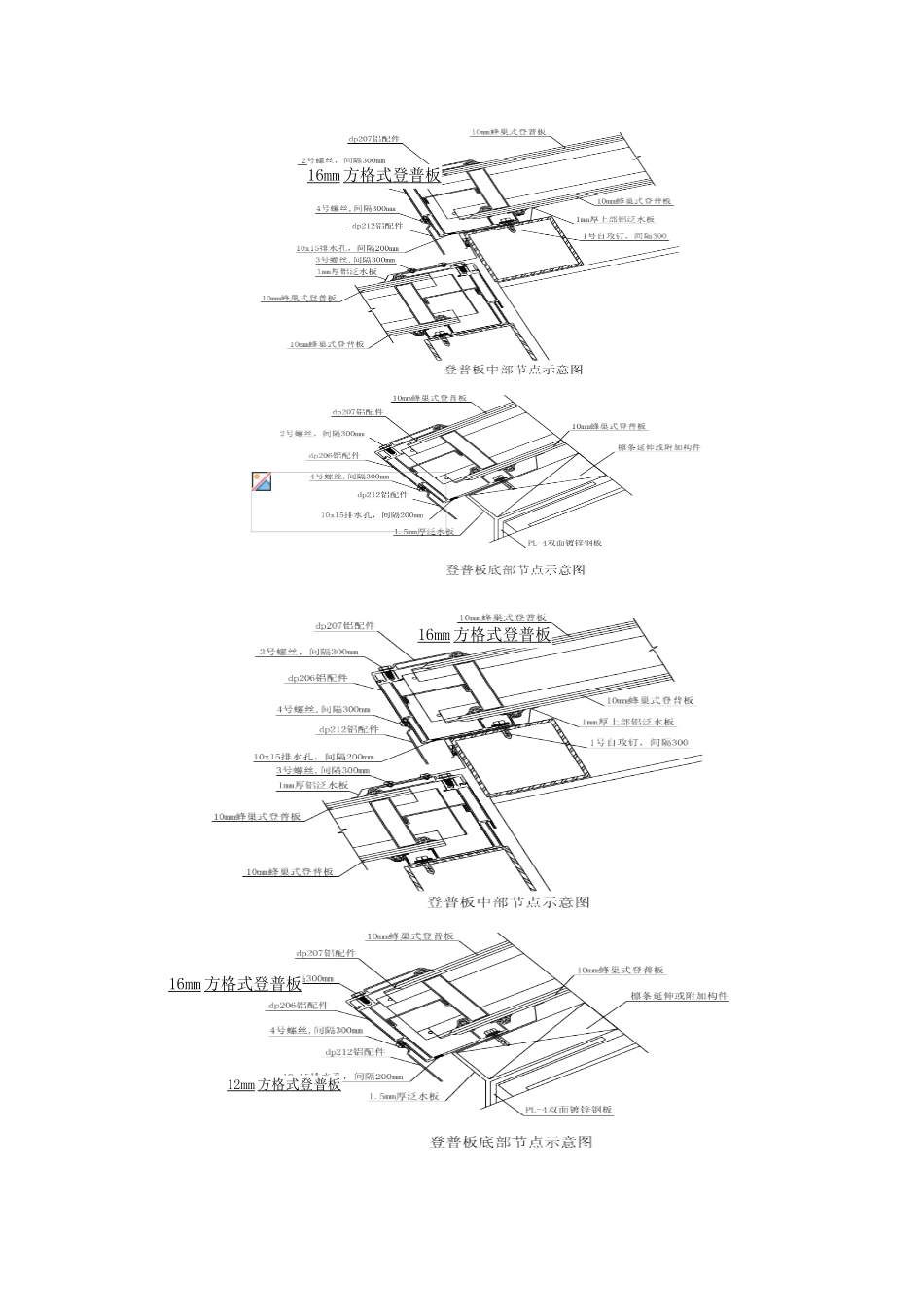
二、采光屋面及铝板屋面工程1 聚碳酸酯板采光屋面1.1 工程简介及特点1.1.1 本工程在屋面做法中屋乙为一空间异形体的局部表面,造型上相当于一空间心形网壳体系,其中,金属板以上屋面部分采纳的是透光双层厚聚碳酸酯合成板屋面,上层板为 16mm 厚乳白色,下层板为 12mm 厚银灰色。屋面做法为:在钢桁架上弦杆上焊檩托,檩托上焊檩条,下悬空间吸声体,檩条上安装采光屋面板。聚碳酸酯合成板采光屋面工程工作量如下表:表 7-2-2-1种 类部 位面 积(m2)聚碳酸酯合成板采光屋面屋乙(见图)43601.1.2 聚碳酸酯合成板也叫 PC 板,这种板具有透光、质轻、耐候、阻燃、节能、坚固耐用、隔音隔热、美观大方、施工方便、保养简单等特点,并有很好的防水效果,国际上称其为“透明钢板”,它比夹丝玻璃、夹胶玻璃、钢化玻璃、有机玻璃等有无法比拟的优点。另外聚碳酸酯合成板具有良好的可安装性,可钻、钉、铆、粘、割、弯,能满足各种情况下的安装要求。本工程使用这种材料做采光屋面。1.1.3 经讨论讨论,我们计划在**体育馆采光屋面工程中,选用以色列 DAN PAL 公司生产的登普采光天幕系统。登普系统的板材由特极聚碳酸酯制造而成,它除了具有一般聚碳酸酯阳光板的共同优点外,还拥有三项获得世界专利的独特结构:U 形和 H 形连接结构,蜂巢式结构和自由浮动结构,登普采光天幕系统与其他屋面材料(钢、铝、普通不锈钢、镀锌板等),都能紧密配合,做到节点接口美观,安装方便,不渗漏水。登普板本身的“H”型连接构件系统是已经获得世界专利的结构防漏系统,无须通过螺栓连接,也不需要使用任何密封胶。Danpalon 整体铝架体系各种构配件采纳的互连型材间精确的装配配合,形成了整体铝架之间自由伸缩的空间关系和渗漏的雨水有组织排放的可靠道,这是双层登普板天幕结构的最大优越性。从其结构构成细节我们可以发现,铝架 dp-205、dp-206 组成的安装基本单元的四边形框架在划分了设计和安装的基本构成单位的同时,其铝架下部沟槽之间装配的设计自然形成了有组织排水的信道,加强了该结构的防水功能。同时通过采纳如此完善的整体防水结构,不但保障了整个场馆采光屋面 100%防漏性,也可以令屋面根据钢结构自如分割排布,整体屋面在单元较大空间内无任何螺钉或金属盖板,充分地体现了设计师的感观要求。另外,通过轻质的登普板和“H”型连接构件的应用,使整个屋面结构系统的重量大大减轻,达到了支撑结构大空间跨度的要求。其中...

1、当您付费下载文档后,您只拥有了使用权限,并不意味着购买了版权,文档只能用于自身使用,不得用于其他商业用途(如 [转卖]进行直接盈利或[编辑后售卖]进行间接盈利)。
2、本站所有内容均由合作方或网友上传,本站不对文档的完整性、权威性及其观点立场正确性做任何保证或承诺!文档内容仅供研究参考,付费前请自行鉴别。
3、如文档内容存在违规,或者侵犯商业秘密、侵犯著作权等,请点击“违规举报”。

碎片内容

二、采光屋面及铝板屋面工程

确认删除?
VIP
微信客服
  • 扫码咨询
会员Q群
  • 会员专属群点击这里加入QQ群
客服邮箱
回到顶部