电脑桌面
添加小米粒文库到电脑桌面
安装后可以在桌面快捷访问

企业管理综合流程工具箱

企业管理综合流程工具箱_第1页
1/138
企业管理综合流程工具箱_第2页
2/138
企业管理综合流程工具箱_第3页
3/138
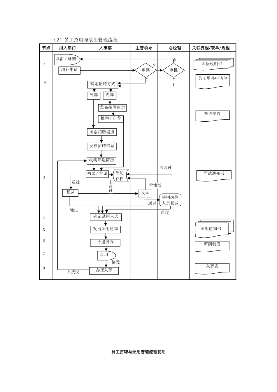
企业管理流程工具箱1.人事管理流程假如将企业比作一辆汽车,那么人事管理就是发动机。发动机的力量决定了汽车奔跑的速度,人事管理则决定了企业的进展。高效的人事管理可以增强企业市场竞争力,增强企业凝聚力和活力,速进企业平稳进展。一般来说,现代企业人事管理工作的主要内容有人力资源规划、员工招聘与任用、员工培训、薪酬福利、绩效考核与奖惩、考勤与休假、人事档案、劳动合同管理等多方面。每一方面内容,企业都应建立相应的流程,将人事工作中一些常规的程序流程化、标准化,确保各项人事工作执行到位,保证企业各项工作能够顺利执行。下面,是某企业人事管理流程图,仅供参考。(1)人事管理总流程图企业进展战略部门职责组织结构设置工作分析定岗定编年度编制计划组织结构图岗位说明书考核评估离职入职试用转正档案考勤奖惩劳动合同休假薪酬福利人才储备岗位调整培训职业生涯绩效管理薪酬福利培训进展员工关系……招聘(2)员工招聘与录用管理流程节点用人部门人事部主管领导总经理关联流程/表单/规程1员工招聘与录用管理流程说明职位说明书薪酬制度入职表录用通知书招聘制度员工增补申请单面试通知书确定录用人选待遇谈判发出录用通知办理入职录用确定招聘渠道发布招聘信息收集筛选简历初试 / 笔试复试简历存档特别岗位人员复试复试取消 / 延期推举 / 自荐增补申请审批审批发布招聘启示确定招聘方式外部内部接受NNYY不接受通过通过通过未通过未通过通过未通过12345678(3)员工培训管理流程节点员工相关部门人事部主管领导关联流程/规章/表单流程节点责任人工作说明1增补申请用人部门当某部门因调动、流失等原因出现职位空缺时,用人部门领导首先要推断是否影响部门工作,假如需要及时增补员工,则需提出增补申请,填写员工增补申请表,提交上级领导审核审批主管领导审核用人部门提出的用人申请,同意实施招聘;不同意则需报告总经理审核审批总经理审核分管领导提交的用人申请,同意则实施招聘程序,不同意则退回用人部门,取消或延期招聘2招聘人事部1.人事部根据上级领导的意见以及用人部门所需岗位的岗位说明书,确定招聘方式,一般包括内部招聘和外部招聘2.如确定为内部招聘则对内发布招聘启事,内部员工通过推举或自荐的方式应聘,参加面试/笔试3.如决定为外部招聘,首先确定招聘渠道(校园招聘、招聘会、媒体招聘等),之后发布招聘信息,收集筛选应聘简历,确定面试/笔试的应聘人员3面试/笔试/复试人事部不论是内聘还是外...

1、当您付费下载文档后,您只拥有了使用权限,并不意味着购买了版权,文档只能用于自身使用,不得用于其他商业用途(如 [转卖]进行直接盈利或[编辑后售卖]进行间接盈利)。
2、本站所有内容均由合作方或网友上传,本站不对文档的完整性、权威性及其观点立场正确性做任何保证或承诺!文档内容仅供研究参考,付费前请自行鉴别。
3、如文档内容存在违规,或者侵犯商业秘密、侵犯著作权等,请点击“违规举报”。

碎片内容

企业管理综合流程工具箱

您可能关注的文档

确认删除?
VIP
微信客服
  • 扫码咨询
会员Q群
  • 会员专属群点击这里加入QQ群
客服邮箱
回到顶部