电脑桌面
添加小米粒文库到电脑桌面
安装后可以在桌面快捷访问

第15章-监理工作程序

第15章-监理工作程序_第1页
1/16
第15章-监理工作程序_第2页
2/16
第15章-监理工作程序_第3页
3/16
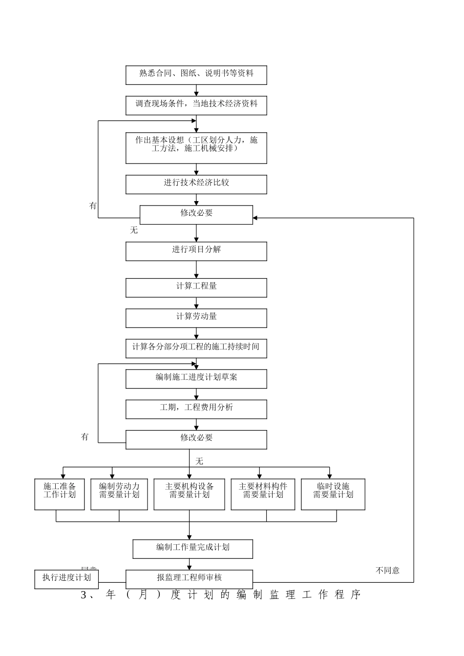
第十五章 监理工作程序(如图)1 、 施 工 阶 段 进 度 监 理 工 作 流 程 图 不同意 同意 符合 同意2 、 施 工 总 进 度 计 划 的 编 制 监 理 工 作 程 序 图业主与承包方签定施工承包合同上报监理工程师承包方编制施工总进度计划监理工程师审 查1、当月(年)计划完成工程、工作量2、当月(年)实际完成工作量、工作量3、累计计划完成数和实际完成数4、计划提前或拖后的原因分析5、拟实行的对策6、现场人工、材料、机械设备数量汇总分析承包人编制具体工程项目和年度的施工进度计划,并按月上报实际进展情况承包方修改施工进度计划批准、实施内容应附有:1、主要劳动力计划2、主要材料进场计划3、主要机械设备进退场计划4、施工准备工作计划5、临时设备、临时占地计划6、现金流量计划监理工程师审查,进行计量和签发进行计划进度与实际完成值的检查两者对比指定承包方修改施工进度计划继续执行计划直到工程竣工报监理工程师批准实施修正施工计划 有 无 有 无 同意 不同意3 、 年 ( 月 ) 度 计 划 的 编 制 监 理 工 作 程 序熟悉合同、图纸、说明书等资料调查现场条件,当地技术经济资料作出基本设想(工区划分人力,施工方法,施工机械安排)修改必要进行技术经济比较进行项目分解计算工程量修改必要计算各分部分项工程的施工持续时间编制施工进度计划草案计算劳动量工期,工程费用分析施工准备工作计划编制劳动力需要量计划主要机构设备需要量计划主要材料构件需要量计划临时设施需要量计划编制工作量完成计划报监理工程师审核执行进度计划 不符合 不符合 符合 不同意 同意4 、 阶 段 施 工 进 度 计 划 的 审 批 监 理 工 作 流 程讨论批准的施工进度计划或长周期的生产计划项目分析列出各项目计划施工的工程量、工作量、月工人数、工作时间延期事件是否连续计算各项计划指标编制初始施工生产计划考虑应实行的措施编制计划说明书1、工程量及累计数2、工作量及累计值3、各工种用工数及周期需要量总工日数4、劳动效率5、大型材料需要量6、主要材料需要量7、上期对比情况编制正式施工生产计划1、工期是否符合要求2、工作是否连续作业3、劳动力均衡状况4、资源供应时间5、各工程之间的逻辑关系6、关键线路7、是否考虑应有的停歇检查报监理工程师审查批准实施检查结果1、上期现场工、料、机数量2、本期现场计划的工、料、机数量编制现场工料机报表 不同...

1、当您付费下载文档后,您只拥有了使用权限,并不意味着购买了版权,文档只能用于自身使用,不得用于其他商业用途(如 [转卖]进行直接盈利或[编辑后售卖]进行间接盈利)。
2、本站所有内容均由合作方或网友上传,本站不对文档的完整性、权威性及其观点立场正确性做任何保证或承诺!文档内容仅供研究参考,付费前请自行鉴别。
3、如文档内容存在违规,或者侵犯商业秘密、侵犯著作权等,请点击“违规举报”。

碎片内容

第15章-监理工作程序

您可能关注的文档

确认删除?
VIP
微信客服
  • 扫码咨询
会员Q群
  • 会员专属群点击这里加入QQ群
客服邮箱
回到顶部