电脑桌面
添加小米粒文库到电脑桌面
安装后可以在桌面快捷访问

PBI有线电视系统前端设计方案

PBI有线电视系统前端设计方案_第1页
1/12
PBI有线电视系统前端设计方案_第2页
2/12
PBI有线电视系统前端设计方案_第3页
3/12
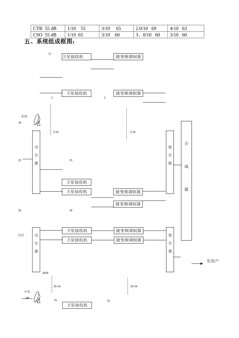
有线电视系统方案一、方案介绍:根据需要及实际情况,该系统设计思路定位成集中供电型 860MHz 邻频传输系统,系统的总容量 100 套(PAL—D)电视信号,入户电平 65±3dB,初期系统节目数量定为 20 套(根据需要可增加其它节目内容)。数字卫星接收机完全符合 DVB-S 标准,采纳意法 ST 处理器,具有高灵度信号接收功能;调制器采纳内嵌式微机控制电路,图像中频、伴音中频、射频本振均采纳 PLL 锁相。二、系统设计依据:本有线电视系统以国家有关标准为依据,参考国内和讨论了国内若干个城市有线电视系统的先进技术资料及经验,并结合贵单位的实际情况,设计出符合贵单位特点的有线电视系统。系统设计的主要技术指标的依据如下:1、GY/T106-92 《有线电视系统技术法律规范》2、GB50200—94 《有线电视系统工程技术法律规范》3、GB/T50311-2000《建筑与建筑群综合布线系统工程设计法律规范》4、GB6510—86 《30MHz-1GHz 声音和电视信号的电缆分配系统》5、GBJ《民用建筑电缆电视工程技术法律规范》6、GB7401-87《彩色电视图像质量主观评价方法》三、本系统功能特点1)、向用户传输 N 套(PAL—D)高清楚数字卫星电视模拟信号,也可以在 N 套节目的基础上增加自办节目。2)、网络通过光缆可以实行远距离传输,图像清楚、流畅。3)、系统容量大,传输节目多。四、广播电视系统组成及指标分配:1、系统组成 系统主要由信号源、机房前端、干线传输、分配放大、同轴电缆分配网络组成.2、指标分配:项目设计值前端比例 dB电缆比例 dB分配系统比例 dB终端比例 dBC/N 44 dB1/10 542。5/10 503.5/10 48。53/10 49.1353-243-2429-3429-3435CTB 55 dB1/10 553/10 652.0/10 694/10 63CSO 55 dB1/10 653/10 603。0/10 603/10 60五、系统组成框图: 11 2 2 亚洲3S25 2526 262727 2828中星6B功分器混合器合成器混合器卫星接收机功分器卫星接收机卫星接收机卫星接收机捷变频调制器捷变频调制器捷变频调制器捷变频调制器卫星接收机卫星接收机捷变频调制器捷变频调制器调制器卫星接收机至用户363639394040有线信号37383738六、主要设备选用1、PBI-4000MUV 广播级全频道捷变式邻频调制主机(入网证书编号:011040100427)(3C 证书编号:2025020815000065)是专业级的全频道 870MHz 捷变式邻频电视调制器,采纳高可靠性残留边带滤波器,中频调制信号处理方式;双重 PLL 频率锁定,性能稳定可靠;射频放大采纳进口模...

1、当您付费下载文档后,您只拥有了使用权限,并不意味着购买了版权,文档只能用于自身使用,不得用于其他商业用途(如 [转卖]进行直接盈利或[编辑后售卖]进行间接盈利)。
2、本站所有内容均由合作方或网友上传,本站不对文档的完整性、权威性及其观点立场正确性做任何保证或承诺!文档内容仅供研究参考,付费前请自行鉴别。
3、如文档内容存在违规,或者侵犯商业秘密、侵犯著作权等,请点击“违规举报”。

碎片内容

PBI有线电视系统前端设计方案

确认删除?
VIP
微信客服
  • 扫码咨询
会员Q群
  • 会员专属群点击这里加入QQ群
客服邮箱
回到顶部