电脑桌面
添加小米粒文库到电脑桌面
安装后可以在桌面快捷访问

单片机实例99秒马表设计和实现 电气工程自动化专业

单片机实例99秒马表设计和实现  电气工程自动化专业_第1页
1/7
单片机实例99秒马表设计和实现  电气工程自动化专业_第2页
2/7
单片机实例99秒马表设计和实现  电气工程自动化专业_第3页
3/7
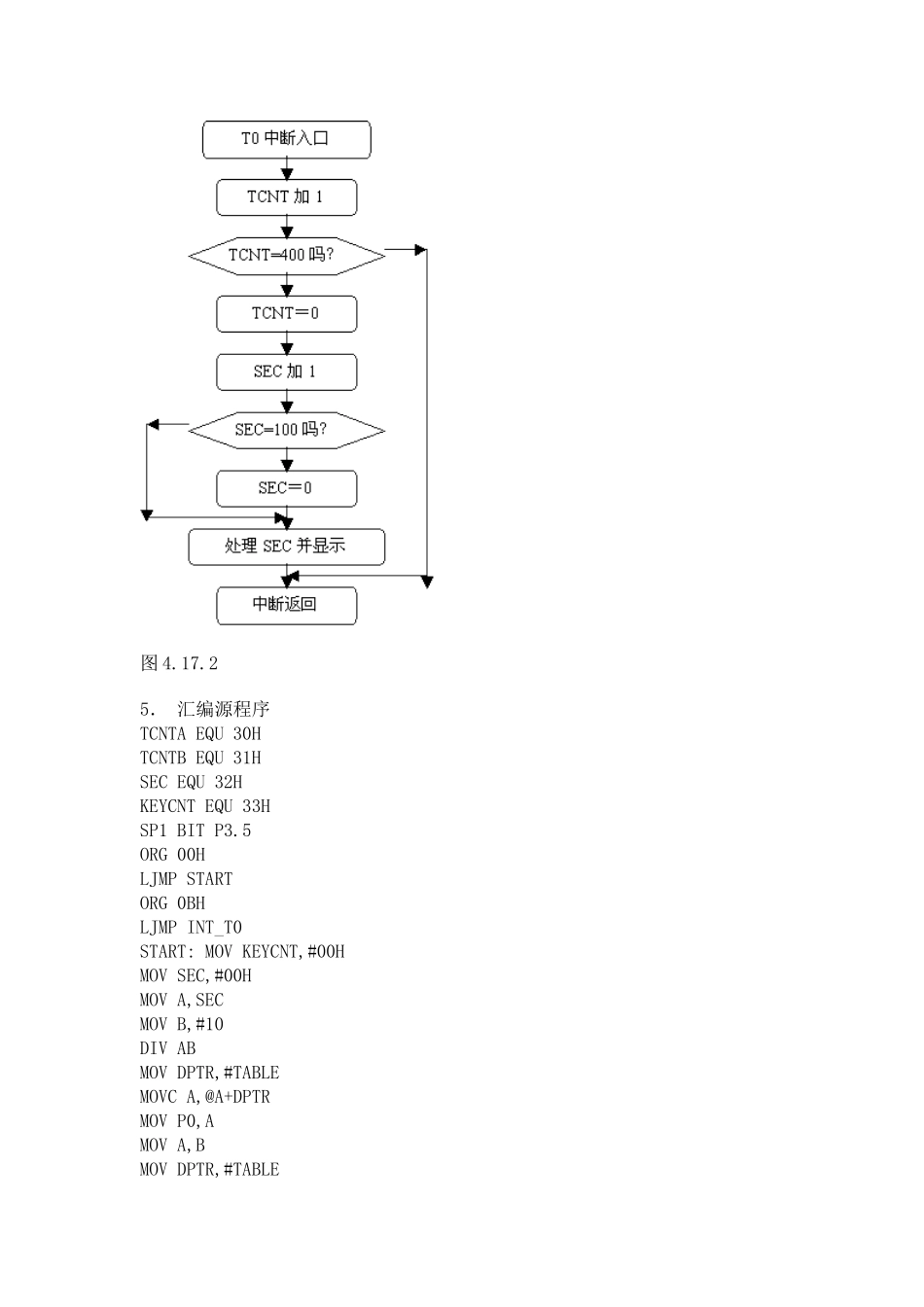
17. 99 秒马表设计1. 实验任务(1. 开始时,显示“00”,第 1 次按下 SP1 后就开始计时。(2. 第 2 次按 SP1 后,计时停止。(3. 第 3 次按 SP1 后,计时归零。2. 电路原理图 图 4.17.13. 系统板上硬件连线(1. 把“单片机系统”区域中的 P0.0/AD0-P0.7/AD7 端口用 8 芯排线连接到“四路静态数码显示模块”区域中的任一个 a-h 端口上;要求:P0.0/AD0 对应着 a,P0.1/AD1 对应着 b,……,P0.7/AD7 对应着 h。 (2. 把“单片机系统”区域中的 P2.0/A8-P2.7/A15 端口用 8 芯排线连接到“四路静态数码显示模块”区域中的任一个 a-h 端口上;要求:P2.0/A8 对应着 a,P2.1/A9 对应着 b,……,P2.7/A15 对应着 h。 (3. 把“单片机系统“区域中的 P3.5/T1 用导线连接到”独立式键盘“区域中的 SP1 端口上; 4. 程序框图主程序框图 T0 中断服务程序框图 图 4.17.2 5. 汇编源程序TCNTA EQU 30HTCNTB EQU 31HSEC EQU 32HKEYCNT EQU 33HSP1 BIT P3.5ORG 00HLJMP STARTORG 0BHLJMP INT_T0START: MOV KEYCNT,#00HMOV SEC,#00HMOV A,SECMOV B,#10DIV ABMOV DPTR,#TABLEMOVC A,@A+DPTRMOV P0,AMOV A,BMOV DPTR,#TABLEMOVC A,@A+DPTRMOV P2,AMOV TMOD,#02HSETB ET0SETB EAWT: JB SP1,WTLCALL DELY10MSJB SP1,WTINC KEYCNTMOV A,KEYCNTCJNE A,#01H,KN1SETB TR0MOV TH0,#06HMOV TL0,#06HMOV TCNTA,#00HMOV TCNTB,#00HLJMP DKNKN1: CJNE A,#02H,KN2CLR TR0LJMP DKNKN2: CJNE A,#03H,DKNMOV SEC,#00HMOV A,SECMOV B,#10DIV ABMOV DPTR,#TABLEMOVC A,@A+DPTRMOV P0,AMOV A,BMOV DPTR,#TABLEMOVC A,@A+DPTRMOV P2,AMOV KEYCNT,#00HDKN: JNB SP1,$LJMP WTDELY10MS:MOV R6,#20D1: MOV R7,#248DJNZ R7,$DJNZ R6,D1RETINT_T0:INC TCNTAMOV A,TCNTACJNE A,#100,NEXTMOV TCNTA,#00HINC TCNTBMOV A,TCNTBCJNE A,#4,NEXTMOV TCNTB,#00HINC SECMOV A,SECCJNE A,#100,DONEMOV SEC,#00HDONE: MOV A,SECMOV B,#10DIV ABMOV DPTR,#TABLEMOVC A,@A+DPTRMOV P0,AMOV A,BMOV DPTR,#TABLEMOVC A,@A+DPTRMOV P2,ANEXT: RETITABLE: DB 3FH,06H,5BH,4FH,66H,6DH,7DH,07H,7FH,6FHEND6. C 语言源程序#include unsigned char code dispcode[]={0x3f,0x06,0x5b,0x4f,0x66,0x6d,0x7d,0x07,0x7f,0x6f,0x77,0x7c,0x39,0x5e,0x79,0x71,0x00};unsigned char second;unsigned char keycnt;unsigned int tcnt;void main(void){unsigned char i,j;TMOD=0x02;ET0=1;EA=1;second=0;P0=dispcode[second/10];P2=dispcode[second%10];while(1){if(P3_5==0){for(i=20;i>0;i--)for(j=248;j>0;j--);if(P3_5==0){keycnt++;switch(keycnt){case 1:TH0=0x06;TL0=0x06;TR0=1;break;case 2:TR0=0;break;case 3:keycnt=0;second=0;P0=dispcode[second/10];P2=dispcode[second%10];break;}while(P3_5==0);}}}}void t0(void) interrupt 1 using 0{tcnt++;if(tcnt==400){tcnt=0;second++;if(second==100){second=0;}P0=dispcode[second/10];P2=dispcode[second%10];}}

1、当您付费下载文档后,您只拥有了使用权限,并不意味着购买了版权,文档只能用于自身使用,不得用于其他商业用途(如 [转卖]进行直接盈利或[编辑后售卖]进行间接盈利)。
2、本站所有内容均由合作方或网友上传,本站不对文档的完整性、权威性及其观点立场正确性做任何保证或承诺!文档内容仅供研究参考,付费前请自行鉴别。
3、如文档内容存在违规,或者侵犯商业秘密、侵犯著作权等,请点击“违规举报”。

碎片内容

单片机实例99秒马表设计和实现 电气工程自动化专业

您可能关注的文档

确认删除?
VIP
微信客服
  • 扫码咨询
会员Q群
  • 会员专属群点击这里加入QQ群
客服邮箱
回到顶部