电脑桌面
添加小米粒文库到电脑桌面
安装后可以在桌面快捷访问

监理规划附监理工作程序图VIP免费

监理规划附监理工作程序图_第1页
1/16
监理规划附监理工作程序图_第2页
2/16
监理规划附监理工作程序图_第3页
3/16
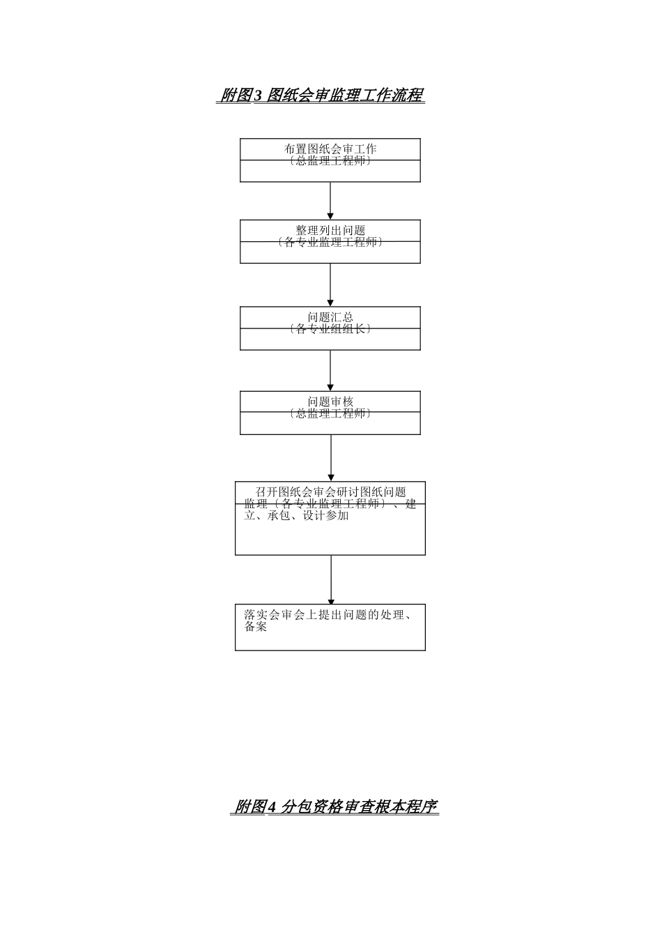
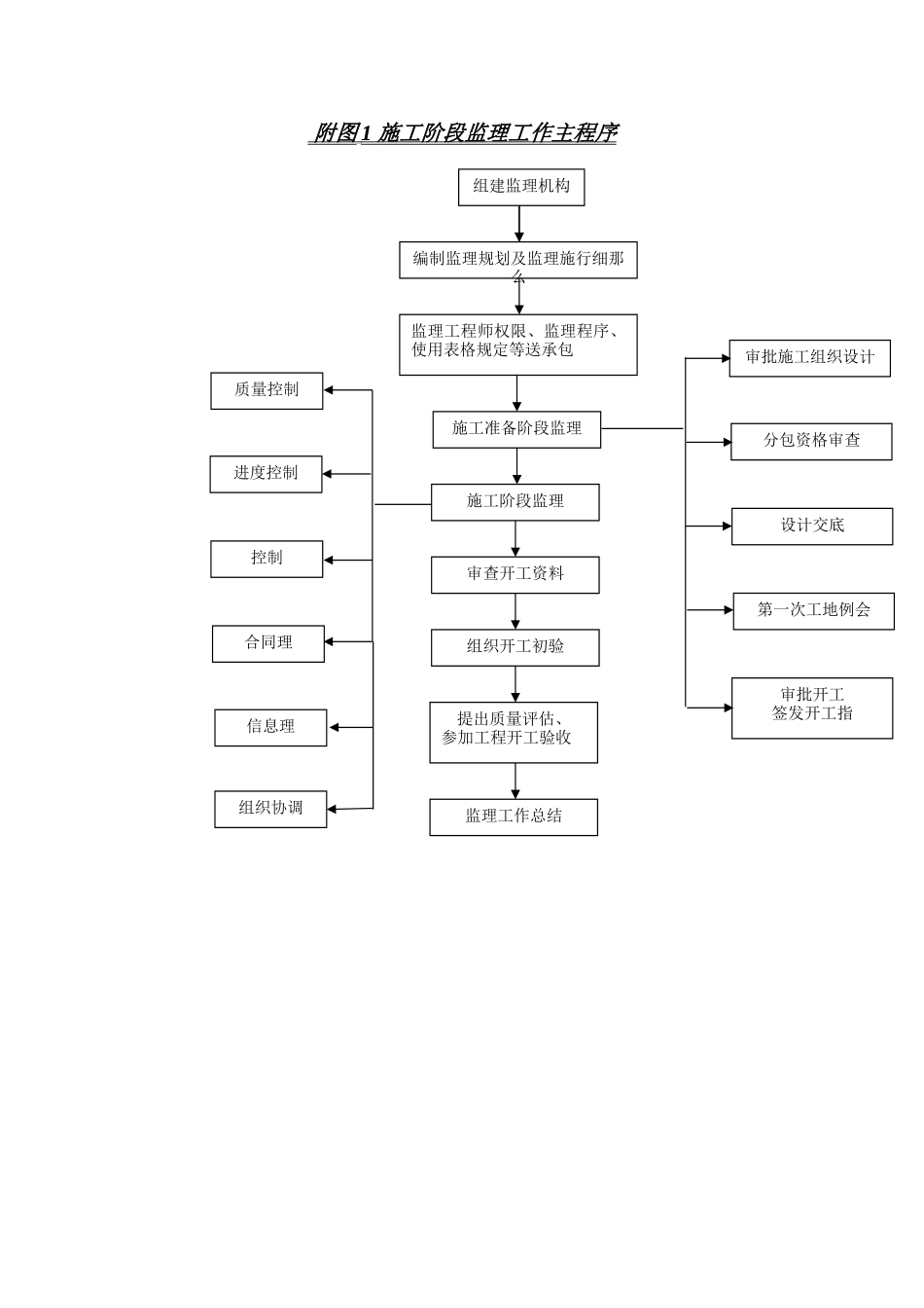
附图1施工阶段监理工作主程序组建监理机构编制监理规划及监理施行细那么监理工程师权限、监理程序、使用表格规定等送承包施工准备阶段监理施工阶段监理审查开工资料组织开工初验提出质量评估、参加工程开工验收监理工作总结审批施工组织设计分包资格审查设计交底第一次工地例会审批开工签发开工指质量控制进度控制控制合同理信息理组织协调附图2施工组织设计〔施工方案〕审批程序修改补充有修改施工组织设计申报承包初审〔各专业监理工程师〕监理组会审〔工程总监主持各专业监理工程师参加〕施工组织设计审批〔总监〕将批件返回承包并送业主施工组织设计付诸施行附图3图纸会审监理工作流程附图4分包资格审查根本程序布置图纸会审工作〔总监理工程师〕整理列出问题〔各专业监理工程师〕问题汇总〔各专业组组长〕问题审核〔总监理工程师〕召开图纸会审会研讨图纸问题监理〔各专业监理工程师〕、建立、承包、设计参加落实会审会上提出问题的处理、备案附图5开工审批程序附图6测量复核监理工作程序附图7月工程计量和支付程序附图8工程开工结算的根本程序附图9进度控制根本程序承包编制施工总进度方案填写«施工进度方案报审表»总监理工程师审批承包编制年、季、月进度方案填写«施工进度方案报审表»总监理工程师审批按方案组织施行监理工程师对进度方案施行情况进展检查、分析根本实现方案目的严重偏离方案目的承包编制下一施工进度方案总监理工程师签发?监理?承包采取调整措施否注:如总进度方案为施工组织设计的一局部可不单独审批。附图10工程材料、构配件和设备质量控制程序附图11工程隐检、预检、分项、分部工程签认根本程序附图12工程验收根本程序附图13工程质量〔平安〕事故处理程序附图14设计变更、洽商理的根本程序同意不同意建立或设计提出工程变更设计签发设计变更建立予以签认承包向工程监理部提交?工程变更费用报审表?监理工程师审核总监理工程师签认建立审批建立审查签认总监理工程师审查签认承包提出工程变更必要时必要时工程监理部发出会签的?工程变更单?承包施行工程变更附图15工程延理的根本程序不一致不同意延发生监理工程师审核与评估延完毕承包提交?工程延申请表?工程监理部搜集资料详细记录过程承包随时提交延的详细承包提交工索赔意向与承包、建立协商总监理工程师签发?工程延审批表?附图16违约处理的根本程序违约发生受损失一方向工程监理部提出申诉工程监理部调查、分析、确认违约性质并用?工作联络单?违约方监理工程师评估违约方给对方造成的费用增加或工延误与双方协商处理总监理工程师签发相应工程监理部根据合同约定妥善处理附图17费用索赔理的根本程序不一致不同意费用索赔发生工程监理部审核与评估索赔完毕承包提交?费用索赔申请表?工程监理部搜集资料详细记录过程承包随时提交索赔的详细与承包、建立协商总监理工程师签发?费用索赔审批表?承包向工程监理部提交书面费用索赔意向附图18工程开工验收程序

1、当您付费下载文档后,您只拥有了使用权限,并不意味着购买了版权,文档只能用于自身使用,不得用于其他商业用途(如 [转卖]进行直接盈利或[编辑后售卖]进行间接盈利)。
2、本站所有内容均由合作方或网友上传,本站不对文档的完整性、权威性及其观点立场正确性做任何保证或承诺!文档内容仅供研究参考,付费前请自行鉴别。
3、如文档内容存在违规,或者侵犯商业秘密、侵犯著作权等,请点击“违规举报”。

碎片内容

监理规划附监理工作程序图

您可能关注的文档

确认删除?
VIP
微信客服
  • 扫码咨询
会员Q群
  • 会员专属群点击这里加入QQ群
客服邮箱
回到顶部