电脑桌面
添加小米粒文库到电脑桌面
安装后可以在桌面快捷访问

工业类建设项目环境影响报告书审批VIP免费

工业类建设项目环境影响报告书审批_第1页
1/3
工业类建设项目环境影响报告书审批_第2页
2/3
工业类建设项目环境影响报告书审批_第3页
3/3
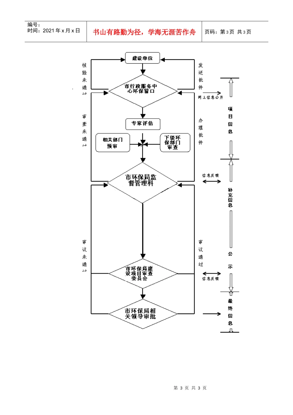
第1页共3页编号:时间:2021年x月x日书山有路勤为径,学海无涯苦作舟页码:第1页共3页工业类建设项目环境影响报告书审批项目名称:工业类建设项目环境影响报告书审批项目类别:前审后批审批内容:1、是否符合环境保护相关法律法规。涉及依法划定的自然保护区、风景名胜区、生活饮用水源保护区及其他需要特别保护的区域的,是否征得相应一级人民政府或主管部门的同意;2、项目选址、选线、布局是否符合区域、流域和城市总体规划,是否符合环境和生态功能区划;3、是否符合国家产业政策和清洁生产要求;4、项目所在区域环境质量能否满足相应环境功能区划标准;5、拟采取的污染防治措施能否确保污染物排放达到国家和地方规定的排放标准,满足总量控制要求;6、拟采取的生态保护措施能否有效预防和控制生态破坏。审批依据:1、《中华人民共和国行政许可法》2、《中华人民共和国环境影响评价法》3、《建设项目环境保护管理条例》4、《环境保护行政许可听证暂行办法》审批条件:1、申请书一份;2、建设项目环境影响报告书文字版一式六份,电子版一份;3、项目建议书批准文件(审批制项目)或备案准予文件(备案制第2页共3页第1页共3页编号:时间:2021年x月x日书山有路勤为径,学海无涯苦作舟页码:第2页共3页项目)一份;4、根据有关法律法规应提交的其他文件。审批程序:1、申请与受理。按照《建设项目环境保护分类管理名录》的规定,建设单位应当对可能造成重大环境影响的建设项目组织编制环境影响报告书。采取法定形式向市环保局提出申请,提交相关材料。市环保局受理建设单位提交的建设项目环境影响报告书及相关材料,并进行核验,作出予以受理或不予受理的处理。2、项目审查。市环保局监管科对建设项目环境影响报告书进行审查。需要进行技术评估的,组织专家对环境影响报告书进行技术评估,并在30个工作日内提交评估报告。3、项目批准。市环保局监管科根据审查和评估结论提出审批建议,经局相关领导批准后办理批件(必要时报局建设项目审查委员会审查)。4、听证与信息公开。市环保局相关网站公布受理的建设项目信息;在作出予以批准的决定前,公示拟批准的建设项目信息;作出批准决定后,公开审批结果。对可能影响项目所在地居民生活环境质量以及存在重大意见分歧的建设项目,可以举行听证会、论证会、座谈会,征求有关单位、专家和公众的意见。国家规定需要保密的建设项目除外。承诺时限:60个工作日(需要进行听证、专家评审和技术评估的,一般不超过90个工作日,个别重大环境敏感项目一般不超过120个工作日)收费标准:不收费审批流程图:第3页共3页第2页共3页编号:时间:2021年x月x日书山有路勤为径,学海无涯苦作舟页码:第3页共3页

1、当您付费下载文档后,您只拥有了使用权限,并不意味着购买了版权,文档只能用于自身使用,不得用于其他商业用途(如 [转卖]进行直接盈利或[编辑后售卖]进行间接盈利)。
2、本站所有内容均由合作方或网友上传,本站不对文档的完整性、权威性及其观点立场正确性做任何保证或承诺!文档内容仅供研究参考,付费前请自行鉴别。
3、如文档内容存在违规,或者侵犯商业秘密、侵犯著作权等,请点击“违规举报”。

碎片内容

工业类建设项目环境影响报告书审批

您可能关注的文档

精华资料店+ 关注
实名认证
内容提供者

大量教育教学资料

确认删除?
VIP
微信客服
  • 扫码咨询
会员Q群
  • 会员专属群点击这里加入QQ群
客服邮箱
回到顶部