电脑桌面
添加小米粒文库到电脑桌面
安装后可以在桌面快捷访问

某某集团公司人力资源管理咨询项目管理流程VIP免费

某某集团公司人力资源管理咨询项目管理流程_第1页
1/34
某某集团公司人力资源管理咨询项目管理流程_第2页
2/34
某某集团公司人力资源管理咨询项目管理流程_第3页
3/34
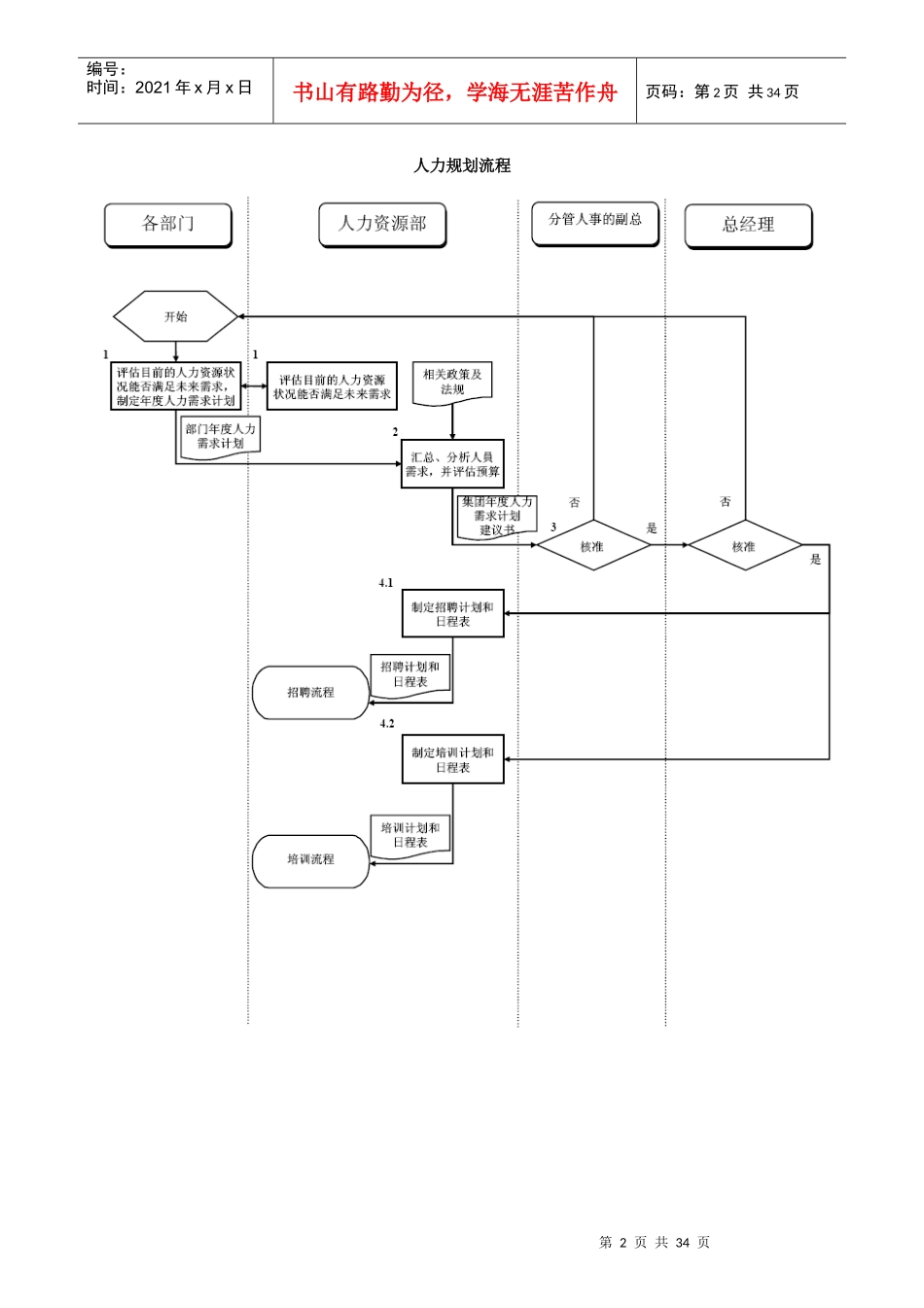
第1页共34页编号:时间:2021年x月x日书山有路勤为径,学海无涯苦作舟页码:第1页共34页正太集团公司人力资源管理咨询项目管理流程●人力资源管理流程●人力规划流程●普通员工招聘流程●中高级人员的招聘流程●培训流程●集团重点人才培养流程●绩效管理流程●晋升管理流程●普通员工解聘流程●中高层人员退出流程●薪资规划流程第2页共34页第1页共34页编号:时间:2021年x月x日书山有路勤为径,学海无涯苦作舟页码:第2页共34页人力规划流程第3页共34页第2页共34页编号:时间:2021年x月x日书山有路勤为径,学海无涯苦作舟页码:第3页共34页人力规划流程说明流程步骤说明参考资料和表单第4页共34页第3页共34页编号:时间:2021年x月x日书山有路勤为径,学海无涯苦作舟页码:第4页共34页1.各部门在人力资源部协助下从集团发展规划出发,评估部门人力资源现状,并分析能否满足未来的需求。提出部门的年度人力需求计划。2.人力资源部汇总整理各部门呈交的年度人力需求计划,依照政府相关法规和集团人事政策作审核并与人力资源部所作的人力需求预估结果作比较,通过从宏观角度作部门之间的平衡和调整,从而决定总体的人员需求,并根据人员需求制定预算,形成集团年度人力需求计划建议书。3.人力资源部将集团年度人力需求计划呈交分管人事的副总初审,并经总经理最终核准,形成正式的集团年度人力需求计划。4.1-4.2人力资源部根据正式的集团年度人力需求计划制定招聘计划和日程表以及培训计划和日程表。参考集团发展规划及员工的工作小结和自我技能评估,产生各部门年度人力需求计划参考集团的发展战略和战略性中长期人力需求、各项人事政策集团年度人力需求计划建议书参考人力市场行情,产生集团年度人力需求计划产生招聘计划和日程表,培训计划和日程表第5页共34页第4页共34页编号:时间:2021年x月x日书山有路勤为径,学海无涯苦作舟页码:第5页共34页普通员工招聘流程第6页共34页第5页共34页编号:时间:2021年x月x日书山有路勤为径,学海无涯苦作舟页码:第6页共34页普通员工招聘流程说明流程步骤说明参考资料和表单1.1人力资源部在集团年度人力需求计划的指导下,按时进行计划内的人员招聘工作。1.2当部门内有人员离职而出现职位空缺,或者部门经理出于业务发展需要扩大编制时,属于计划外招聘,需由部门提出招聘申请并拟定上岗要求和资格条件。2.人力资源部审核部门的人力需求申请,并根据当时的市场薪资行情和公司的薪资规划,初步拟定待招聘的职位评等及基本薪资范围。形成招聘申请表。3.人力资源部将招聘申请表呈交主管人事的副总核准以正式启动招聘活动:4.人力资源部决定是否需要聘请中介公司。如果不聘请中介公司则从内、外部多种渠道发布招聘信息,同时收集人才资料,可经由下列方式进行:•搜寻内部人才资料库;•刊登内部职位空缺公告;•刊登报纸广告;•请大专院校推荐;•参加人才交流会,等等5.如果需要聘请中介公司,人力资源部聘请中介公司。6.人力资源部收到应征者各项资料(包括中介公司递交的候选人报告),即进行初步审核,审阅其学历、经验是否符合所需,并初步淘汰资格不合者,形成初步候选人名单交用人部门进一步审核。既定的招聘计划和日程表参考现有的部门职位说明书,形成人力需求申请表参考集团人事政策和总体人力规划、职位说明书形成招聘申请表形成初步候选人名单形成面试名单第7页共34页第6页共34页编号:时间:2021年x月x日书山有路勤为径,学海无涯苦作舟页码:第7页共34页7.用人部门决定面试人选。形成面试名单,递交人力资源部。8.人力资源部安排面试事宜,并通知候选人。9.人力资源部进行初步面试,并撰写面试意见,递交用人部门。10.用人部门进行面试,决定候选人,形成候选人名单,并递交人力资源部。11.对于通过面试的应征者,人力资源部安排其参加体检,体检未通过者落选。对于通过体检者,人力资源部提出薪资建议,并递交用人部门。12.用人部门与候选人进行薪资谈判,并形成招聘报告(候选人简历、评价、岗位、薪资等)递交人事主管副总审核。13.与被聘用人员签定聘用合同。14.被聘用者报到后,人力资源部进行相关的录用操作。15.人力...

1、当您付费下载文档后,您只拥有了使用权限,并不意味着购买了版权,文档只能用于自身使用,不得用于其他商业用途(如 [转卖]进行直接盈利或[编辑后售卖]进行间接盈利)。
2、本站所有内容均由合作方或网友上传,本站不对文档的完整性、权威性及其观点立场正确性做任何保证或承诺!文档内容仅供研究参考,付费前请自行鉴别。
3、如文档内容存在违规,或者侵犯商业秘密、侵犯著作权等,请点击“违规举报”。

碎片内容

某某集团公司人力资源管理咨询项目管理流程

您可能关注的文档

确认删除?
VIP
微信客服
  • 扫码咨询
会员Q群
  • 会员专属群点击这里加入QQ群
客服邮箱
回到顶部