电脑桌面
添加小米粒文库到电脑桌面
安装后可以在桌面快捷访问

(完整版)卸料平台安全监理实施细则VIP免费

(完整版)卸料平台安全监理实施细则_第1页
1/12
(完整版)卸料平台安全监理实施细则_第2页
2/12
(完整版)卸料平台安全监理实施细则_第3页
3/12
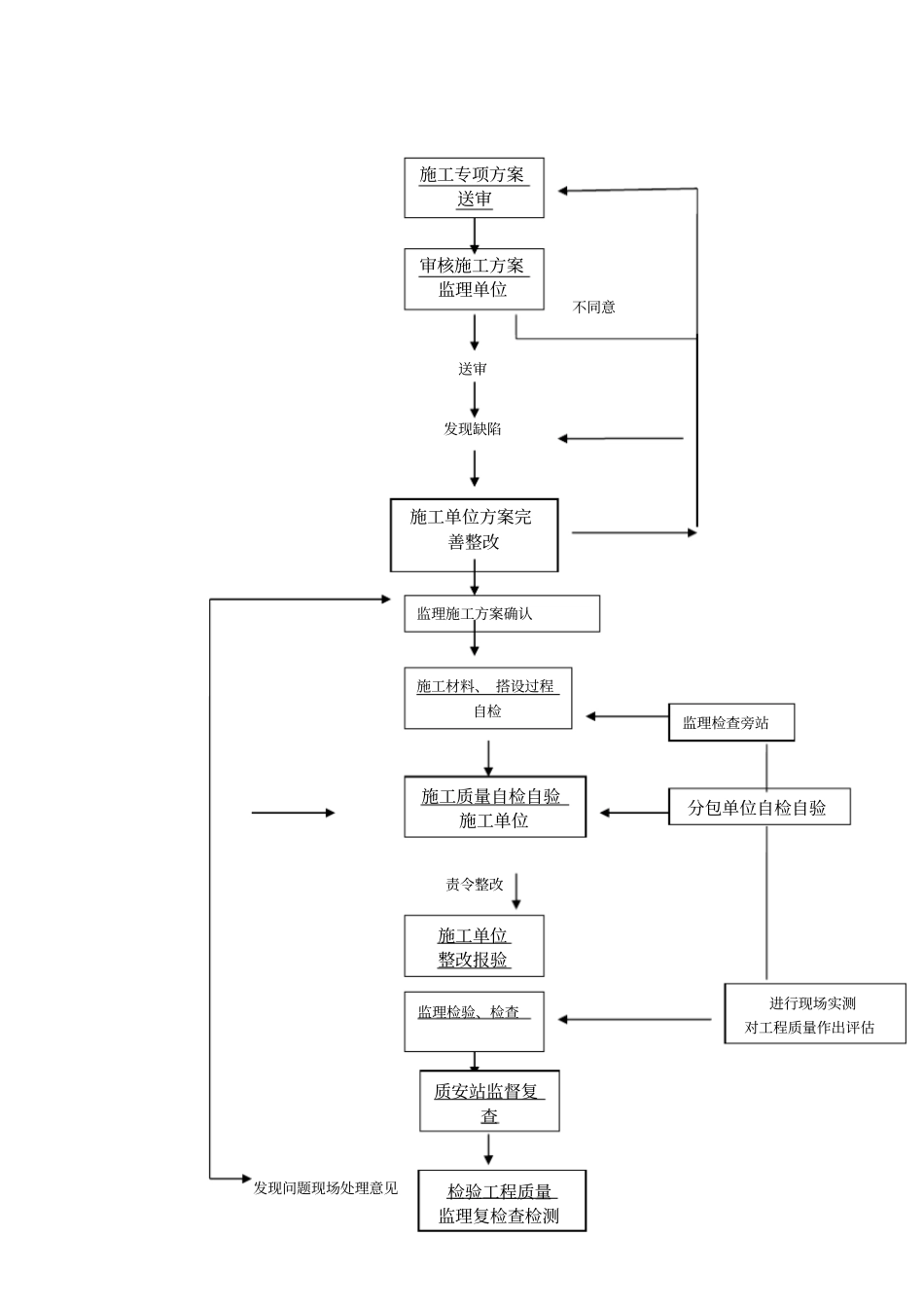
目录1)编制依据2)适用范围3)专业工程的主要特点4)监理工作流程5)监理工作的目标6)监理工作内容6.1审核卸料平台施工方案及设备、材料检验检测6.2、监理旁站的内容及要求6.3、审查卸料平台支撑体系统每m2施工总苻载量.或集中线苻载量(支撑理论计算书)6.4、卸料平台搭设监理控制要点6.4.1、原材料的质量控制6.4.2、卸料平台监理工作:6.4.3、卸料平台搭设和使用期间的监理检查内容:6.4.4、卸料平台拆除阶段的监理工作:6.4.5、卸料平台搭设施工过程质量检验记录6.4.6、卸料平台工程安全监理控制方法:6.4.7、卸料平台的安全管理:7)监理人员现场安全、质量检查、旁站表7.1监理旁站记录表7.2监理单位卸料平台检查表7.3危险性较大工程巡视检查记录1)编制依据1、《中华人民共和国建筑法》;2、《中华人民共和国安全生产法》3、《建设工程安全生产管理条例》(国务院令第393号);4、中华人民共和国工程建设标准强制性条文房屋建筑(施工)部分第九篇施工安全部分;5、《建筑结构荷载规范》GB50009-20126、《建筑施工扣件式钢管脚手架安全技术规范》JGJ130-20117、《建筑施工安全检查标准》JGJ59-20118、《混凝土结构工程施工质量验收规范》(GB50204-2002)(2011版)9、、中国海诚工程科技股份有限公司设计的本工程设计施工结构图及施工单位审批通过的施工专项方案10、本工程监理规划11、本工程施工组织设计12、《危险性较大的分部分项工程安全管理办法》建质[2009]87号2)适用范围本细则特为东山富民工业区三期工程所编。该工程由江苏金厦建设集团有限公司承建。本细则适用卸料平台搭设、使用、拆除。3)专业工程的主要特点A区为四层,层高5.5米,建筑物总高为20.5米,B、D区为二层,层高5.5米,建筑物总高10.5米,C区为一层,层高10.5米,均为混凝土框架结构。4)监理工作流程卸料平台施工质量监理控制程序图不同意送审发现缺陷责令整改发现问题现场处理意见施工专项方案送审审核施工方案监理单位施工材料、搭设过程自检施工单位整改报验施工单位方案完善整改施工质量自检自验施工单位分包单位自检自验进行现场实测对工程质量作出评估监理检验、检查监理施工方案确认监理检查旁站质安站监督复查检验工程质量监理复检查检测5)监理工作的目标根据“建设工程委托监理合同”(编号:ZH10-J-005)监理工作目标为:5.1工程质量目标要求:全部工程的施工质量必须达到施工合同的质量要求;5.2工程施工进度要求:工程的施工进度必须达到施工合同中的工期要求;5.3工程投资控制要求:协助委托人控制工程投资,在目标控制成本值内完成本工程;5.4安全生产及文明施工目标:工程实施过程中不得发生重大的安全事故,无管线事故、火灾事故,特别是人身伤亡事故。施工现场必须符合上海市文明施工的统一标准,创建文明工地;5.5环境保护监理目标:符合国家和地方有关建设工地环境保护的法律、法规的要求;6)监理工作内容6.1、审核卸料平台施工方案及设备、材料检验检测6.1.1、审核施工单位上报的本工程卸料平台搭设专项施工方案。⑴核查专项方案组织审批程序;⑵审查检查方案施工组织系统,人员安排及及物资供应准备、材质检测结果;⑶基础回填土密实度检测单;回填土上垫层厚度强度检查;⑷审核卸料平台搭设平面图、立面图、扣件接点图,及施工工艺质量、安全保障措施及应急预案;⑸审核施工卸料平台设计理论计算书;.⑹搭设人员必须是沪建建管(2009)61号《关于上海市建筑施工特种作业人员考核和持证上岗管理管理工作的实施意见》考核合格的专业架子工和高空作业上岗人员应定期体检,合格者方可持证上岗。6.1.2周转材料检验(钢管、扣件)、合格证及质保书,产品出厂生产许可证6.2、监理旁站的内容及要求6.2.1检查检测的设备周转材料质量证书和检验报告。6.2.2回填土分层压实及填土密实度测试旁站。6.2.3检查实测扣件扭力值。6.2.4卸料平台地基质量检验,回填土检测密实度的,基层混凝土、强度检测旁站垫层厚度进行下道工序施工施工单位检查。6.3、审查验算卸料平台系统每m2施工总苻载量.或集中苻载量(卸料平台理论计算书)6.4、卸料平台搭设监理控制要点6.4.1、原材料的质量控制⑴卸料平...

1、当您付费下载文档后,您只拥有了使用权限,并不意味着购买了版权,文档只能用于自身使用,不得用于其他商业用途(如 [转卖]进行直接盈利或[编辑后售卖]进行间接盈利)。
2、本站所有内容均由合作方或网友上传,本站不对文档的完整性、权威性及其观点立场正确性做任何保证或承诺!文档内容仅供研究参考,付费前请自行鉴别。
3、如文档内容存在违规,或者侵犯商业秘密、侵犯著作权等,请点击“违规举报”。

碎片内容

(完整版)卸料平台安全监理实施细则

您可能关注的文档

确认删除?
VIP
微信客服
  • 扫码咨询
会员Q群
  • 会员专属群点击这里加入QQ群
客服邮箱
回到顶部