电脑桌面
添加小米粒文库到电脑桌面
安装后可以在桌面快捷访问

项目创优方案(DOC35页)VIP免费

项目创优方案(DOC35页)_第1页
1/26
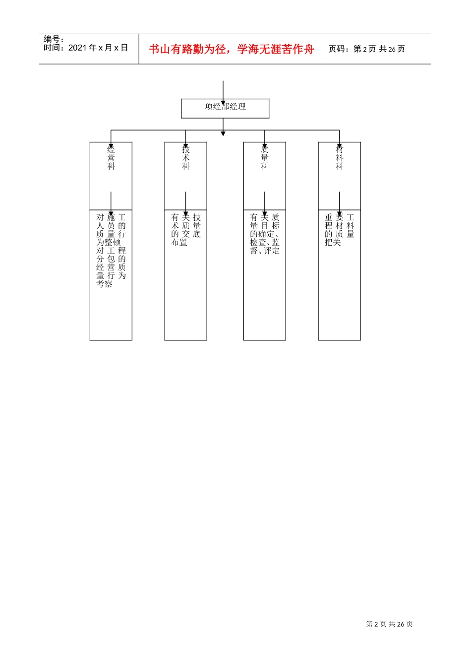
项目创优方案(DOC35页)_第2页
2/26
项目创优方案(DOC35页)_第3页
3/26
第1页共26页编号:时间:2021年x月x日书山有路勤为径,学海无涯苦作舟页码:第1页共26页质量创优保证措施本工程的质量目标为:确保市优质结构和区优质工程,争创“白玉兰”工程。为保证本工程的质量目标的顺利取得,工程开工前就开始展开了一系列的措施。一、人员安排在开工前,由项经部组建一个有创优经验的项目管理班子:项目经理XXX、项目副经理XXX(常驻现场)、施工员XXX、安全员XXX、综治员XXX、关砌XXX、质量员XXX、资料员XXX等人员组成。(后附表)项目主要管理人员及简介职务姓名职称主要负责施工过的项目项目经理工程师上粮九库工程,恒大精华小区工程。项目副经理工程师交通路“万里小区”、曹宝路“华一新城”、康健路“康惠花苑”高层、延吉路“长华绿苑”高层、世界路“世和园”高层。技术负责人工程师施工员工程师施工员工程师质量员质量员基础工程质量员质量员安全员助工关砌技术员交通路“万里小区”、康健路“康惠花苑”高层、世界路“世和园”高层。木工翻样技术员交通路“万里小区”。钢筋翻样技术员中山北一路高层、延吉路“长华绿苑”高层、世界路“世和园”高层。材料员材料员资料员资料员为了实现本工程质量目标,项经部在项目开展期间,技术科、质量科、主体工程师,对项目部的工程质量实行全面监督。在项目部建立一套质量管理营行体系。(1)项目部质量管理体系公司质管部门第2页共26页编号:时间:2021年x月x日书山有路勤为径,学海无涯苦作舟页码:第2页共26页项经部经理经营科技术科质量科材料科对施工人员的质量行为整顿对工程分包的经营质量行为考察有关技术质量的交底布置有关质量目标的确定、检查、监督、评定重要工程材料的质量把关第3页共26页编号:时间:2021年x月x日书山有路勤为径,学海无涯苦作舟页码:第3页共26页(2)项目部质量管理营行体系在明确项经部质量管理体系,建立项目部质量营行体系的同时,针对工程的施工特点,对施工班组人员的组织,根据施工人员以前所施工的质量状况,确定正式人员。木模班:由这几年多次做过市优质结构工程的木工班人员组成。钢筋班:由这几年每年同木模班紧密合作,一道施工,在钢筋翻样、制作、绑扎上面技术过硬的钢筋班人员组成。砼工班:这几年长期施工结构工程,有混凝土浇捣技术专长的泥工班人员组成。水电班:这几年长期参加高层施工,在上海市有影响的工程中承担过安装施工的人员组成。粉刷班:建筑行业中专门承担粉刷任务,有一技之长的粉刷人员组成。为了配合以上班组施工,外架子的搭设是否质量过关,也至关重要。所以,挑选了行业当中,专搞高层外脚手架搭设,能够熟练操作的人员组成架子搭设班。以上这几班人员,所施工的工程质量,只要在项目部的正确指挥下面,项目经理项目质量员土建施工员安装施工员木模班质量员钢筋班质量员砼工班质量员砌筑班质量员架子班长粉刷班质量员安装班质量员材料员计量员翻样员施工过程中质量交底、控制、检查、考评、验收每道工序、每个施工部位、每个施工人员质量受控第4页共26页编号:时间:2021年x月x日书山有路勤为径,学海无涯苦作舟页码:第4页共26页一定能达到项经部所确定的质量目标。建立健全的岗位责任制度,要让每个在本工地工作人员清楚自己的岗位的职责。项目经理:全面策划,领导项目生产、计划、质量、安全、进度、文明施工等工作,同时搞好同建设方、监理方和其他有关方面的工作。项目副经理:具体负责现场生产调度,控制施工运转情况,下达一系列的指令,协调同有关单位的具体现场工作,检查调整工程实施过程中的质量、安全、综治落实步骤。进行劳动力的安排,现场设施布置工作。技术员:参与编制施工组织设计,负责施工技术指导、技术方案编制,检查部署现场有关质量、安全的技术方针。负责对施工翻样的审核、签发。协调项目部同建设方、监理方、设计院之间的技术变更情况。施工员:按照施工组织设计和项目经理(副经理)的指令,进行具体实施,负责各班组每道工序的操作程序、方式、使用材料、机具。落实劳动力配置步骤。负责施工日记、组织班组有关质量、数量、安全、场容场貌、节约原材料的评定工作。质量员:在每道工序实施的同时,专职...

1、当您付费下载文档后,您只拥有了使用权限,并不意味着购买了版权,文档只能用于自身使用,不得用于其他商业用途(如 [转卖]进行直接盈利或[编辑后售卖]进行间接盈利)。
2、本站所有内容均由合作方或网友上传,本站不对文档的完整性、权威性及其观点立场正确性做任何保证或承诺!文档内容仅供研究参考,付费前请自行鉴别。
3、如文档内容存在违规,或者侵犯商业秘密、侵犯著作权等,请点击“违规举报”。

碎片内容

项目创优方案(DOC35页)

您可能关注的文档

确认删除?
VIP
微信客服
  • 扫码咨询
会员Q群
  • 会员专属群点击这里加入QQ群
客服邮箱
回到顶部