电脑桌面
添加小米粒文库到电脑桌面
安装后可以在桌面快捷访问

拉链基础知识培训课件VIP专享VIP免费

拉链基础知识培训课件_第1页
1/53
拉链基础知识培训课件_第2页
2/53
拉链基础知识培训课件_第3页
3/53
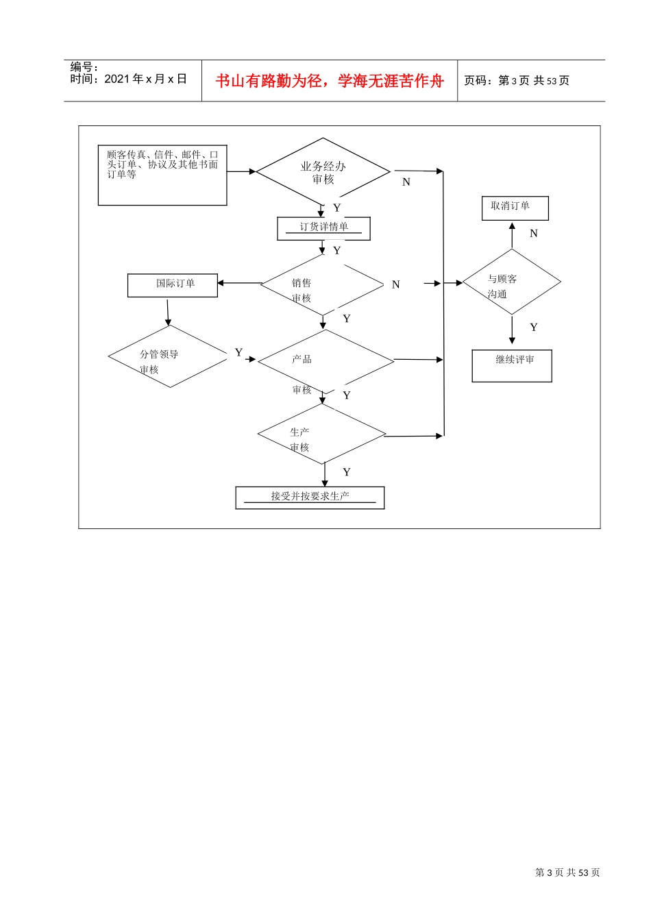
第1页共53页编号:时间:2021年x月x日书山有路勤为径,学海无涯苦作舟页码:第1页共53页目录第一章营销模式、流程及品牌客户………………………………………………………第3页第二章拉链入门……………………………………………………………………………第5页第三章拉头及其配件……………………………………………………………………第12页第四章电镀………………………………………………………………………………第17页第五章尼龙部产品(尼龙白胚、布带、中心线/缝线、单丝)………………………第22页第六章染色………………………………………………………………………………第27页第七章成品部产品(3#尼龙闭口定牌、隐形产品)…………………………………第30页第八章金属部产品(金属布带、金属条码装、5#尼龙、非注塑类)…………………第33页第九章塑钢部产品(塑钢条码装、尼龙注塑拉链、注塑滴塑拉片)………………第36页附录:附录1:拉链标准简介……………………………………………………………………第39页附录2:检测设备与检测手段简介………………………………………………………第41页附录3:品质控制流程图…………………………………………………………………第42页附录4:质量管理体系简介………………………………………………………………第47页第2页共53页编号:时间:2021年x月x日书山有路勤为径,学海无涯苦作舟页码:第2页共53页三大类产品金属(原材质:铜、铝)型号:2#3#3.5#4#5#8#10#牙形:普通牙(六角牙、圆牙)、细牙、方牙(Y牙)牙色:亮白金、亮黄金、镀黄金、镀无镍白金、哑白铜、白铜、无镍白铜、白铜镀黑镍、白铝、黄铜、无镍白枪、红铜、无镍黑古铜、黑古、无镍古铜、古铜、红古铜、无镍青古铜、青古铜、白枪塑钢(原材质:共聚甲醛)型号:3#4#5#6#7#8#10#20#30#牙形:三连环牙细牙足球牙子弹牙花牙鱼形牙牙色:间色牙透明牙夜光牙仿古铜牙银牙……尼龙(原材质:聚脂切片、涤纶丝)型号:3#4#5#7#8#9#10#牙色:镀金镀银镀七彩彩线拉链第一节花纹订单运作流程:第3页共53页编号:时间:2021年x月x日书山有路勤为径,学海无涯苦作舟页码:第3页共53页与顾客沟通继续评审取消订单销售审核产品审核订货详情单N生产审核接受并按要求生产国际订单分管领导审核业务经办审核顾客传真、信件、邮件、口头订单、协议及其他书面订单等NYYYNYYYY第4页共53页编号:时间:2021年x月x日书山有路勤为径,学海无涯苦作舟页码:第4页共53页第三章拉链入门第一节拉链发展简史拉链是一百多年以来世界上最重要的发明之一,经历了三个阶段(萌芽阶段、普及阶段、发展完善阶段),拉链的技术是由美洲传至欧洲,后普及到亚洲才传入我国的。1.萌芽阶段1851年~1904年2.普及阶段一战~二战3.发展完善阶段二战后~1953年我国的第一家拉链生产加工厂是30年代初诞生于上海的“上海三星拉链厂”。最初以手工加工为主;通过不断的技术革新,自1958年开始向半机械加工过渡;通过引进新的技术与设备,70年代末得到不断的完善。第二节拉链的概念及结构拉链的概念:由两条互为啮合的柔性牙链带及可使其重复进行拉开、拉合的拉头等组成的连接件。拉链的基本组成:(闭口链,开口链).第5页共53页编号:时间:2021年x月x日书山有路勤为径,学海无涯苦作舟页码:第5页共53页第三节拉链分类一、按链牙材质分类:金属系列尼龙系列塑钢系列第6页共53页编号:时间:2021年x月x日书山有路勤为径,学海无涯苦作舟页码:第6页共53页金属拉链又可分为1.铜合金(H65/H80/H85/H90)我司常用的为H65铜,简称黄铜;H85、H90铜俗称红铜类别铜合金可通过化学的作用形成古铜、镀白铜、枪色、黑镍、镀金镀银等不同色泽的产品2.白铜3.铝合金二、按功能(用途)分类:闭口拉链X型(双上止,双拉头由中间往两端走)O型(双下止,双拉头由两端往中间走开口拉链单开(正插、反插;左右插、上止、单粒拉头)双开(分开件、上止、双粒拉头)第7页共53页编号:时间:2021年x月x日书山有路勤为径,学海无涯苦作舟页码:第7页共53页三.按型号分类(按行业标准):新版行业标准对拉链的型号按牙链啮合后...

1、当您付费下载文档后,您只拥有了使用权限,并不意味着购买了版权,文档只能用于自身使用,不得用于其他商业用途(如 [转卖]进行直接盈利或[编辑后售卖]进行间接盈利)。
2、本站所有内容均由合作方或网友上传,本站不对文档的完整性、权威性及其观点立场正确性做任何保证或承诺!文档内容仅供研究参考,付费前请自行鉴别。
3、如文档内容存在违规,或者侵犯商业秘密、侵犯著作权等,请点击“违规举报”。

碎片内容

拉链基础知识培训课件

确认删除?
VIP
微信客服
  • 扫码咨询
会员Q群
  • 会员专属群点击这里加入QQ群
客服邮箱
回到顶部