电脑桌面
添加小米粒文库到电脑桌面
安装后可以在桌面快捷访问

医院关于规范公文发文的通知模版VIP免费

医院关于规范公文发文的通知模版_第1页
1/13
医院关于规范公文发文的通知模版_第2页
2/13
医院关于规范公文发文的通知模版_第3页
3/13
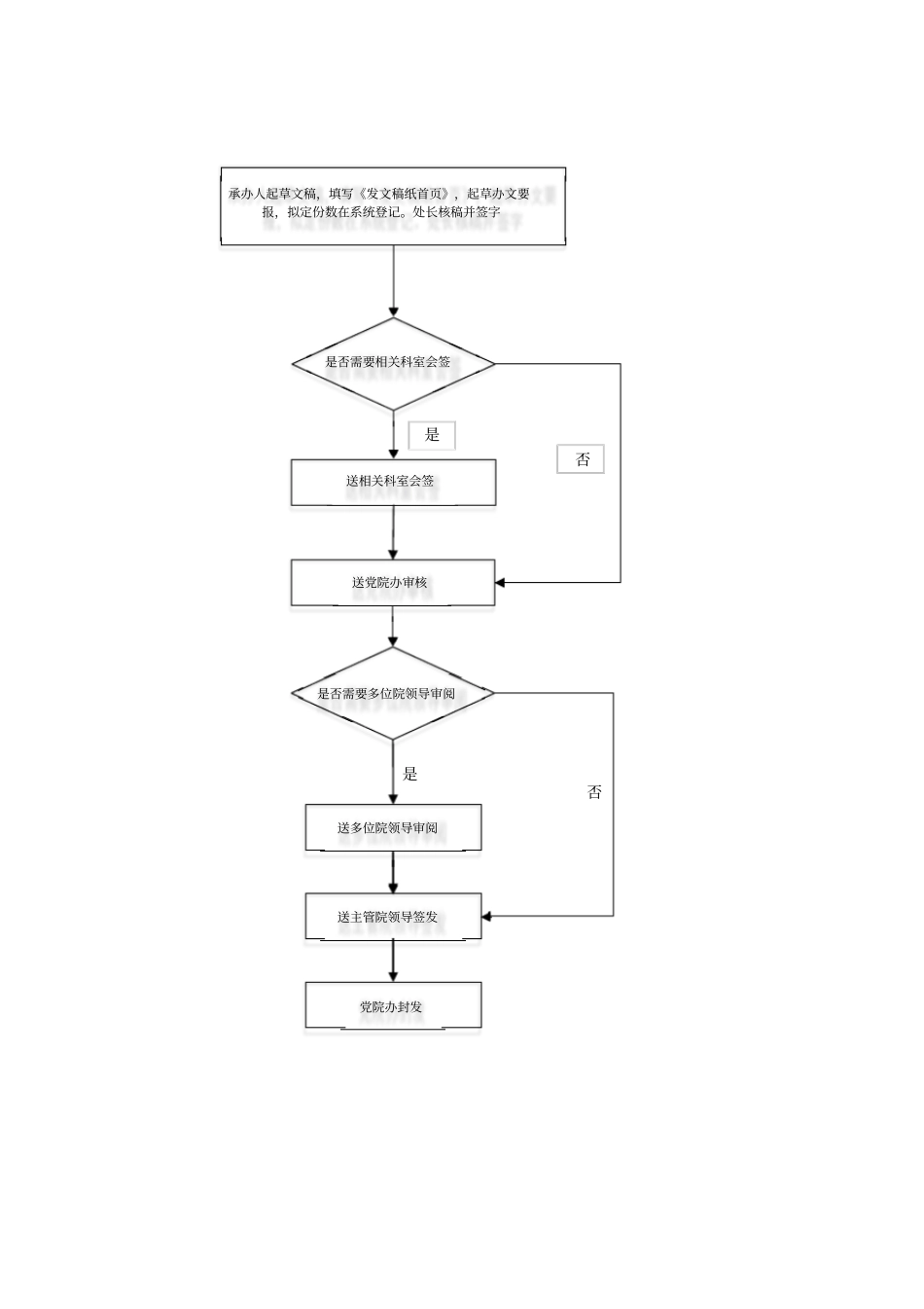
xxx医院关于规范公文发文的通知各科室:为进一步规范医院公文处理工作,根据《国家行政机关公文格式》(GB/T9704-2012)的有关规定,结合医院工作实际,制定《xxx医院公文发文流程》和《xxx医院公文格式细则(2015)》。现予印发,自即日起执行。特此通知。附件:1.xxx医院公文发文流程2.xxx医院公文格式细则(20)xxx医院20年月日附件1xxx医院公文发文流程是承办人起草文稿,填写《发文稿纸首页》,起草办文要报,拟定份数在系统登记。处长核稿并签字是否需要相关科室会签送相关科室会签送党院办审核否送多位院领导审阅是否需要多位院领导审阅否是送主管院领导签发党院办封发附件2xxx医院公文格式细则1.范围本标准规定了xxx医院公文通用的纸张要求、印刷要求、公文中各要素排列顺序和标识规则。2.定义本标准采用下列定义。2.1字word标识公文中横向距离的长度单位。一个字指一个汉字所占空间。2.2行line标识公文中纵向距离的长度单位。本标准以3号字高度加3号字高度7/8倍的距离为一基准行。3.公文用纸主要技术指标公文用纸一般使用的纸张定量为60g/m2~80g/m2的胶版印刷纸或复印纸。纸张白度为85%~90%,横向折度≥15次,不透明度≥85%,PH值为7.5~9.5。4.公文用纸幅面尺寸及版面要求4.1公文用纸幅面尺寸公文用纸采用GB/T148中规定的A4型纸,其成品幅面尺寸为:210mm×297mm。4.2公文页边与版心尺寸公文用纸天头(上白边)为:37mm±1mm公文用纸订口(左白边)为:28mm±1mm版心尺寸为:156mm×225mm(不含页码)5.文中图文的颜色未作特殊说明公文中图文颜色均为黑色。6.排版规格与印刷装订要求6.1排版规格正文用3号仿宋体字,一般每面排22行,每行排28个字。6.2制版要求版面干净无底灰,字迹清楚无断划,尺寸标准,版心不斜,误差不超过1mm。6.3印制要求双面印刷;页码套正,两面误差不得超过2mm。黑色油墨应达到色谱所标BL100%,红色油墨应达到色谱所标Y80%,M80%。印品着墨实,均匀;字面不花、不白、无断划。6.4装订要求公文应当左侧装订,不掉页,两页页码之间误差不超过4mm,裁切后的成品尺寸允许误差±2mm,四角成90o,无毛茬或缺损。骑马订或平订的公文应当:a)订位为两钉外订眼距版面上下边缘各70mm处,允许误差±4mm;b)无坏钉、漏钉、重钉,钉脚平伏牢固;c)骑马订钉锯均订在折缝线上,平订钉锯与书脊间的距离为3mm—5mm。包本装订公文的封皮(封面、书脊、封底)与书芯应吻合、包紧、包平、不脱落。7.公文中各要素标识规则7.1公文格式各要素的划分本标准将版心内的公文格式各要素划分为版头、主体、版记三部分。公文首页红色分隔线以上的部分称为版头;公文首页红色分隔线(不含)以下、公文末页首条分隔线(不含)以上的部分称为主体;公文末页首条分隔线以下、末条分隔线以上的部分称为版记。页码位于版心外。7.2版头7.2.1份号如需标注份号,一般用6位3号阿拉伯数字,顶格编排在版心左上角第一行。7.2.2密级和保密期限如需标注密级和保密期限,一般用3号黑体字,顶格编排在版心左上角第二行;保密期限中的数字用阿拉伯数字标注。7.2.3紧急程度如需标注紧急程度,一般用3号黑体字,顶格编排在版心左上角;如需同时标注份号、密级和保密期限、紧急程度,按照份号、密级和保密期限、紧急程度的顺序自上而下分行排列。7.2.4发文机关标志由发文机关全称或者规范化简称加“文件”二字组成,也可以使用发文机关全称或者规范化简称。发文机关标志居中排布,上边缘至版心上边缘为35mm,推荐使用小标宋体字,颜色为红色,以醒目、美观、庄重为原则。联合行文时,如需同时标注联署发文机关名称,一般应当将主办机关名称排列在前;如有“文件”二字,应当置于发文机关名称右侧,以联署发文机关名称为准上下居中排布。7.2.5发文字号编排在发文机关标志下空二行位置,居中排布。年份、发文顺序号用阿拉伯数字标注;年份应标全称,用六角括号“〔〕”括入;发文顺序号不加“第”字,不编虚位(即1不编为01),在阿拉伯数字后加“号”字。上行文的发文字号居左空一字编排,与最后一个签发人姓名处在同一行。7.2.6签发人由“签发人”三字加全角冒号和签发人姓名组成...

1、当您付费下载文档后,您只拥有了使用权限,并不意味着购买了版权,文档只能用于自身使用,不得用于其他商业用途(如 [转卖]进行直接盈利或[编辑后售卖]进行间接盈利)。
2、本站所有内容均由合作方或网友上传,本站不对文档的完整性、权威性及其观点立场正确性做任何保证或承诺!文档内容仅供研究参考,付费前请自行鉴别。
3、如文档内容存在违规,或者侵犯商业秘密、侵犯著作权等,请点击“违规举报”。

碎片内容

医院关于规范公文发文的通知模版

确认删除?
VIP
微信客服
  • 扫码咨询
会员Q群
  • 会员专属群点击这里加入QQ群
客服邮箱
回到顶部