电脑桌面
添加小米粒文库到电脑桌面
安装后可以在桌面快捷访问

某地产企业集团薪酬制度VIP免费

某地产企业集团薪酬制度_第1页
1/18
某地产企业集团薪酬制度_第2页
2/18
某地产企业集团薪酬制度_第3页
3/18
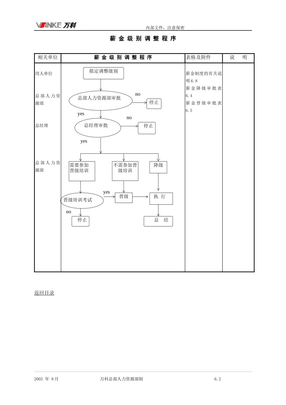
内部文件,注意保密薪酬管理制度2003年8月万科总部人力资源部制NONO拟定集团薪酬调整方案下发集团薪酬调整方案与职委会协商yes集团办公会审批内部文件,注意保密薪酬方案调整程序相关单位薪酬方案调整程序表格及附件总部人力资源部薪酬制度的有关说明6.3返回目录2003年8月万科总部人力资源部制6.1拟定调整级别降级执行总结停止停止停止需要参加晋级培训晋级不需参加晋级培训总部人力资源部审批总经理审批晋级培训考试yesnoyesyesnono内部文件,注意保密薪金级别调整程序相关单位薪金级别调整程序表格及附件说明用人单位总部人力资源部总经理总部人力资源部薪金制度的有关说明6.8薪金降级审批表6.4薪金晋级审批表6.5返回目录2003年8月万科总部人力资源部制6.2内部文件,注意保密薪酬制度的有关说明一、统一薪酬体系凡经总部人力资源部批准录用的人事关系隶属万科的职员,其薪酬纳入万科统一管理,执行统一制度,归属统一体系。各下属公司有人事建议权,但涉及到薪酬的确定、调整、核算等事宜,均须遵照集团人力资源政策执行。二、薪酬的组成职员所有现金收入均统称为薪酬,包括:薪金+奖金+现金福利补贴具体内容为:薪金=12个月岗位薪金+住房补贴+工龄工资+司龄工资+年底双薪奖金=中期奖金+年终奖金+第一负责人专项奖励基金现金福利补贴=过节费(中秋、春节)+饮料费+午餐补贴其中:住房补贴不高于岗位薪金数额的15%。工龄补贴按每年2元计。从参加工作起,至进万科时的年份,每年计工龄一年;中专、大专、大学本科每两年折合工龄一年,研究生每年折合工龄一年。司龄按每年20元补贴计。从职员进万科起计,以后在每年的一月份增加一年;在万科服务满十年的职员,从第十年始每月另享有司龄补贴200元。各下属公司、总部各部门在上述项目之外采用其他任何薪酬形式,包括来源于政府及任何第三方的税务奖励、代理费、项目奖励等,均需报总部人力资源部审批后执行。三、岗位薪金系列职员薪金由总部人力资源部统一管理,在集团范围内岗位薪金定级采用统一标准,即NT系列。岗位薪金数额=N2*T(N=1….n)(T为薪金等级单位,现定为10;N为薪金级点数)四、岗位薪金级别1、岗位薪金级别评定的依据是:职员所在工作岗位的职责,职员本人的实际工作业绩、工作能力。岗位薪金的定级具有“弹性”,一般来说根据定级标准在上下一级的范围内浮动都是合理的。但薪金本身具有“刚性”,除非降级、降职,一般只能增加不能减少。因此在确定薪金级别时,应慎重处理,尤其是定级较高时。这样一方面适应薪金的刚性原则,给职员营造一个较宽广的晋升空间,另一方面也方便人力资源实务操作。2、由于各城市物价指数、劳动力价格有所差别,所以必然存在薪金标准的地域差别,因此公司相应地按地域把薪金划分为四大类别。不同地区职务所对应的参考薪点范围不同,但其他福利待遇是相同的。城市地域薪金类别深圳一类北京、上海二类2003年8月万科总部人力资源部制6.3内部文件,注意保密天津、沈阳、鞍山、大连三类成都、北海、武汉四类3、参考岗位薪金薪点范围表(1)业务经营部门职务级别薪金级点区间Ⅰ类地区薪金级点区间Ⅱ类地区薪金级点区间Ⅲ类地区薪金级点区间Ⅳ类地区总经理T35—T42T30—T41T29—T39T28—T37副总经理T29—T36T27—T33T26—T32T25—T30经理/主管T21—T30T19—T28T17—T27T16—T27职员T10—T22T9—T21T7—T20T5—T19试用人员T9—T26T8—T25T7—T25T5—T24(2)管理部门职务级别薪金级点区间Ⅰ类地区薪金级点区间Ⅱ类地区薪金级点区间Ⅲ类地区薪金级点区间Ⅳ类地区总经理T34—T40T29—T39T28—T37T27—T35副总经理T28—T34T26—T31T25—T30T25—T28经理/主管T20—T28T18—T26T16—T25T15—T25职员T9—T20T8—T19T6—T18T4—T18试用人员T8—T24T7—T23T6—T23T4—T224、新职员的录用和定级标准,列示如下:注:对于建筑学毕业生,其薪金定级可在下列参考标准的基础上上浮1-2级。新招用人员试用及转正定级岗位薪金参考标准(Ⅰ类地区)人员工龄2-4(含)年工龄4-6(含)年工龄6-8(含)年工龄8年以上试用定级试用定级试用定级试用定级硕士毕业生T14T17T15T18T16T19T17T20大学本科毕业生T13T16T14T17T15T18T...

1、当您付费下载文档后,您只拥有了使用权限,并不意味着购买了版权,文档只能用于自身使用,不得用于其他商业用途(如 [转卖]进行直接盈利或[编辑后售卖]进行间接盈利)。
2、本站所有内容均由合作方或网友上传,本站不对文档的完整性、权威性及其观点立场正确性做任何保证或承诺!文档内容仅供研究参考,付费前请自行鉴别。
3、如文档内容存在违规,或者侵犯商业秘密、侵犯著作权等,请点击“违规举报”。

碎片内容

某地产企业集团薪酬制度

确认删除?
VIP
微信客服
  • 扫码咨询
会员Q群
  • 会员专属群点击这里加入QQ群
客服邮箱
回到顶部