电脑桌面
添加小米粒文库到电脑桌面
安装后可以在桌面快捷访问

质量程序图表7(DOC8页)VIP免费

质量程序图表7(DOC8页)_第1页
1/6
质量程序图表7(DOC8页)_第2页
2/6
质量程序图表7(DOC8页)_第3页
3/6
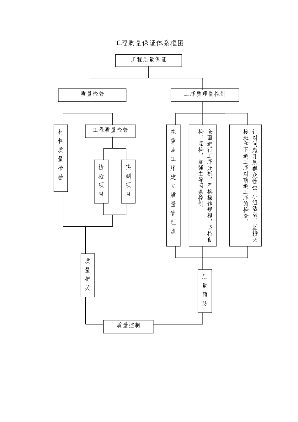
工程质量保证体系框图工程质量保证质量检验材料质量检验工序质理量控制检验项目实测项目工程质量检验在重点工序建立质量管理点全面进行工序分析,严格操作规程,坚持自检、互检,加强主导因素控制针对问题开展群众性QC小组活动,坚持交接班和下道工序对前道工序的检查。质量把关质量预防质量控制混凝土工程质量程序控制图模板工程质量程序控制图学习图纸和技术资料学习操作规程和质量标准制订保证砼质量措施书面交底操作人员参加专业会签每台班不少于1组每100m3做1组标准养护试块执行验收标准不合格的处理(返工)质量评定记录、施工记录砼浇灌令材料准备、出具合格证申请砼配合比准备试模和塌落度模板、砼工序交接检查路基、道路水平运输机械准备克服上道工序弊病的补救措施岗位分工、操作挂牌执行重量比、调整配合比应用真空泵、控制面层质量准备工作技术交底申请浇灌命令浇灌砼按时覆盖暖热季节定时浇水,冬季注意保温防水清理现场材料合格证试块报告单自检记录养护质量评定资料整理准备工作技术交底模板选择平整模板涂隔离剂学习图纸和技术资料学习操作规格的质量标准施工质量分析处理框图原因不清楚原因清楚原因清楚道路基层质量检验程序书面交底操作人员参加底部标高、中心线、断面尺寸、放线抽件检查支模质量评定清理现场、文明施工材料合格证试块报告单自检记录资料整理工序交接检查浇砼时留人看模执行验评标准不合格的处理(返工)中间检查自检拆模按强度确定拆模时间注意保护棱角质量问题调查分析问题采取措施补救及改进验收资料整理信息反馈采取临时措施专家调查分析科研论证灾害性或外界原因原材料改良或改用合格材料不合格合格合格不合合格格不合格原材料取样标准试验试验结果评定配制半成品控制半成品检验(厂拌)标准试验碾压控制试验结果评定铺设控制标准试验弯沉试验取样容重试验第6页共6页编号:时间:2021年x月x日书山有路勤为径,学海无涯苦作舟页码:第6页共6页

1、当您付费下载文档后,您只拥有了使用权限,并不意味着购买了版权,文档只能用于自身使用,不得用于其他商业用途(如 [转卖]进行直接盈利或[编辑后售卖]进行间接盈利)。
2、本站所有内容均由合作方或网友上传,本站不对文档的完整性、权威性及其观点立场正确性做任何保证或承诺!文档内容仅供研究参考,付费前请自行鉴别。
3、如文档内容存在违规,或者侵犯商业秘密、侵犯著作权等,请点击“违规举报”。

碎片内容

质量程序图表7(DOC8页)

确认删除?
VIP
微信客服
  • 扫码咨询
会员Q群
  • 会员专属群点击这里加入QQ群
客服邮箱
回到顶部