电脑桌面
添加小米粒文库到电脑桌面
安装后可以在桌面快捷访问

隧道工程锚杆施工工艺VIP免费

隧道工程锚杆施工工艺_第1页
1/8
隧道工程锚杆施工工艺_第2页
2/8
隧道工程锚杆施工工艺_第3页
3/8
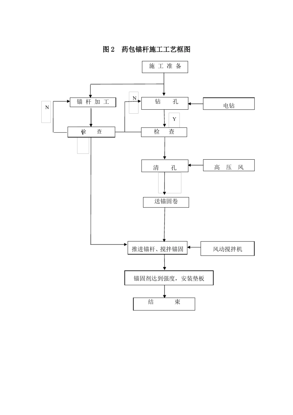
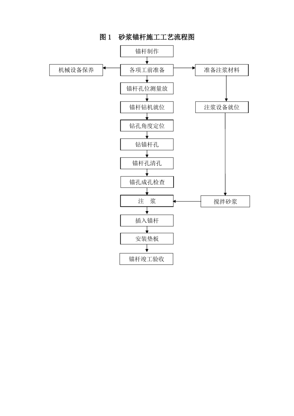
隧道工程锚杆施工工艺一锚杆设计依据设计文件,本线隧道边墙采用φ22砂浆锚杆、拱部采用φ22药包锚杆(黄土隧道)和中空注浆锚杆(岩石隧道),锚杆均设置垫板。锚杆呈梅花型布置,长度及间距依据围岩级别进行确定。二锚杆施工工艺砂浆锚杆施工工艺流程见图1,药包锚杆施工工艺流程见图2,中空注浆锚杆施工工艺流程见图3。1锚杆施工前的准备⑴检查锚杆类型,规格,质量及其性能是否与设计相符。⑵根据锚杆类型,规格及围岩情况准备钻孔机具。2锚杆钻孔石质隧道锚杆采用风动凿岩机成孔,黄土隧道采用ZM-12T型煤电钻钻成孔。煤电钻施工既可解决土质隧道遇水软化围岩的问题,又可解决在土质隧道施工中采用常规的冲击钻不易排碴、成孔困难的难题,可以提高在黄土隧道的成孔速度和安全性。锚杆钻孔利用开挖台阶搭设简易台架施钻,按照设计间距布孔;钻孔方向尽可能垂直结构面或初喷砼表面;锚杆孔比杆径大15㎜,深度误差不得大于±50mm;成孔后采用高压风清孔。图1砂浆锚杆施工工艺流程图机械设备保养锚杆制作各项工前准备锚杆孔位测量放锚杆钻机就位钻孔角度定位钻锚杆孔锚杆孔清孔锚孔成孔检查注浆插入锚杆安装垫板锚杆竣工验收搅拌砂浆注浆设备就位准备注浆材料图2药包锚杆施工工艺框图施工准备NY检Y查锚杆加工N钻孔电钻检查清孔高压风送锚固卷推进锚杆、搅拌锚固风动搅拌机锚固剂达到强度,安装垫板结束图3中空注浆锚杆施工工艺流程图机械设备保养锚杆制作各项工前准备锚杆孔位测量放样锚杆钻机就位钻孔角度定位钻锚杆孔锚杆孔清孔锚孔成孔检查插入锚杆注浆安装垫板锚杆竣工验收搅拌砂浆注浆设备就位准备注浆材料3砂浆锚杆注浆及安装锚杆注浆安装前须先做好材料、机具、脚手平台和场地准备工作,注浆材料使用硅酸盐或普通硅酸盐32.5水泥,粒径小于2.5mm的砂子,并须过筛,胶骨比1:0.5~1:1,水灰比0.38~0.45,砂浆标号不小于M20。砂浆锚杆作业程序是:先注浆,后放锚杆,具体操作是:先将水注入牛角泵内,并倒入少量砂浆,初压水和稀浆湿润管路,然后再将已调好的砂浆倒入泵内。将注浆管插至锚杆眼底,将泵盖压紧密封,一切就绪后,慢慢打开阀门开始注浆。在气压推动下,将砂浆不断压入眼底,注浆管跟着缓缓退出眼孔,并始终保持注浆管口埋在砂浆内,以免浆中出现空洞,将注浆管全部抽出后,立即把锚杆插入眼孔,然后用木楔堵塞眼口,防止砂浆流失。锚杆孔中必须注满砂浆,发现不满须拨出锚杆重新注浆。注浆管不准对人放置,以防止高压喷出物射击伤人。砂浆应随用随拌,在初凝前全部用完,使用掺速凝剂砂浆时,一次拌制砂浆数量不应多于3个孔,以免时间过长,使砂浆在泵、管中凝结。锚注完成后,应及时清洗,整理注浆用具,除掉砂浆凝聚物,为下次使用创造好条件。4药包锚杆安装所谓药包锚杆就是利用早期凝结速度快,承载强度大为特征的水泥砂浆制成的锚固剂将锚杆固定在锚固位置的一种支护方法。锚固剂应符合以下几项要求:初凝时间应大于3分钟,终凝时间应小于10分钟;必须具有足够的小时抗压强度,一般在半小时到一小时的抗压强度应在0.2MPa以上;硬化后体积不缩小,且有微膨胀性。药卷包在浸水前上端扎3~5个小孔(孔径1mm),浸水1~1.5分钟小孔不冒泡即浸水结束,这时即可将浸好水的药卷包装入孔眼。药包装入采用比较坚硬顺直木棍或相似的物体送至眼底。药卷包装入后,将锚杆用TJ-9型风动搅拌机(电钻改装也可)带动锚杆快速旋转,边旋转边徐徐推进,锚头在旋转与推进中强烈搅拌浸水后的水泥包,使水泥浆获得良好的和易性,连续搅拌水泥卷的时间宜为30~60s。水泥浆如沿孔壁下滑,孔口用纸堵塞。5中空注浆锚杆安装⑴安装前,应检查锚杆体钻头的水孔是否畅通,若有异物堵塞,应及时清理。⑵锚杆体装入设计深度后,应用水和空气洗孔,直至孔口反水或返气。⑶注浆材料宜采用纯水泥浆或1:1水泥砂浆,水灰比宜为0.4~0.5。采用水泥砂浆时砂子粒径不应大于1.0mm。⑷注浆料应由杆体中孔灌入,上仰孔应设置止浆塞和排气孔。三质量要求1主控项目钢筋进场时,必须对其质量指标进行全面检查并按批抽取试件做屈服强度、抗拉强度、伸长率和冷弯试验,其质量应符合现行国家标准《钢筋混凝...

1、当您付费下载文档后,您只拥有了使用权限,并不意味着购买了版权,文档只能用于自身使用,不得用于其他商业用途(如 [转卖]进行直接盈利或[编辑后售卖]进行间接盈利)。
2、本站所有内容均由合作方或网友上传,本站不对文档的完整性、权威性及其观点立场正确性做任何保证或承诺!文档内容仅供研究参考,付费前请自行鉴别。
3、如文档内容存在违规,或者侵犯商业秘密、侵犯著作权等,请点击“违规举报”。

碎片内容

隧道工程锚杆施工工艺

您可能关注的文档

确认删除?
VIP
微信客服
  • 扫码咨询
会员Q群
  • 会员专属群点击这里加入QQ群
客服邮箱
回到顶部