电脑桌面
添加小米粒文库到电脑桌面
安装后可以在桌面快捷访问

PVC生产工艺流程图VIP免费

PVC生产工艺流程图_第1页
1/8
PVC生产工艺流程图_第2页
2/8
PVC生产工艺流程图_第3页
3/8
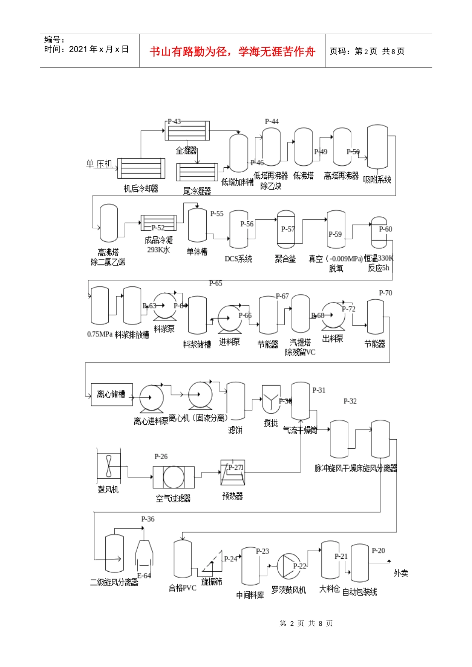
第1页共8页编号:时间:2021年x月x日书山有路勤为径,学海无涯苦作舟页码:第1页共8页PVC生产工艺流程图第2页共8页第1页共8页编号:时间:2021年x月x日书山有路勤为径,学海无涯苦作舟页码:第2页共8页第3页共8页第2页共8页编号:时间:2021年x月x日书山有路勤为径,学海无涯苦作舟页码:第3页共8页烧碱工艺流程图第4页共8页第3页共8页编号:时间:2021年x月x日书山有路勤为径,学海无涯苦作舟页码:第4页共8页株洲化工集团诚信有限公司简介2007年5月23日,中盐湖南株洲化工集团有限责任公司(简称中盐株化)正式挂牌成立,这不仅标志着中国盐业总公司增资控股(占65%)原湖南株洲化工集团有限责任公司,在做大做强上迈出了可喜一步,更意味着中盐株化在企业发展史上掀开了崭新的一页。企业始建于1956年,经湖南省人民政府批准,于1997年12月以原株洲化工厂为母体改制成为湖南株洲化工集团有限责任公司。2000年原湖南株洲化工集团有限责任公司实行债转股,将所有经营性资产与中国信达资产管理公司等六家共同出资,按照现代企业制度的要求,组建成立了多元投资主体的湖南株洲化工集团诚信有限公司;2001年为进入资本市场,搞活资本运作,又从诚信公司分立组建了湖南永利化工股份有限公司。企业始终坚持“团结奋进,务实创新”的企业精神,经过50年的建设,已发展成为以生产和经营基本化工原料、化肥、农药及化学建材为主的国家大型企业和中南地区大型化工原料生产基地。2004年被列为湖南省“十一五”推进新型工业化进程的标志性企业和省优势企业。先后荣获全国企业文化建设先进单位等国家、省和市级荣誉260多项。企业用地230余万平方米,现有资产总额26.5亿元,2006年销售额达16亿元。有员工7000余人,工程技术人员和管理人员第5页共8页第4页共8页编号:时间:2021年x月x日书山有路勤为径,学海无涯苦作舟页码:第5页共8页近2000人。具备产品开发、设计施工、生产经营全面管理的综合配套能力。拥有盐化工、硫化工、精细化工及化学建材四条生产主线,生产“株化牌”、“翡翠牌”、“晶晶牌”三种品牌50多种产品。主要产品有:硫酸(36万吨/年)、磷肥(36万吨/年)、烧碱(24万吨/年)、PVC树脂(20万吨/年)、金红石型和锐钛型钛白粉(3万吨/年)、复混肥(10万吨/年)、液氯(4万吨/年)、盐酸(6万吨/年)、水合肼(3万吨/年)、PVC塑钢型材(1.5万吨/年)、PVC芯层发泡管(0.6万吨/年)。盐酸、烧碱、钛白粉、PVC树脂、化学建材等产品还远销香港、东南亚、欧洲和南美洲地区。新起点、新机遇,中盐株化必将创造出新的跨越。公司将秉承“诚信天下,永利客户,义利兼顾,共同发展”的经营理念,按照中国盐业总公司第二步发展战略部署,和“建设环保企业,打造百亿集团,实施循环经济,确保环境友好”的企业发展目标,团结奋进,务实创新,将新公司打造成为中盐旗下三大盐化工基地之一,朝着建设“效益一流、技术领先、环境优美、人际和谐、具有国际竞争力”的百亿环保化工集团阔步前进。烧碱厂简介:现阶段年产能力为24万吨。设计能力30万吨。其生产方法有隔膜法、水银法、离子膜法。隔膜法的主要材料为普通的石棉绒,离子膜的材料为羧酸磺酸复合膜。隔膜法产生的电解液中NaOH约在11%左右,而羧酸磺酸复合膜产生的电解液中第6页共8页第5页共8页编号:时间:2021年x月x日书山有路勤为径,学海无涯苦作舟页码:第6页共8页NaOH约在32%左右,相对较高。通过蒸发浓缩,除去水,将盐分离即可得到NaOH溶液。其生产流程可分为三个工序:(1)盐水工序;(2)电解工序;(3)蒸发工序。烧碱流程图解释(1)盐水工序1.化盐桶:通入蒸气控制化盐温度(50-55摄氏度)盐层高度不低于3.5米。该过程主要去除溶液中的钙离子,鎂离子和硫酸根离子。2.澄清桶:道尔型,D=15m。通过砂滤器进一步过滤悬浮杂质。采用虹吸式自动反洗。3.中和槽:加31%盐酸中和过量的碳酸钠。pH=7-84.回收液:主要成分为NaCl(>=280g/L)(2)电解工序1.换热器均为列管式。2.盐水预热器中加蒸气控制预热温度在80-90摄氏度。3.Cl-洗涤器:除去NCl3气体(含量高时容易发生爆炸)。一段冷却加工业水,二段加冷冻水。控制氯气温度度在12...

1、当您付费下载文档后,您只拥有了使用权限,并不意味着购买了版权,文档只能用于自身使用,不得用于其他商业用途(如 [转卖]进行直接盈利或[编辑后售卖]进行间接盈利)。
2、本站所有内容均由合作方或网友上传,本站不对文档的完整性、权威性及其观点立场正确性做任何保证或承诺!文档内容仅供研究参考,付费前请自行鉴别。
3、如文档内容存在违规,或者侵犯商业秘密、侵犯著作权等,请点击“违规举报”。

碎片内容

PVC生产工艺流程图

确认删除?
VIP
微信客服
  • 扫码咨询
会员Q群
  • 会员专属群点击这里加入QQ群
客服邮箱
回到顶部