电脑桌面
添加小米粒文库到电脑桌面
安装后可以在桌面快捷访问

投资控制流程图VIP免费

投资控制流程图_第1页
1/11
投资控制流程图_第2页
2/11
投资控制流程图_第3页
3/11
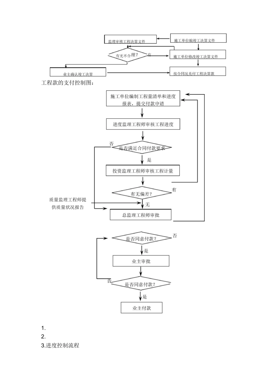
投资控制流程图:业主确定投资冃标监理对投资目标分析论证监理分析投资冃标业主确定资金使用计划监理编制资金使用计划施工单位编写施工组织设计业主负责项目建设业主确认已完工程决算单监理审核施工组织设计[无有无不合理?■有施工单位修改施工组织设计案技术经济冋题监理对主要技术方设计单位挖按施工组织设计施工施工已完工程量监理审核设计挖潜修改变监理主持设计施工协调,不同施工单位协调。投资目标与进度。质量目标协有无索赔可能监理审核已完工程量监理审核已完工程结算单有理?无■*施工单位编已完程结算单已完工程结算量施工提出索赔文件监理审核索赔文件监理对实际投资与合同价比较业主确认索赔文件有无不合理?有无偏差?监理分析偏差原因采取纠偏的措施监理去掉不合理部分监理对未完工程投资预测监理签证索赔文件不工程款的支付控制图:质量监理工程师提供质量状况报告否1.2.3.进度控制流程施工阶段工程质量控制流程图:(施工单位)附有:施工组织设计提交《开工申请单》L施工人员到场情况施工设备到场情况审查开工条件批准开工申请分部分项工序施工工序完成后自检(施工单位)否材料到场情况进行处理填报《质量验收通知单》(监理单位)检查丄「序质量现场检查试验室检验合查合是签署《质量验收单》r*-进彳行竣工顶验竣丄验收文件资料准备*■验进行处理补充再准备单位工程初验报告单位工程质量等级评定表否建设、施工单位)工程开工申报审批程序二)工序开工申报审批程序上道工序验收合格工作流程如下图所示。四)工程变更和处理由施工单位提出的工程变更,其申报、审批程序如下图:五)设计变更的处理由业主方面原因提出的设计变更的处理程序如下图所示。六)工程款支付流程如下图所示七)单位工程或单项工程竣工验收流程如下图所示。施工单位提前十五天提交单位工程或单项工程竣工验收申报表给监理工程师现场监理人员及相关专业监理人员初审、总监审定。审查:不受理索施工单受理索多次被拒绝而不服组织业主和施工单位协不能达成协议■施工单位向有关仲裁机构申请仲起草索赔会议纪要或协议法律途八)处理施工提出的索赔处理程序如下图所示。施工单位向监理部提出索赔报告修改报告达成协议不服仲裁三方签字索赔生效

1、当您付费下载文档后,您只拥有了使用权限,并不意味着购买了版权,文档只能用于自身使用,不得用于其他商业用途(如 [转卖]进行直接盈利或[编辑后售卖]进行间接盈利)。
2、本站所有内容均由合作方或网友上传,本站不对文档的完整性、权威性及其观点立场正确性做任何保证或承诺!文档内容仅供研究参考,付费前请自行鉴别。
3、如文档内容存在违规,或者侵犯商业秘密、侵犯著作权等,请点击“违规举报”。

碎片内容

投资控制流程图

您可能关注的文档

确认删除?
VIP
微信客服
  • 扫码咨询
会员Q群
  • 会员专属群点击这里加入QQ群
客服邮箱
回到顶部