电脑桌面
添加小米粒文库到电脑桌面
安装后可以在桌面快捷访问

信号与线性系统分析习题答案 VIP免费

信号与线性系统分析习题答案 _第1页
1/254
信号与线性系统分析习题答案 _第2页
2/254
信号与线性系统分析习题答案 _第3页
3/254
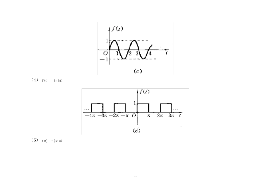
精品信号与线性系统课后答案第一章信号与系统(一)1-1画出下列各信号的波形【式中)()(tttr】为斜升函数。(2)tetft,)((3))()sin()(tttf(4))(sin)(ttf(5))(sin)(trtf(7))(2)(ktfk(10))(])1(1[)(kkfk解:各信号波形为(2)tetft,)((3))()sin()(tttf精品(4))(sin)(ttf(5))(sin)(trtf精品(7))(2)(ktfk(10))(])1(1[)(kkfk精品1-2画出下列各信号的波形[式中)()(tttr为斜升函数]。(1))2()1(3)1(2)(ttttf(2))2()1(2)()(trtrtrtf(5))2()2()(ttrtf(8))]5()([)(kkkkf(11))]7()()[6sin()(kkkkf(12))]()3([2)(kkkfk解:各信号波形为(1))2()1(3)1(2)(ttttf精品(2))2()1(2)()(trtrtrtf(5))2()2()(ttrtf精品(8))]5()([)(kkkkf(11))]7()()[6sin()(kkkkf精品(12))]()3([2)(kkkfk精品1-3写出图1-3所示各波形的表达式。精品1-4写出图1-4所示各序列的闭合形式表达式。精品1-5判别下列各序列是否为周期性的。如果是,确定其周期。(2))63cos()443cos()(2kkkf(5))sin(2cos3)(5tttf解:精品1-6已知信号)(tf的波形如图1-5所示,画出下列各函数的波形。(1))()1(ttf(2))1()1(ttf(5))21(tf(6))25.0(tf(7)dttdf)((8)dxxft)(解:各信号波形为(1))()1(ttf精品(2))1()1(ttf(5))21(tf精品(6))25.0(tf(7)dttdf)(精品(8)dxxft)(精品1-7已知序列)(kf的图形如图1-7所示,画出下列各序列的图形。(1))()2(kkf(2))2()2(kkf(3))]4()()[2(kkkf(4))2(kf(5))1()2(kkf(6))3()(kfkf解:精品精品1-9已知信号的波形如图1-11所示,分别画出)(tf和dttdf)(的波形。解:由图1-11知,)3(tf的波形如图1-12(a)所示()3(tf波形是由对)23(tf的波形展宽为原来的两倍而得)。将)3(tf的波形反转而得到)3(tf的波形,如图1-12(b)所示。再将)3(tf的波形右移3个单位,就得到了)(tf,如图1-12(c)所示。dttdf)(的波形如图1-12(d)所示。精品1-10计算下列各题。(1))()2sin(cos22tttdtd(2))]([)1(tedtdtt(5)dtttt)2()]4sin([2(8)dxxxt)(')1(精品精品1-12如图1-13所示的电路,写出(1)以)(tuC为响应的微分方程。(2)以)(tiL为响应的微分方程。精品精品1-20写出图1-18各系统的微分或差分方程。精品精品精品精品精品1-23设系统的初始状态为)0(x,激励为)(f,各系统的全响应)(y与激励和初始状态的关系如下,试分析各系统是否是线性的。(1)ttdxxxfxety0)(sin)0()((2)tdxxfxtfty0)()0()()((3)tdxxftxty0)(])0(sin[)((4))2()()0()5.0()(kfkfxkyk(5)kjjfkxky0)()0()(精品精品精品1-25设激励为)(f,下列是各系统的零状态响应)(zsy。判断各系统是否是线性的、时不变的、因果的、稳定的?(1)dttdftyzs)()((2))()(tftyzs(3))2cos()()(ttftyzs(4))()(tftyzs(5))1()()(kfkfkyzs(6))()2()(kfkkyzs(7)kjzsjfky0)()((8))1()(kfkyzs精品精品精品精品1-28某一阶LTI离散系统,其初始状态为)0(x。已知当激励为)()(1kky时,其全响应为若初始状态不变,当激励为)(kf时,其全响应为)(]1)5.0(2[)(2kkyk若初始状态为)0(2x,当激励为)(4kf时,求其全响应。精品精品第二章2-1已知描述系统的微分方程和初始状态如下,试求其零输入响应。(1)1)0(',1)0(),()(6)('5)(''yytftytyty(4)0)0(',2)0(),()()(''yytftyty精品2-2已知描述系统的微分方程和初始状态如下,试求其0值)0(y和)0('y。(2))()(,1)0(',1)0(),('')(8)('6)(''ttfyytftytyty(4))()(,2)0(',1)0(),(')(5)('4)(''2tetfyytftytytyt...

1、当您付费下载文档后,您只拥有了使用权限,并不意味着购买了版权,文档只能用于自身使用,不得用于其他商业用途(如 [转卖]进行直接盈利或[编辑后售卖]进行间接盈利)。
2、本站所有内容均由合作方或网友上传,本站不对文档的完整性、权威性及其观点立场正确性做任何保证或承诺!文档内容仅供研究参考,付费前请自行鉴别。
3、如文档内容存在违规,或者侵犯商业秘密、侵犯著作权等,请点击“违规举报”。

碎片内容

信号与线性系统分析习题答案

您可能关注的文档

确认删除?
VIP
微信客服
  • 扫码咨询
会员Q群
  • 会员专属群点击这里加入QQ群
客服邮箱
回到顶部