电脑桌面
添加小米粒文库到电脑桌面
安装后可以在桌面快捷访问

固定循环G70-G71-G72-G73-G74-G75VIP免费

固定循环G70-G71-G72-G73-G74-G75_第1页
1/11
固定循环G70-G71-G72-G73-G74-G75_第2页
2/11
固定循环G70-G71-G72-G73-G74-G75_第3页
3/11
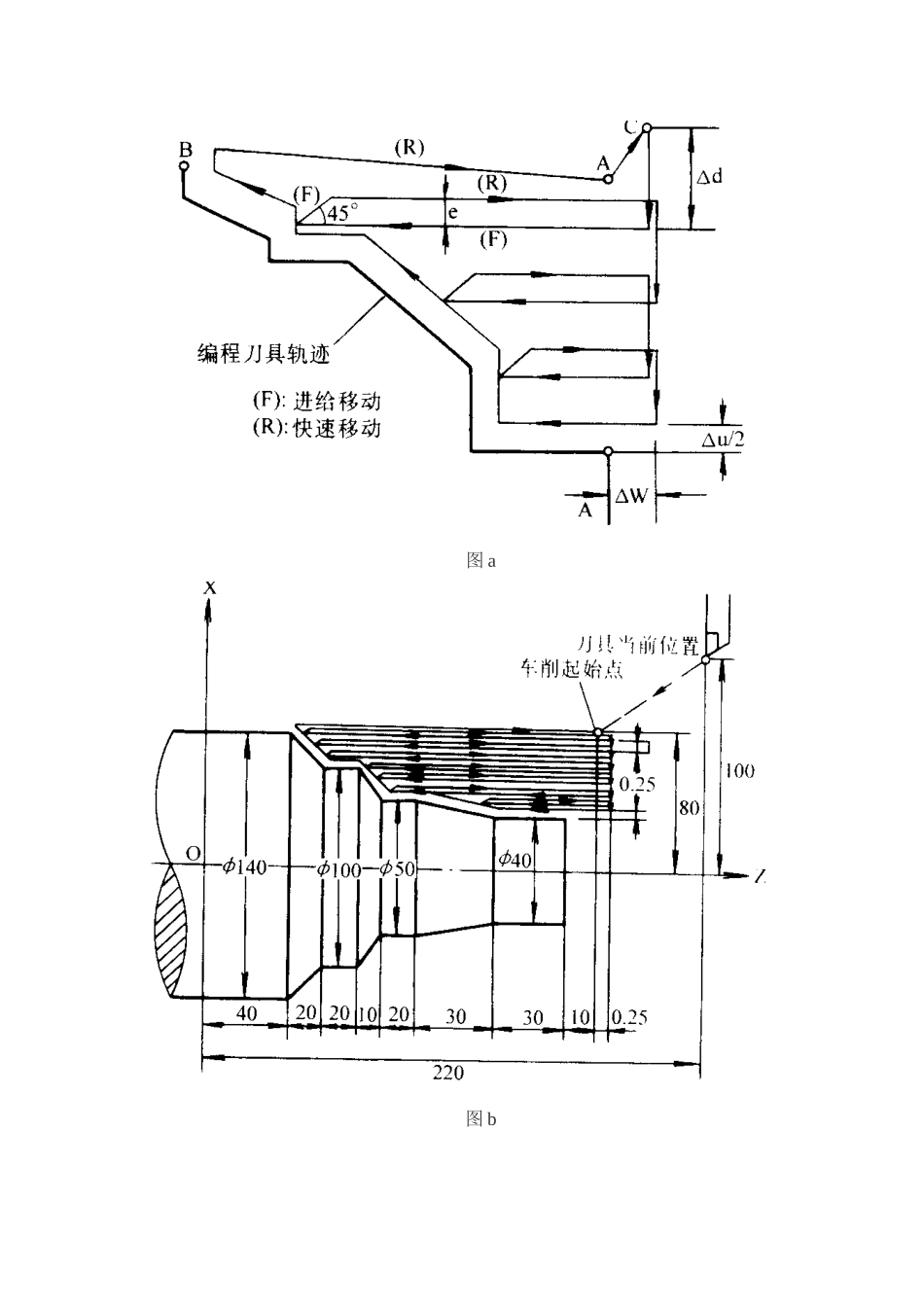
固定循环G70、G71、G72、G73、G74、G75G70~G76是CNC车床多次固定循环指令,与单次固定循环指令一样,可以用于必须重复多次加工才能加工到规定尺寸的典型工序。主要用于铸、锻毛坯的粗车和棒料车阶梯较大的轴及螺纹加工。利用多次固定循环功能,只要给出最终精加工路径、循环次数和每次加工余量,机床能自动决定粗加工时的刀具路径。在这一组多次固定循环指令中,G70是G71、G72、G73粗加工后的精加工指令,G74是深孔钻削固定循环指令,G75切槽固定循环指令,G76螺纹加工固定循环。(1)精车循环G70该指令用于在零件用粗车循环指令G71、G72或G73车削后进行精车,指令格式为:G70P____Q____U____W____;指令中各参数的意义如下:P:精车程序第一段程序号;Q:精车程序最后一段程序号;U:沿X方向的精车余量;W:沿Z方向的精车余量。编程注意事项:(1)精车过程中的F、S、T在程序段号P到Q之间指定。(2)在车削循环期间,刀尖半径补偿功能有效。(3)在P和Q之间的程序段不能调用子程序。(4)指定车削余量U和W可分几次进行精车。图a图b(2)外圆/内孔粗车循环G71该指令适用于毛坯料的粗车外径与粗车内径。如图a所示为粗车外径的加工路径,图中C是粗加工循环的起点,A是毛坯外径与端面的交点,B时加工终点。该指令的执行过程如图a所示,其指令格式为:G71U(Δd)R(e);G71P____Q____U(Δu)W(Δw)F____S____T____;N(P)…………用程序段号P到Q之间的程序段定义A→A΄→B之间的移动轨迹N(Q)……指令中各参数的意义如下:Δd:车削深度,无符号。车削方向取决于方向AA΄。该参数为模态值。E:退刀量,该参数为模态值。P:精车削程序第一段程序号。Q:精车削程序最后一段程序号。Δu:X方向精车预留量的距离和方向。Δw:Z方向精车预留量的距离和方向。F、S、T:粗车过程中从程序段号P到Q之间包括的任何F、S、T功能都被忽略,只有G71指令中指定的F、S、T功能有效编程实例如图b所示为要进行外圆粗车的短轴,粗车深度定为lmm,退刀量为lmm,精车削预留量X方向为0.5mm,Z方向为0.25mm,粗车进给率为0.3mm/r,主轴转速为550r/min,数控程序编写如下:N6G50X200.0Z220.0;定义程序原点N8G30U0W0;N10T0100M08;调01号粗车刀N12G00Xl60.0Z180.0;刀具快速走到粗车循环起始点N14G71U1.0R1.0;定义G71粗车循环,切削深度lmm,退刀量lmmN16G71P18Q30U0.5W0.25F0.3S550;粗车主轴转速550r/min,进给率0.3mm/rN18G00X40.0;程序段号N18到N30定义精车削刀具轨迹N20G01W-40.0F0.15;N22X60.0W-30.0;N24W-20.0;N26X100.0W-10.0;N28W-20.0;N30X140.0W-20.0;N32G30U0W0;N34T0303;调03号精车刀N36G70P18Q30;粗车后精车削(2)端面粗车循环G72如图a所示,G72指令的含义与G71相同,不同之处是刀具平行于X轴方向切削,它是从外径方向往轴心方向切削端面的粗车循环,该循环方式适于圆柱棒料毛坯端面方向粗车。G72端面粗车循环编程指令格式为:G72U(Δd)R(e);G72P____Q____U(Δu)W(Δw)F____S____T____;N(P)…………用程序段号P到Q之间的程序段定义A→A΄→B之间的移动轨迹N(Q)……G72指令中各参数的意义与G71相同图a图b编程实例:如图b所示为要进行端面粗车的短轴,粗车深度定为lmm,退刀量为lmm,精车削预留量X方向为0.5mm,Z方向为0.25mm,粗车进给率为0.3mm/r,主轴转速为550r/min,数控程序编写如下:N6G50X220.0Z190.0;定义程序原点N8G30U0W0;N10T0100M03;调01号粗车刀N12G00Xl76.0Z130.25;刀具快速走到粗车循环起始点N14G72U1.0R1.0;定义G72粗车循环N16G72P18Q28U0.5W0.25F0.3S550;调用程序段N18到N28进行粗车N18G00Z56.0;快速走到精车起始点N20G01X120.0W12.0;程序段N20到N28定义精车削刀具轨迹N22W10.0;N24X80.0W10.0;N26W20.0;N28X36.0W22.0;N32G30U0W0;N34T0303;调03号精车刀N36G70P18Q28;粗车后精车削N38G30U0W0M09;N40M30;(4)固定形状粗车循环G73如图a所示,固定形状粗车循环适用于铸、锻件毛坯零件的一种循环切削方式。由于铸、锻件毛坯的形状与零件的形状基本接近,只是外径、长度较成品大一些,形状较为固定,故称之为固定形状粗车循环。G73指令格式:G73U(Δi)W(Δk)R____G73P____Q___...

1、当您付费下载文档后,您只拥有了使用权限,并不意味着购买了版权,文档只能用于自身使用,不得用于其他商业用途(如 [转卖]进行直接盈利或[编辑后售卖]进行间接盈利)。
2、本站所有内容均由合作方或网友上传,本站不对文档的完整性、权威性及其观点立场正确性做任何保证或承诺!文档内容仅供研究参考,付费前请自行鉴别。
3、如文档内容存在违规,或者侵犯商业秘密、侵犯著作权等,请点击“违规举报”。

碎片内容

固定循环G70-G71-G72-G73-G74-G75

您可能关注的文档

确认删除?
VIP
微信客服
  • 扫码咨询
会员Q群
  • 会员专属群点击这里加入QQ群
客服邮箱
回到顶部