电脑桌面
添加小米粒文库到电脑桌面
安装后可以在桌面快捷访问

土地审批流程图(DOC40页)VIP免费

土地审批流程图(DOC40页)_第1页
1/41
土地审批流程图(DOC40页)_第2页
2/41
土地审批流程图(DOC40页)_第3页
3/41
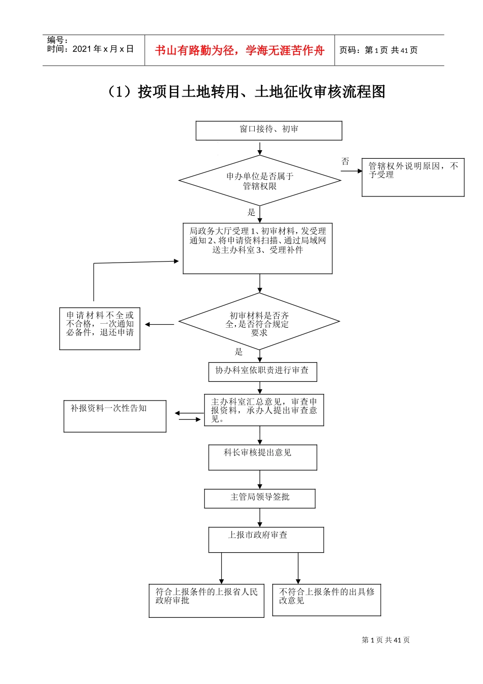
第1页共41页编号:时间:2021年x月x日书山有路勤为径,学海无涯苦作舟页码:第1页共41页(1)按项目土地转用、土地征收审核流程图否是否是符合上报条件的上报省人民政府审批不符合上报条件的出具修改意见主管局领导签批主办科室汇总意见,审查申报资料,承办人提出审查意见。补报资料一次性告知协办科室依职责进行审查科长审核提出意见上报市政府审查窗口接待、初审管辖权外说明原因,不予受理申请材料不全或不合格,一次通知必备件,退还申请局政务大厅受理1、初审材料,发受理通知2、将申请资料扫描、通过局域网送主办科室3、受理补件申办单位是否属于管辖权限初审材料是否齐全,是否符合规定要求第2页共41页编号:时间:2021年x月x日书山有路勤为径,学海无涯苦作舟页码:第2页共41页(2)按批次土地转用、土地征收审核流程图否是否是符合上报条件的上报省人民政府审批不符合上报条件的出具修改意见主管局领导签批主办科室汇总意见,审查申报资料,承办人提出审查意见。补报资料一次性告知协办科室依职责进行审查科长审核提出意见上报市政府审查窗口接待、初审管辖权外说明原因,不予受理申请材料不全或不合格,一次通知必备件,退还申请局政务大厅受理1、初审材料,发受理通知2、将申请资料扫描、通过局域网送主办科室3、受理补件申办单位是否属于管辖权限初审材料是否齐全,是否符合规定要求第3页共41页编号:时间:2021年x月x日书山有路勤为径,学海无涯苦作舟页码:第3页共41页(3-1)土地整治项目立项审批流程图否是否是窗口接待、审核不属于本单位管辖权的说明原因,不予受理申请材料不全或不合格,一次通知必备件,退还申请局政务大厅受理1、初审材料,发受理通知2、将申请资料扫描、通过局域网送主办科室3、受理补件申办单位是否属于本单位管辖权限(当场办理)审核材料是否齐全,是否符合规定要求主办科室、主管领导审批进行专家评审设计专家组出具评审意见补报资料一次性告知第4页共41页编号:时间:2021年x月x日书山有路勤为径,学海无涯苦作舟页码:第4页共41页(3-2)土地整治项目验收审批流程图否是否是下达立项批复窗口接待、审核不属于本单位管辖权的说明原因,不予受理申请材料不全或不合格,一次通知必备件,退还申请局政务大厅受理1、初审材料,发受理通知2、将申请资料扫描、通过局域网送主办科室3、受理补件申办单位是否属于本单位管辖权限(当场办理)审核材料是否齐全,是否符合规定要求主办科室、主管领导审批组织专家进行验收,专家出具项目验收报告补报资料一次性告知第5页共41页编号:时间:2021年x月x日书山有路勤为径,学海无涯苦作舟页码:第5页共41页(4)建设项目用地预审审批流程图否是否是下达验收结果通知书主办科室汇总意见,审查申报资料,承办人提出审查意见。补报资料一次性告知协办科室依职责进行审查科长审核提出意见窗口接待、初审管辖权外说明原因,不予受理申请材料不全或不合格,一次通知必备件,退还申请局政务大厅受理1、初审材料,发受理通知2、将申请资料扫描、通过局域网送主办科室3、受理补件申办单位是否属于管辖权限初审材料是否齐全,是否符合规定要求第6页共41页编号:时间:2021年x月x日书山有路勤为径,学海无涯苦作舟页码:第6页共41页(5)土地利用总体规划审核流程图否是否是局领导签批属于本局审批的权限出具初审意见或预审意见属于上级审批权限的报上级审批主办科室汇总意见,审查申报资料,承办人提出审查意见补报资料一次性告知协办科室依职责进行审查科长审核、复核提出意见;局领导签批窗口接待、初审管辖权外说明原因,不予受理申请材料不全或不合格,一次通知必备件,退还申请承德市行政审批服务中心国土资源局窗口受理1、初审材料,发受理通知2、将申请资料扫描、通过局域网送主办科室3、受理补件申办单位是否属于管辖权限初审材料是否齐全,是否符合规定要求第7页共41页编号:时间:2021年x月x日书山有路勤为径,学海无涯苦作舟页码:第7页共41页(6)土地利用总体规划调整审批流程图否是否是局领导签批符合上报条件的向省厅出具《对规划审查的请示》不符合上报条件的出具修改意见主办科室汇总意见,审...

1、当您付费下载文档后,您只拥有了使用权限,并不意味着购买了版权,文档只能用于自身使用,不得用于其他商业用途(如 [转卖]进行直接盈利或[编辑后售卖]进行间接盈利)。
2、本站所有内容均由合作方或网友上传,本站不对文档的完整性、权威性及其观点立场正确性做任何保证或承诺!文档内容仅供研究参考,付费前请自行鉴别。
3、如文档内容存在违规,或者侵犯商业秘密、侵犯著作权等,请点击“违规举报”。

碎片内容

土地审批流程图(DOC40页)

您可能关注的文档

确认删除?
VIP
微信客服
  • 扫码咨询
会员Q群
  • 会员专属群点击这里加入QQ群
客服邮箱
回到顶部