电脑桌面
添加小米粒文库到电脑桌面
安装后可以在桌面快捷访问

招标采购流程及用表流程(DOC38页)VIP免费

招标采购流程及用表流程(DOC38页)_第1页
1/38
招标采购流程及用表流程(DOC38页)_第2页
2/38
招标采购流程及用表流程(DOC38页)_第3页
3/38
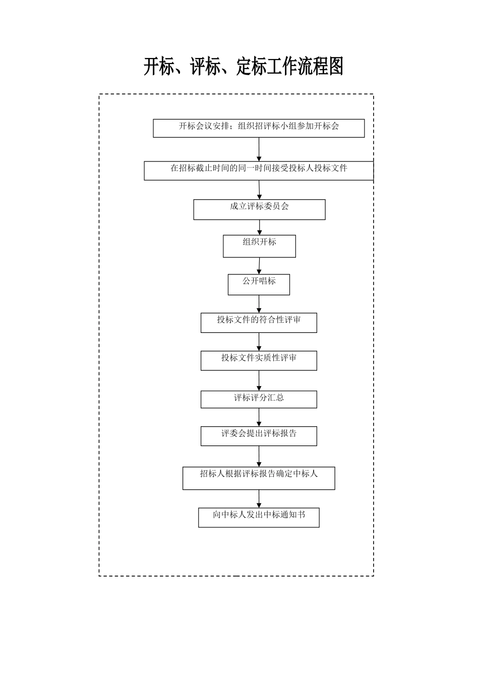
使用部门提出招标计划明确招标要求招标采购部汇总使用部门计划编制招采工作计划编制招标文件实施部门、运营中心对招标文件会签发出招标邀请书和资格预审文件组织招标小组成员对投标商进行资格预审组织招标小组成员对投标商进行考察编制招标答疑会议纪要并组织汇签组织投标人现场踏勘向资格预审合格的投标商发出通过确认文件对通过资格预审的投标商出售招标文件组织相关人员和部门召开招标答疑会投标人缴纳图纸抵押金后发出投标需要的图纸向所有投标人发出招标答疑会议纪要收取投标保证金招标准备及发标流程图开标会议安排;组织招评标小组参加开标会在招标截止时间的同一时间接受投标人投标文件成立评标委员会组织开标公开唱标投标文件的符合性评审投标文件实质性评审评标评分汇总评委会提出评标报告招标人根据评标报告确定中标人向中标人发出中标通知书草拟合同确定合同谈判参加的部门和人员通知中标单位组织合同洽谈主持谈判并做好谈判记录是否落实重点落实招标文件、投标承诺中的优惠及服务条款完善合同组织相关部门及人员进行合同会签合同正式签订合同发相关部门和存档会签是否通过合同分析合同交底YNYN询价采购流程图NN广泛收集厂商信息建立内部数据库比较优选形成合格厂商名录查找与采购内容匹配的厂家征求使用部门、运营中心意见询价询价记录草拟合同明确采购内容形式等签订合同、对采购样品进行编号封存组织合同谈判合同汇签招标采购部汇总各使用部门计划编制内部工作计划是否寻到合适价格使用部门提出采购计划明确采购要求合同分析合同交底招标采购附表:招标采购部负责组织招标采购的工程、物资范围一览表(工程类)序号工程、材料、设备、设施名称招标、采购方式服务招标工程招标甲方采购定厂定价指定厂家指定价格备注一工程1拆迁工程*2破除工程*3垃圾清运*4基坑支护*5桩基施工*6土方工程*7工程建筑安装施工*8场区内道路污水工程*9场区给水工程*目前暂不计入10供配电工程*目前暂不计入11路灯工程*12智能化工程(还包括周边防越、监控、停车管理、对讲)*13通讯工程*目前暂不计入14网络工程*目前暂不计入15有线电视工程*目前暂不计入16小区景观工程(还包括绿化、小品、铺地)*17配套设施工程(围墙、车棚、铁艺大门、电动门、标识系统)*18消防工程*19装饰装修工程*20电梯设备及安装工程*21空调设备及安装工程*22热水设备及安装工程*暂不计入23防火防盗门及安装工程*24铝合金、塑钢门窗、幕墙及安装工程*25钢结构及轻钢结构及网架*26围墙*27自行车棚*28小区标识系统*29大门土建工程*30门卫房*31区内供热工程*暂不计入二工程咨询服务类1勘察设计*2工程监理*3工程检测*4环保检测*5招标代理*6造价咨询*三材料、设备、设施类(一)基础及主体工程1商品混凝土*2钢材*3水泥*4钢结构*5装饰石材*6楼梯栏杆*7预制楼板*8加气混凝土块*9粘土砖及其他砌块*10外墙保温材料*11外墙涂料*12保温材料-挤塑板*13地板砖*14外墙砖*15踏步砖*16排烟道*17屋面防水卷材*18防水涂料*(二)高档装修工程1木地板*2地板砖*3地毯*4石材*5塑胶板*6装饰用板材、线材*7屋面吊顶材料*8外装饰材料*9不锈钢制品*10玻璃制品*11高档水龙头*12家具*13地弹门*14成品门*15转门*16装饰灯具*17屋面瓦*(三)室内给排水工程1上下水管材(PPR\PVC)*2热水管材*3卫生洁具及配件*4暖气片及阀门*5消防箱*6消防喷淋头*7无缝钢管*(四)室内电器工程1开关、插座*2微短、塑壳开关*3消防报警装置4消防广播、背景音乐系统*(五)场区供配电工程1箱变*2变压器*3高低压电缆*(六)场区道路及管网工程1道板*2侧石*3草坪砖*4下水管道(PE双壁管、混凝土管)*5井盖及框*(七)智能化工程1监控设备*2对讲设备*3防越对射设备*4停车管理设备*(八)景观工程1铺地材料*2植物*3水景系统(泵、喷头)*4背景音乐系统*5射灯*6小品*7雕塑*8木制景观*9花泊*10座椅*(九)配套设施1小区标识及配件*2垃圾箱*3信报箱*4健身器材*5铁艺门*6伸缩门*7金属透光围墙*8路灯灯具*9碳素管(地下电缆保护套管)*备注“*”表示此种工程或物资的招标采购方式注:营销类、行政类招标采购服务、物资范围一览表分别由营销中心、行政中心编制,格式同上表。招采部自行议标采购物...

1、当您付费下载文档后,您只拥有了使用权限,并不意味着购买了版权,文档只能用于自身使用,不得用于其他商业用途(如 [转卖]进行直接盈利或[编辑后售卖]进行间接盈利)。
2、本站所有内容均由合作方或网友上传,本站不对文档的完整性、权威性及其观点立场正确性做任何保证或承诺!文档内容仅供研究参考,付费前请自行鉴别。
3、如文档内容存在违规,或者侵犯商业秘密、侵犯著作权等,请点击“违规举报”。

碎片内容

招标采购流程及用表流程(DOC38页)

您可能关注的文档

确认删除?
VIP
微信客服
  • 扫码咨询
会员Q群
  • 会员专属群点击这里加入QQ群
客服邮箱
回到顶部