电脑桌面
添加小米粒文库到电脑桌面
安装后可以在桌面快捷访问

屋面钢结构工程监理实施细则VIP免费

屋面钢结构工程监理实施细则_第1页
1/11
屋面钢结构工程监理实施细则_第2页
2/11
屋面钢结构工程监理实施细则_第3页
3/11
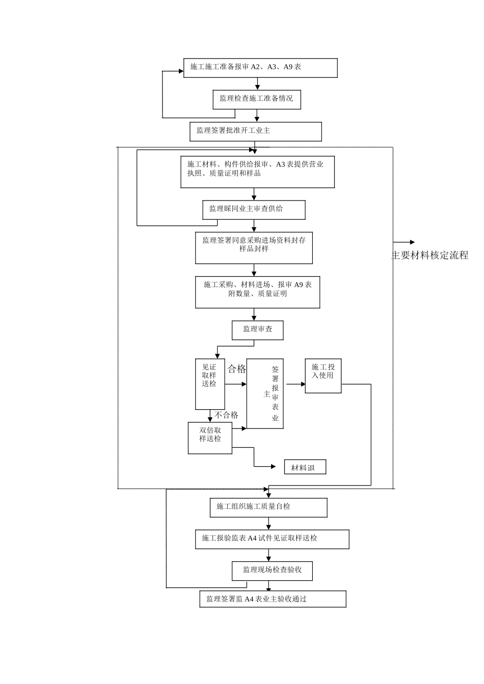
屋面钢构造工程监理施行细那么1.工程概况:1.1工程规模及特点工程位置:*****楼高层屋面钢构造工程位于烟台*****。设计概况:建筑构造平安等级二级主体构造的设计使用年限为50年风荷载根本的重现值为50年一遇;构造类型:钢构造共三层。建筑特点:在已完工的混凝土屋面上增加钢构造层〔1#、7#混凝土屋面标高为86.35m,钢构造屋面标高为96.55m;2#楼混凝土屋面标高为91.85m钢构造屋面标高为100.45m;3~5#楼混凝土屋面标高为98.15m钢构造屋面标高为107.75m;6#楼混凝土屋面标高为91.85m钢构造屋面标高为101.55m〕1.2工程工程目的质量目的:到达合格;平安目的:有效控制工伤事故杜绝重大恶性事故一般负伤频率<2‰;环境目的:噪声排放达标严格控制、限度减少化学危险品、油品的严禁发生重大火灾、事故;建筑材料有害物质含量达标。2.控制根据:2.1********设计的施工图纸;2.2已批准的监理规划;2.3经审核批准的施工组织设计;2.4?建筑工程施工质量验收统一?(GB50300-2001);2.5工程测量(GB50026-2007);2.6钢构造工程施工质量验收(GB50205-2001);2.7建筑构造荷载〔GB50068-2001〕;2.8钢构造设计〔GB50017-2003〕;2.9建筑钢构造焊接规程〔JGJ81-2003〕2.10建立工程监理(GB50318-2000);2.11建筑施工手册〔第四版〕;2.12建筑施工扣件式钢脚手架平安技术〔JGJ130-2001〕;2.13建筑施工高处作业平安技术〔JGJ80-91〕;2.14施工现场临时用电平安技术〔JGJ46-2005〕;2.15烟台建筑施工现场平安理规定;2.16其他有关、规程、及规定、有关图集;3.监理工作流程〔见以下图〕主要材料核定流程合格不合格施工施工准备报审A2、A3、A9表监理检查施工准备情况监理签署批准开工业主施工材料、构件供给报审、A3表提供营业执照、质量证明和样品监理睬同业主审查供给监理签署同意采购进场资料封存样品封样施工采购、材料进场、报审A9表附数量、质量证明监理审查见证取样送检施工投入使用双倍取样送检签署报审表业主材料退施工组织施工质量自检施工报验监表A4试件见证取样送检监理现场检查验收监理签署监A4表业主验收通过4.监理工作内容4.1施工准备阶段监理工作熟悉设计图纸、有关、规程和技术。检查施工现场质量理制度、质量责任制、主要专业工种操作上岗证、分包资质与对分包的理制度、施工组织设计、施工方案及审批、施工技术、工程质量检查制度、现场材料设备存放与理等必要时去相关企业考察。.1审查施工组织设计重点审查构件安装方案和测量校正工艺;检查安装施工交底记录。.2审查承包编制的本工程专业作业方案其工应符合施工组织设计的要求并与其它分项工程衔接;根据工程合同造价控制采购材料的价格控制专业工程造价防止费用的增加。.3检查建筑物定位轴线、地脚螺栓是否符合设计要求根底轴线标志和标高基准点是否设置。.4检查混凝土屋面清理情况是否具备施工根本条件。.5检查钢材、钢铸件、焊接材料及连接用紧固件等品种、规格、性能是否符合现行和设计要求重点检查质量合格证、中文标志及检验等焊接材料还应检查烘焙记录高强螺栓应检查扭矩系数和预拉力监视见证取样送检。.6钢构造焊接施工前应重点检查焊工的上岗证书持证焊工必须在其考试合格工程及其认可范围内施焊。.7查验钢构件出厂时应提交以下验收资料:〔1〕合格证;〔2〕施工图和设计变更以及制作技术处理协议;〔3〕钢材、连接材料和涂装材料质量证明书和试验;〔4〕焊接工艺评定;〔5〕高强度螺栓等级、磨擦面抗滑移系数试验焊缝无损检验和涂层检测资料;〔6〕主要构件验收记录;〔7〕预拼装记录;〔8〕构件发运和包装。.8按构件表核对进场的构件复验构件尺寸。.9检查构件在装卸、运输及堆放中无损坏或变形情况发现损坏或变形的构件及时预先矫正或重新加工。检查构件的涂层是否符合设计要求。.10检查进场钢构件是否按顺序成套供给现场是否按施工组织设计中的要求和规定堆放。.11检查测量、检验、计量器具的有效证书是否符合要求。.12检查施工机具的准备情况使用证书是否符合规定要求。4.2施工过程阶段监理工作钢构造焊接工程.1钢构造焊接施工前应全面检查钢材、焊接材料等是否与设计相符检验及复验结果是否合格焊接材料是否按说明...

1、当您付费下载文档后,您只拥有了使用权限,并不意味着购买了版权,文档只能用于自身使用,不得用于其他商业用途(如 [转卖]进行直接盈利或[编辑后售卖]进行间接盈利)。
2、本站所有内容均由合作方或网友上传,本站不对文档的完整性、权威性及其观点立场正确性做任何保证或承诺!文档内容仅供研究参考,付费前请自行鉴别。
3、如文档内容存在违规,或者侵犯商业秘密、侵犯著作权等,请点击“违规举报”。

碎片内容

屋面钢结构工程监理实施细则

您可能关注的文档

确认删除?
VIP
微信客服
  • 扫码咨询
会员Q群
  • 会员专属群点击这里加入QQ群
客服邮箱
回到顶部