电脑桌面
添加小米粒文库到电脑桌面
安装后可以在桌面快捷访问

道路工程监理实施细则m2VIP免费

道路工程监理实施细则m2_第1页
1/19
道路工程监理实施细则m2_第2页
2/19
道路工程监理实施细则m2_第3页
3/19
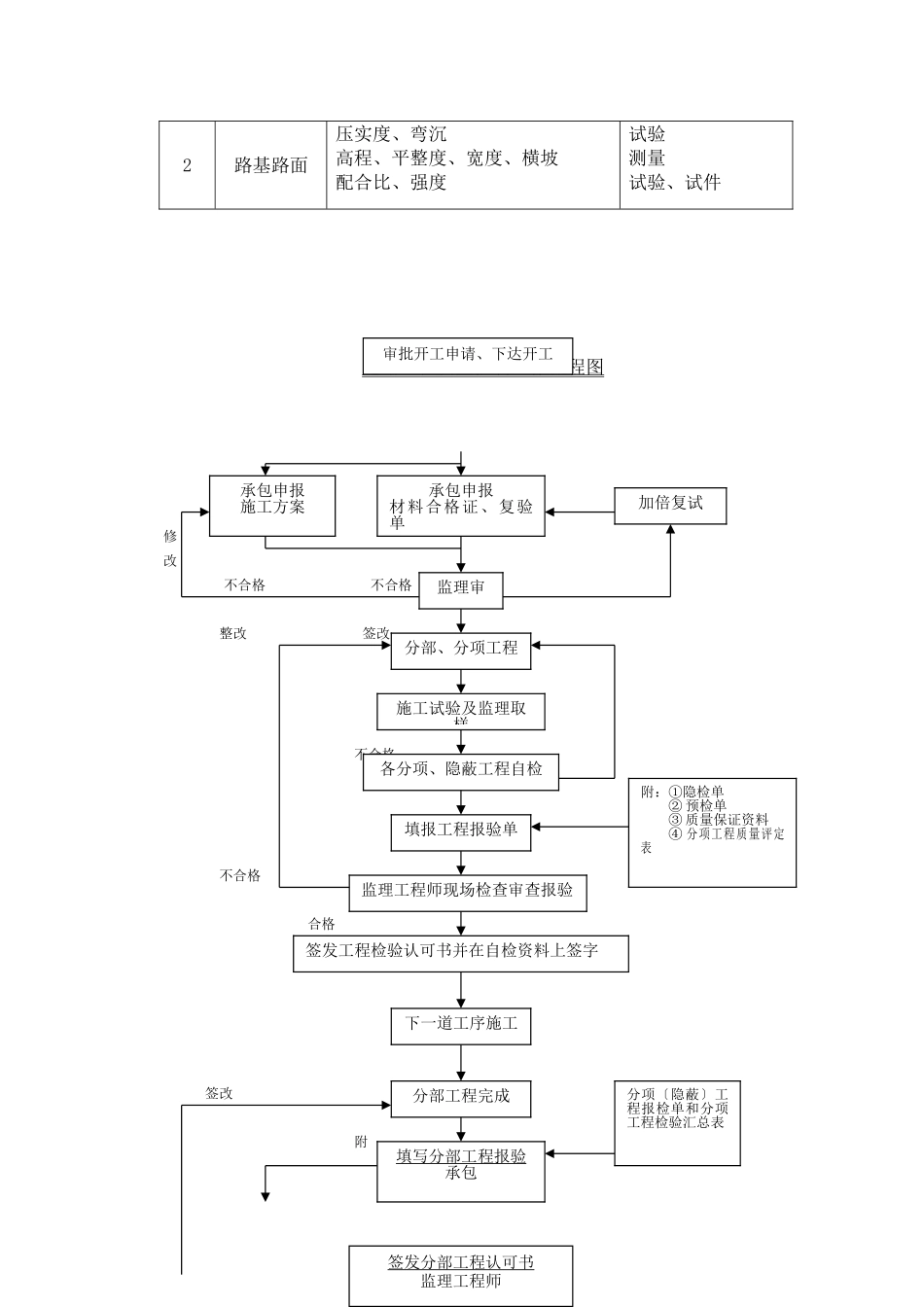
道路工程监理施行细那么一、道路工程概况及特点1、道路等级:校区内道路设计车速小于等于20Km/h2、设计范围内容设计范围为宁波工程学院新校区内道路。其中1#路路宽20米采用两块板断面形式。其余道路宽度3-9米不等采用一块板断面形式道路总长约10km。3、路基、路面:道路车行道采用沥青砼面层5水泥稳定碎石基层人行道采用6cm厚荷兰砖M10水泥砂浆卧底C10素砼基层级配碎石垫层。路基顶面要求采用厚度不小于50cm的宕渣回填〔缺乏局部应换填〕。路基顶面允许弯沉值为470.3〔0.01mm〕。4、主要工程量路基挖填方43672.7M33cm厚细粒式沥青砼28539.9M25cm厚粗粒式沥青砼28539.9M2人行道荷兰砖铺设6783.5M2水泥稳定碎石层32086.34M2安砌侧平石18431.3M级配碎石底基层6167.35M2。5、道路施工要求:1〕施工前应严格按设计坐标进展放样并对全线水准控制点进展闭合校验。2〕路基施工前需先去除建筑垃圾及地表耕植上清表厚度不小于50cm〔详细根据实际情况确定〕回填材料要求采用宕渣压实分层厚度不得大于30cm路基压实尽可能控制在最正确含水量附近进展。3〕道路路基施工压实度要求为:填方段路基以下0-80cm范围压实度为9380cm以下压实度为90低填浅挖路段原地面以下0-30cm范围内的压实度为93压实为重型击实.4〕施工间应采取必要的排水措施以保证路基枯燥确保路基压实成型.5〕填土路段的表层必须枯燥、无积水现象.填土必须由路中向两边填筑.填筑时要保证一定的横坡.施工时如遇雨天应停顿施工雨后应及时疏干路槽积水保证路基填土含水量及实度.6〕填土时应分层填筑每层应铺平大体积的土块要打碎每层填土一般松厚不超过30cm。经压路机碾压实测定实度合格前方能进展上一层的填土作业。7〕假设填土工程分几个作业段施工;每层填土与邻区交接时;如彼此不在同一时间填筑;先填地段应向外层留台阶每层台阶宽度不得小于1米;高度不得大于30cm。如两区同时填筑那么应分层互相交叠衔接。即一层向邻区延伸50cm次层缩进50cm。8〕道沟槽局部的填土应自道两侧均匀填筑在离壁两旁各1米范围内应薄铺轻夯每层填土松厚不超过20cm。9〕压好的路基要平整坚实防止沉陷没有波状及显著轮迹。在检查到达要求的实度后方可进展上层土方作业。路槽经修整碾压后应平整实没有明显碾压轮迹无翻浆、弹簧和起伏现象横坡与道路设计横坡一致。10〕基层用5水泥稳定碎石用15T震动机在初凝前完成压实水泥稳定碎石的7天无侧限抗压强度应大于2.8MPa.基层项面允许弯沉值70〔0.01mm〕。11〕水泥稳定碎石基层施工及验收应严格按?公路路面基层施工技术?〔JTJ034-2000〕中二级公路执行.12〕设计要求在水泥稳定碎石基层顶面必须洒布透层油.透层油应紧接在基层碾压成型后外表略微变枯燥但尚未硬化的情况下喷洒.要求逐层油透入基层的深度不小于5mm并能与基层联结成为一体。透层油的用量通过试验确定并不宜超过?沥青路面施工及验收?〔GB50092-96〕附录D表D09要求的范围.透层油宜采用优质乳化沥青.13〕车行道道路面层沥青采用AH-70.粗.细集料宜采用可以黏附性好的碱性石料.沥青砼材料选用、施工及验收均应严格按照国标?沥青路面施工及验收?〔GB50092-96〕等有关要求严格执行。14〕沥青砼的配合比应在开工前根据技术及所选用的材料通过试验来确定通过试拌试销验证并在施工中严格控增.15〕车行道沥青砼面层允许弯沉值为55〔0.01mm〕16〕沥青混凝土路面施工及验收应严格按照?沥青路面施工及验收?〔GB50092-96〕执行·17〕一道路施行范围可根据一征地范围线及实际情况进展调整.18〕与外围道路相接的出入口应根据道路的实际标高进展接顺处理.19〕因缺少宁镇路道路标高校前区广场竖向设计待宁镇路标高确定后另行施行。20〕道路沿线停车带及各建筑单体出入口的详细做法详见景观设计图纸.道路设计范围至道路边线.21〕无障碍设施;按行业?城道路和建筑物无障碍设计?〔JGJ50-2001〕施工。22〕由于缺少施工横断面资料土石方量详细根据实际方量计量.23〕质量验收及评定按照?政道路工程质量检验评定?〔CJJ1-90〕及、地方有关规定执行。二、道路工程质量控制监理工作流程和质量控制点1、质量控制流程图2、质量控制点主要质量控制点序工程...

1、当您付费下载文档后,您只拥有了使用权限,并不意味着购买了版权,文档只能用于自身使用,不得用于其他商业用途(如 [转卖]进行直接盈利或[编辑后售卖]进行间接盈利)。
2、本站所有内容均由合作方或网友上传,本站不对文档的完整性、权威性及其观点立场正确性做任何保证或承诺!文档内容仅供研究参考,付费前请自行鉴别。
3、如文档内容存在违规,或者侵犯商业秘密、侵犯著作权等,请点击“违规举报”。

碎片内容

道路工程监理实施细则m2

您可能关注的文档

确认删除?
VIP
微信客服
  • 扫码咨询
会员Q群
  • 会员专属群点击这里加入QQ群
客服邮箱
回到顶部