电脑桌面
添加小米粒文库到电脑桌面
安装后可以在桌面快捷访问

质量控制监理工作流程VIP免费

质量控制监理工作流程_第1页
1/8
质量控制监理工作流程_第2页
2/8
质量控制监理工作流程_第3页
3/8
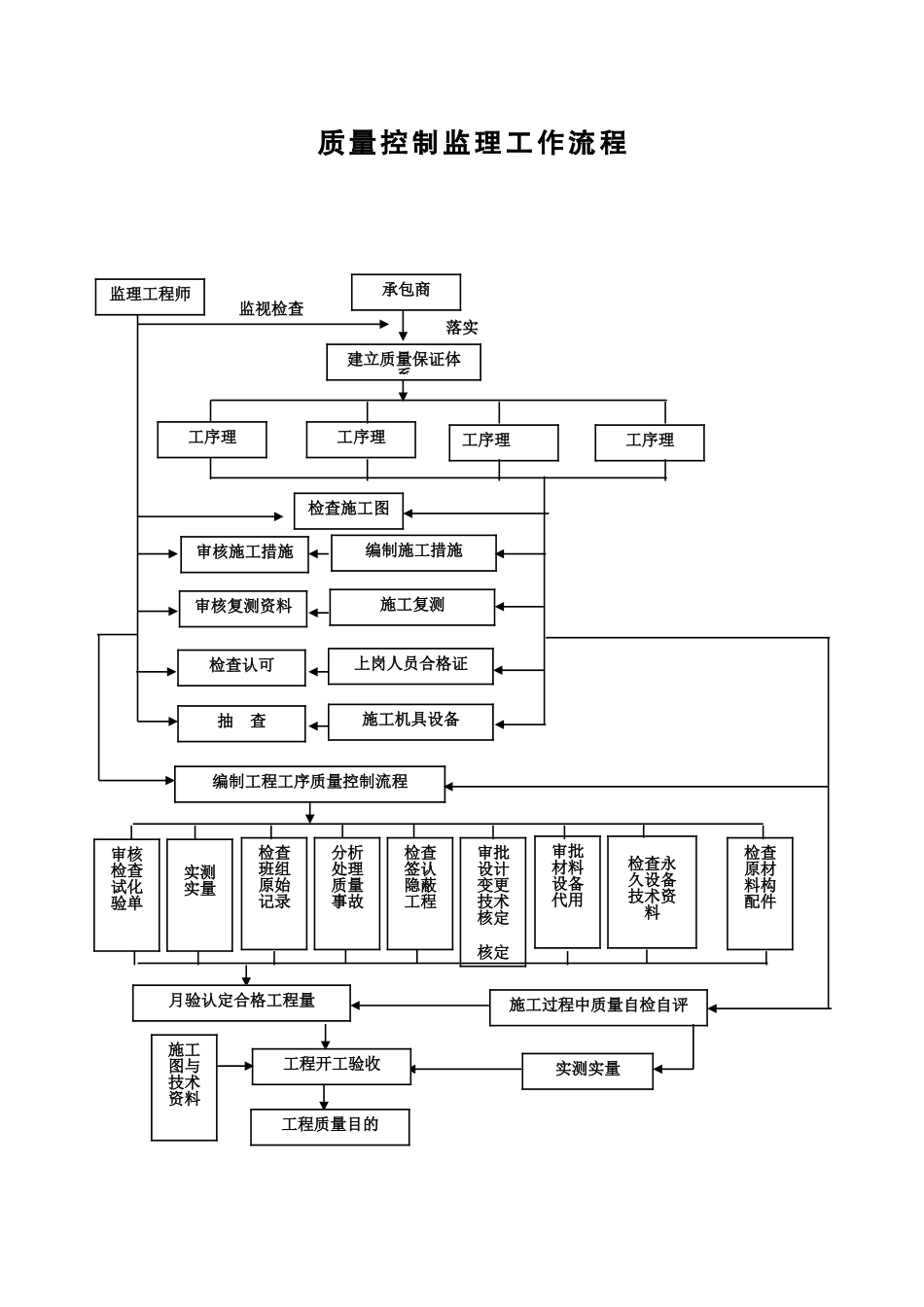
质量控制监理工作流程落实监理工程师监视检查承包商建立质量保证体系工序理工序理工序理工序理检查施工图审核施工措施审核复测资料检查认可抽查编制施工措施施工复测上岗人员合格证施工机具设备编制工程工序质量控制流程审核检查试化验单实测实量检查班组原始记录分析处理质量事故检查签认隐蔽工程审批设计变更技术核定核定审批材料设备代用检查永久设备技术资料检查原材料构配件月验认定合格工程量施工过程中质量自检自评实测实量工程开工验收施工图与技术资料工程质量目的15施工准备工作质量控制1、施工人员素质控制2、工程原材料配件的质量控制3、施工机械设备质量控制4、施工方案的审查5、施工质量保证体系6、测量与检验的控制设计及图纸审查施工及安装过程质量控制1、工序控制2、工序间质量控制3、设计变更与图纸修改、技术核定审查4、隐蔽工程验收5、分部〔分项〕工程验收施工及安装过程质量控制开工验收1、设备联动试运行2、工程质量评定整理资料1、开工图2、工程质量检查评定资料施工阶段质量控制钢筋工程质量监理工作流程合格熟悉构造施工图承包商、监理工程师钢材进场检验承包商、监理工程师钢筋翻样承包商检验结果进场、挂牌堆放承包商检查焊工考试合格证试焊承包商、监理工程钢筋下料、加工承包商检查钢筋成型质量、焊接质量监理工程师绑扎前的准备:清理基层、划线钢材退场承包商〔续〕钢筋绑扎承包商钢筋焊接现场取样试验承包商、监理工程师不合格试验结果合格焊接返工承包商不合格返工或整改钢筋绑扎、预埋件、预留洞验收检验结果合格签署隐蔽验收单监理工程师控制监理工作流程图报送返回征询申报合同权限以外洽商洽商审核年、季度方案业主工程部监理工程师审核工程施工方案安排施工设计变更设计变更的内提议提议验工计价施工连同完成工作量报表及形象进度提出验工申请施工有关监理工程师从质量、、进度控制角度审查磋商施工设计技术审核总监理工程师批准或审核报送业主工程部合同权限以内施工提出图纸、增减工作量变更表监理工程师核定费用及工设计变更工程成立1、技经监理师初步检查并征询各专业监理的;2、根据各专业返回汇总工程款项各专业监理审查认可本专业完成的工作量及质量提出监理总监理师审查工程款并签署付款凭证提交工程部总监工程部审定工程款支付工程款6.4进度控制监理工作流程图纠偏措施无偏可可可否根据工程承包合同编施工组织总体设计承包商监理工程师审核按下达的年度、季度方案编制季、月、周施工方案承包商监理工程师审查否、单项工程开工承包商监理工程师审核落实、审核施工图审查施工措施落实落实劳动力、组织落实工程材料落施行工设备、设施检查施工环境落实平安措施可组织施工承包商监理工程师检查方案进度与实际工程进度情况监理工程师承包商分析原因商讨纠编措施有偏信息反馈调整、做好下一周方案设计阶段监理工作程序本工程以上工作业主已完成承受业主监理委托确定工程总监理工程师签定监理委托合同编制〔设计要求〕或〔方案竞赛〕组建工程监理组编制监理工作方案组织方案竞赛组织设计协助签订设计合同组织设计方案的评选选择设计审查设计及概、控制工程使用功能、设计、工程造价和设计进度协助业主编制协助业主组织评标、定标、选择施工协助业主签订施工承包合同施行施工阶段监理工作7.2监理流程表转入下月循环不同意重大变更不同意不同意工程方案为控制目的施工方案可行性和技措费的审查签认承包商编制施工组织设计〔施工方案〕年度综合方案确认编制综合年度方案分包单项合同施工方案向业主资金需要方案和上月资金使用分析分层〔段〕专业核算工程量审查月报方案审查分阶段进度方案或月、旬、周方案和资金需用方案业主供给主材、设备时应提出方案配合业主认可工程总监对月方案和资金使用方案签认不同意设计变更现场签证监理确认业主认可施工提供变更增或减资料材料调价申报索赔申报不同意业主、监理审批按每旬〔周〕进度方案检查执行情况提出下一旬〔周〕进度方案复查与进度相关的进场材料设备和人员等协调进度方案相关的质量和检查质量是否符合要求严格执行进度方案分析做好对施工进度、经济相关的气候、环境和人员、材料、设备的监...

1、当您付费下载文档后,您只拥有了使用权限,并不意味着购买了版权,文档只能用于自身使用,不得用于其他商业用途(如 [转卖]进行直接盈利或[编辑后售卖]进行间接盈利)。
2、本站所有内容均由合作方或网友上传,本站不对文档的完整性、权威性及其观点立场正确性做任何保证或承诺!文档内容仅供研究参考,付费前请自行鉴别。
3、如文档内容存在违规,或者侵犯商业秘密、侵犯著作权等,请点击“违规举报”。

碎片内容

质量控制监理工作流程

您可能关注的文档

教育教学文库+ 关注
实名认证
内容提供者

本店有大量的教育教学资料,课件

相关文档

确认删除?
VIP
微信客服
  • 扫码咨询
会员Q群
  • 会员专属群点击这里加入QQ群
客服邮箱
回到顶部