电脑桌面
添加小米粒文库到电脑桌面
安装后可以在桌面快捷访问

隧道专项监理细则流程图VIP免费

隧道专项监理细则流程图_第1页
1/12
隧道专项监理细则流程图_第2页
2/12
隧道专项监理细则流程图_第3页
3/12
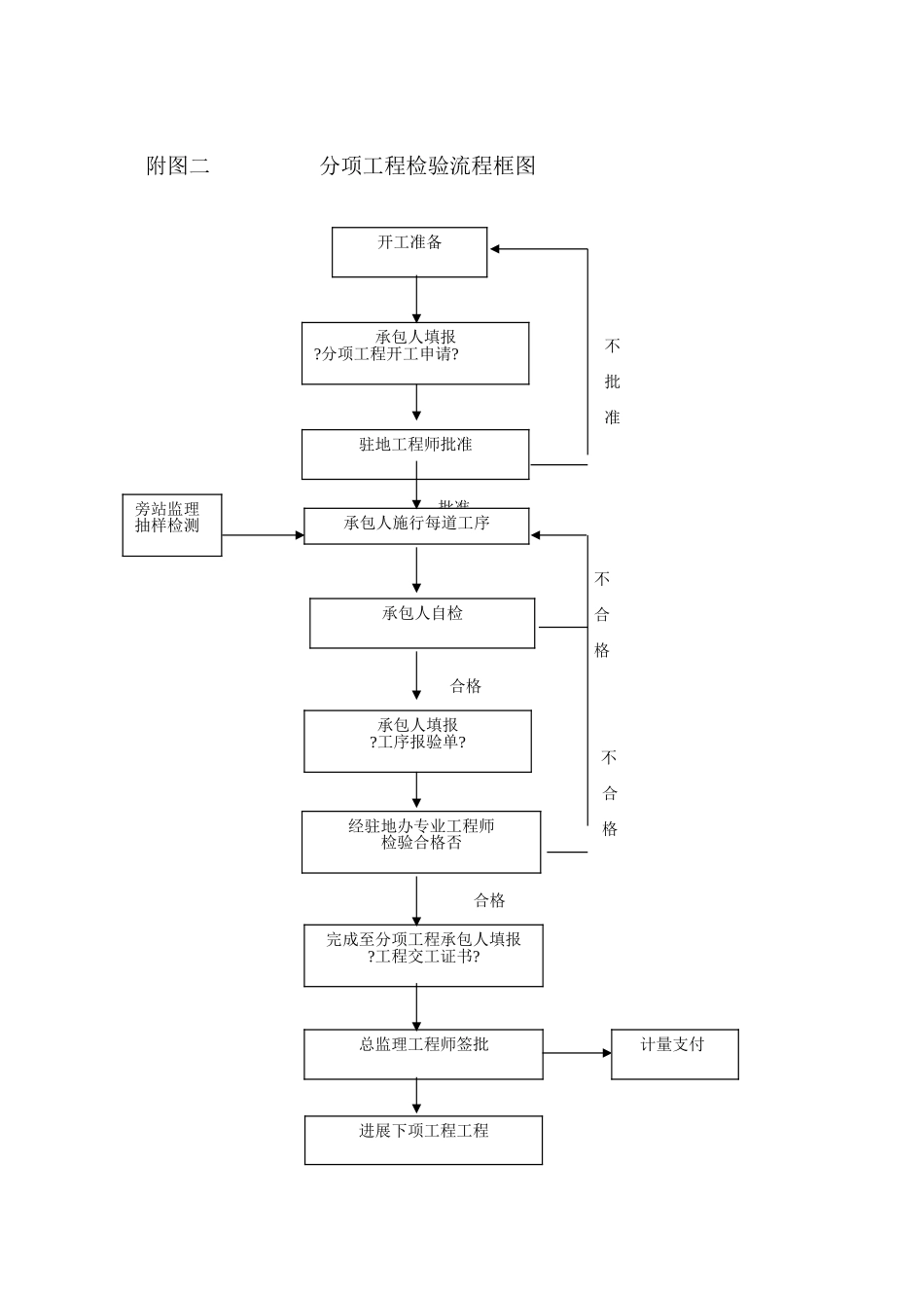
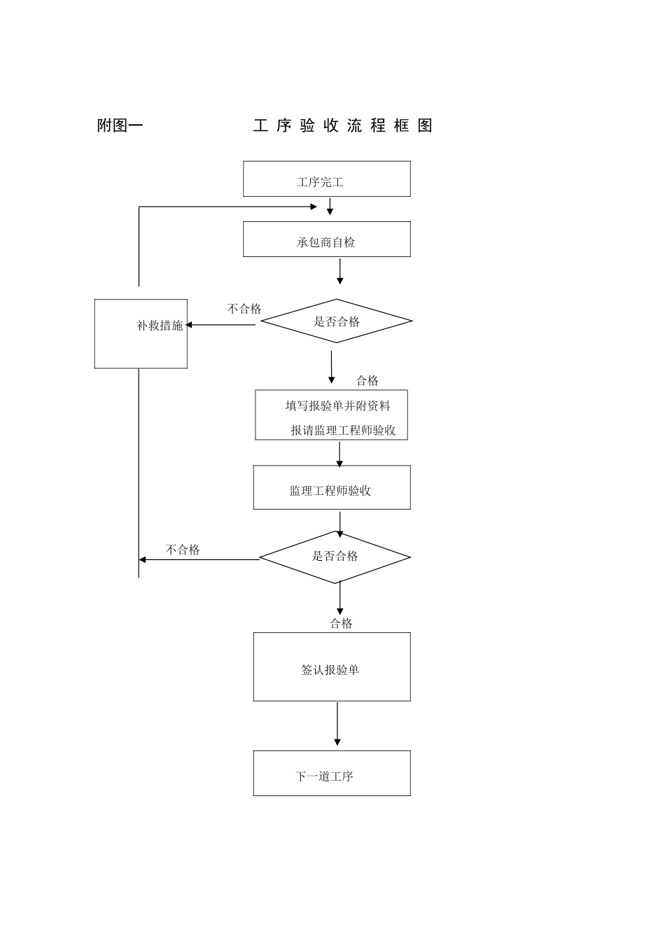
附图一工序验收流程框图工序完工承包商自检不合格监理工程师验收不合格合格签认报验单下一道工序补救措施合格填写报验单并附资料报请监理工程师验收是否合格是否合格附图二分项工程检验流程框图不批准批准不合格合格不合格合格开工准备承包人填报?分项工程开工申请?驻地工程师批准承包人施行每道工序承包人自检承包人填报?工序报验单?经驻地办专业工程师检验合格否完成至分项工程承包人填报?工程交工证书?总监理工程师签批旁站监理抽样检测计量支付进展下项工程工程附图三施工测量监理流程框图合格不合格不合格不合格资料交接、现场交接桩位复测施工放样承包人自检承包人填报?施工放样报验单?驻地办测量工程师抽检总监理工程师签认?施工放样报验单?承包人开工申请承包人复测核实测量监理工程师抽检附图四自采材料监理流程框图不合格不合格合合格合格不合格不合格合格合格原材料或消费厂选择施工抽样试验施工提供原材料样品及试验监理审核材料进场、堆放保施工按批量、频率抽检监理抽检贮存待用运出场外使用时施工随机抽检必要时监理抽检用于施工资料正确存档资料正确存档附图五外购材料监理流程框图否认可合格不合格合格不合格施工提供合格证及试验监理审核购置验收进场施工按频率抽检监理抽检分类贮存保使用退货施工使用前复核性抽检监理抽检用于施工运出场外资料正确存档资料正确存档附图六洞口、明洞、浅埋段施工监理程序施工工艺监理程序附图七锚杆监理流程图施工放样提出施工方案审报施工材料、机具审核抽检施工材料审核放样检查测量控制审核施工方案明洞边坡稳定先墙后拱边坡不稳定先拱后墙半路堑明洞墙拱交替路堑式明洞拱脚根底好先拱后墙拱脚松软跳槽挖井浅埋隧道根据围岩选择开挖单侧壁导坑双侧壁导坑留核心土开挖法多台阶法开挖支护衬砌做防水层、盲沟拱顶、墙背回填承包人自检:位置、标高、净空、衬砌厚度质量、超挖回填、防水层、盲沟衬砌监理旁站附图八喷射混凝土流程图附图九初支护锚喷工艺质量控制流程图喷射混凝土原材料试验①筛分试验②含泥量及含有机质试验③压碎值试验抽检喷射混凝土配合比试验①强度②凝结时间施工过程中监理要点①用喷水或喷气清洗岩面②首次喷混凝土厚度不小于5cm③抽取抗压强度试验④回弹物不得重复利用喷射混凝土厚度检查喷射土抽取抗压强度试验混凝(旁站)填写喷射混凝土质检单钻孔监理要点①孔位②钻孔角度③孔深④清孔锚杆安装监理要点①锚杆长度②砂浆配合比锚杆抗拨力试验填写锚杆质检单监理程序施工程序合格附图十二次衬砌施工工艺质量控制流程图签认?中间交工证书?填报?中间交工证书?审批施工组织方案检查人员及设备抽检原材料检查施工台架的架设及安全情况全过程旁站、砼取样检查施工放样检查钻孔尺寸、深度、位置等施工质量全过程检查锚杆安装质量、水泥砂浆质量试验全过程旁站检查验收全过程旁站、砼取样监理抽检砼强度施工组织设计装备专业施工人员及设备钢筋、水泥等原材料报验架设施工台架初喷5cm砼锚杆施工放样锚杆钻孔施工锚杆下锚、注浆锚杆锚固力试验铺设钢筋网安装钢拱架喷射砼至设计厚度砼强度试验合格合格合格监理程序施工程序附图十一防水层监理流程图审批开工检查验收检查验收全过程旁站检查开工初砌前自检中线标高、断面尺寸自检衬砌台车浇筑二衬砼检查验收签认?中间交工证书?二衬砼拆模二衬砼养护自检砼强度试验填报?中间交工证书?监理抽检砼强度试验附图十二注浆监理流程图附图十三质量事故处理工作流程图防水层原材料取样检查焊缝质量检查防水层铺设质量和搭接质量填写防水层质检单注浆材料取样试验填写注浆质检单施工中监理旁站检查:孔、数量压力等技术参数注浆效果检查不通过通过否质量事故发生填写质量事故单采取应急措施编制质量事故处理方案召开方案证会预备会召开方案证会完善方案是否通过按批准方案施行合格资料整理保存

1、当您付费下载文档后,您只拥有了使用权限,并不意味着购买了版权,文档只能用于自身使用,不得用于其他商业用途(如 [转卖]进行直接盈利或[编辑后售卖]进行间接盈利)。
2、本站所有内容均由合作方或网友上传,本站不对文档的完整性、权威性及其观点立场正确性做任何保证或承诺!文档内容仅供研究参考,付费前请自行鉴别。
3、如文档内容存在违规,或者侵犯商业秘密、侵犯著作权等,请点击“违规举报”。

碎片内容

隧道专项监理细则流程图

您可能关注的文档

确认删除?
VIP
微信客服
  • 扫码咨询
会员Q群
  • 会员专属群点击这里加入QQ群
客服邮箱
回到顶部