电脑桌面
添加小米粒文库到电脑桌面
安装后可以在桌面快捷访问

基站建设流程图VIP免费

基站建设流程图_第1页
1/6
基站建设流程图_第2页
2/6
基站建设流程图_第3页
3/6
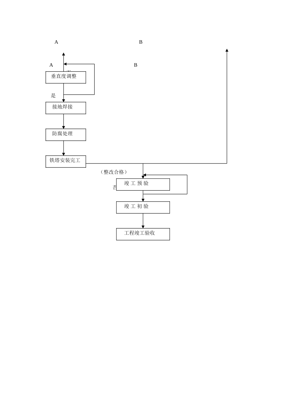
基站(土建、铁塔)建设流程图否会审是否是选址(建设单位)地质勘探(地质勘察单位)设计(设计单位)工程开工(施工单位)桩基放线桩基钻孔清孔钢筋笼下放混凝土浇注钢筋笼制作承台开挖承台钢筋绑扎承台混凝土浇注桩基养护机房基础放线基础施工主体工程屋面工程装修工程电气工程机房完工铁塔进场铁塔安装附:工程开工报告工程进度计划报审表工程进度计划表施工组织设计(方案)报审表施工组织设计/方案施工进度计划申报表施工人员操作证复印件附:孔深检验孔径检验泥浆比重检查附:混凝土配合比混凝土坍落度附:钢筋规格、型号、数量以及品牌钢筋长度、间距钢筋焊接附:模板及脚手架安全钢筋规格、型号、数量以及品牌钢筋长度、间距钢筋焊接混凝土配合比混凝土坍落度砂浆饱满度墙体垂直度附:企业营业执照复印件;企业资格证书复印件;企业施工资质证书复印件;施工人员名单及对应登高证(原件)特殊工种(焊接工)操作证(原件);施工人员工作证(清晰)复印件;安全员工作证(原件);施工组织设计方案报审表;铁塔施工组织设计方案;开工报告;施工进度计划报审表施工进度计划ABAB否是(整改合格)否垂直度调整接地焊接防腐处理铁塔安装完工竣工预验竣工初验工程竣工验收基站设备安装工程监理总流程图一(前期)监理行为形成文件说明工程管理机构组织建立,监理招标监理中标制定工程建设总计划(进度计划,质量计划,投资计划)协助总计划形成设计、设备招标协助,审核,选优设计、供货商合同签订投标文件勘察设计论证,协助站点选择,站型和天线型号选择(重点难点)重点、难点和衔接分析依据可研报告和批复第一批文件出笼审核,提出意见设计院设备、配件、主材订货协助建议供货合同确定施工招标协助施工单位合同签订设计文件形成协调,督促设计文本形成设备到货进仓协调、督促按物流程序进行《物流表》设备材料到仓,形成设备材料明细表合同履行合同管理基站设备安装工程监理总流程图二(施工准备阶段)结束结束工程开始《可研批复》必要条件主流程形成文件说明工程建设规模;《委托监理合同》《监理规划》;《监理实施细则》向业主报告业主向监理交设计文本熟悉、审查设计文件招标书要求专监、概预算监理工程师招标书要求施工单位提交资质证明核实施工单位资质监理工程师施工队事前向监理方提交A2《施工组织设计(方案)报审表》、审查施工组织设计和专项技术方案,施工进度计划,安全计划措施《报审表》,符合要求时,批准、签发;不合要求时,退回修改设计交底参加设计交底,提出意见业主,设计、施工、监理人参加业主组织的第一次工地会议,监理交底《会议纪要》监理,起草各方签字业主,设计、施工、监理人施工方提交《开工报审表》审查开工报告,检查开工条件(人员、技术装备、工机具,材料)《开工令》合格时,签署发布监理人组织示范站,召开工地例会《会议纪要》示范站施工情况总结,问题限期整改业主、设计、施工、监理、设备商基站设备安装工程监理总流程图三(施工安装中)监理进场施工队监理流程形成文件说明;准备三项:现场施工条件(前期工程)检查,设计图纸的现场核对,进场设备材料清点和质量检查旁站时督促、协助检查督促施工队做好施工三项准备,现场协调处理图纸、条件、材料等问题做好检查记录专监、概预算监理工程师施工队按批准的施工组织设计,示范站确定的施工流程工艺施工监理通过旁站、巡检等控制质量督促,特别是涉及隐蔽性和重点项目《监理旁站巡检记录》《流程图》,抓好重点工序监理工程师工序完成后,自检,做记录,报检监理检查(应抓住重点部位)《安装规范标准汇集》)《现场安全质量检查记录4表》,不符合规范要求时,要求整改按监理工程师要求做好整改检查整改结果测量记录耗用主材,材料使用报告检查见证《材料领用消耗检查记录表》工程量统计报告审核签认投资控制依据做好单站或当日现场环境整理督促检查联系单或通知单月周进度报告审核,进度控制监理周报月报《进度表》重大质量事故或安全事故发生时的处理和报告按监理责任进行处理和报告基站设备安装工程监...

1、当您付费下载文档后,您只拥有了使用权限,并不意味着购买了版权,文档只能用于自身使用,不得用于其他商业用途(如 [转卖]进行直接盈利或[编辑后售卖]进行间接盈利)。
2、本站所有内容均由合作方或网友上传,本站不对文档的完整性、权威性及其观点立场正确性做任何保证或承诺!文档内容仅供研究参考,付费前请自行鉴别。
3、如文档内容存在违规,或者侵犯商业秘密、侵犯著作权等,请点击“违规举报”。

碎片内容

基站建设流程图

文章天下+ 关注
实名认证
内容提供者

各种文档应有尽有

确认删除?
VIP
微信客服
  • 扫码咨询
会员Q群
  • 会员专属群点击这里加入QQ群
客服邮箱
回到顶部