电脑桌面
添加小米粒文库到电脑桌面
安装后可以在桌面快捷访问

循环水中氯离子去除方法VIP免费

循环水中氯离子去除方法_第1页
1/9
循环水中氯离子去除方法_第2页
2/9
循环水中氯离子去除方法_第3页
3/9
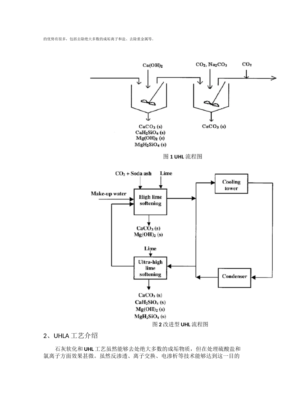
循环冷却水中氯离子去除方法过量石灰-铝技术(UHLA)摘要:在循环冷却水中,氯离子是一种有害的成分,一方面氯离子易引发腐蚀,另一方面大多数的缓蚀阻垢剂对水中氯离子浓度都有限值。氯离子可通过沉淀方式去除:Ca4Al2Cl2(H)12,由此本文开展平衡实验和动力学实验评估UHLA技术对氯离子的去除能力和反应条件。平衡实验共进行48组,其中NaCI溶液为30mM,Ca(OH)2为0~200mM,偏铝酸钠为0~100mM。实验结果表明UHLA可通过形成氯铝酸钙固体去除,同时这一过程可以通过一个反应动力学表达式证实。实验结果也表明Ca4Al2CI2(H)12的溶度积为。1、前言2000年,美国工业废水排放量约为120亿吨,接近80%的废水来源于电力产业。工业废水主要来源于冷却水,主要污染包括了高温、有毒化学物质、有机和无机污染物等,同时冷却水也是美国水资源的重要消费者。为了污染物减排、节水和节约开支,必须提高水冷却水的循环倍数。但循环倍数的提高必然导致难挥发物质的浓缩,进而引发腐蚀、结垢以及生物黏泥等问题。为了减少这些问题的产生,需要去除冷却水中某些物质,包括Ca2+、Mg2+、磷、硅酸盐、硫酸盐和氯离子。氯离子是其中一种难挥发且易导致腐蚀的物质,同时氯离子也会影响缓蚀阻垢剂的使用效果,一些研究表明在高氯浓度下,药剂的使用量也会增加。石灰软化在冷却水中应用去除Ca2+和Mg2+,降低硬度和碱度,同时也可部分去处硅酸盐,但这和Mg2+含量有关。石灰软化在去除硫酸盐和氯离子方面无效果。UHL是一种改进型的石灰软化方法,可以去除Ca2+、Mg2+、PO43-、CO32-、硅酸盐等。UHLA去除硅酸盐是通过高含量的石灰投加提高水体pH并形成硅酸钙沉淀。UHL的流程如图1所示,该流程分两步进行,第一步投加过量的Ca(OH)2使水中钙离子提高同时pH达到11~12,硅酸盐、Mg2+、PO43-在这一阶段得到去除;第二步通过加入CO2或Na2CO3去除多余的Ca2+,同时调节pH到适宜值。该技术可应用于制水,也可应用于旁滤系统。此外该工艺也可以根据补给水特点进行改进,如图2所示,旁滤水通过UHL处理,同时软化处理补给水。UHL的优势有很多,包括去除绝大多数的成垢离子和盐、去除重金属等。图2改进型UHL流程图2、UHLA工艺介绍石灰软化和UHL工艺虽然能够去处绝大多数的成垢物质,但在处理硫酸盐和氯离子方面效果甚微。虽然反渗透、离子交换、电渗析等技术能够达到这一目的但成本要高很多。此外,硫酸盐和氯离子问题在其他领域也存在,如膜污染、制盐结垢等,因而前处理去除迫切需要解决。Table1-Unilcostsofwatertreatment(YouetaL,1999).TreatmentmethodLimesoftenerReverseosmosisIonexchangerUnitprice(J/mr3)0.26-0.321.13-1.450.97-2.26UHLA是一种改进型技术,该技术在去除硫酸盐和氯离子方面具有优势,其中去除硫酸盐的研究在1985年即被研究,在高pH和高Ca2+含量情况下(图2的第一步),形成Ca6Al2(SO4)3(OH)12沉淀,当Ca2+充分时硫酸根和铝的摩尔比率是:,符合理论的化学计量。该沉淀的溶度积很低(),同时该反应属快速反应。此外,该反应也会通过协同沉淀和吸附去除硅酸盐。该方法也可去除氯离子,形成弗雷德尔盐。Table2—Concentrsitionrangescoveredincalculatingionactivityproductofcalciumchloroaluminate.CalciumAluminumChlorideCorrponertpH(mM)(mM)(mM)Range1153-12.363.12-23B6DOT5-3&73535-26.45Table3Re&ultsofregr&ssi口riEoflogfionactivityproduct)ofcalciumchlorealuminatepretipitatian・VariableSlopeCoefficientof日昙termination(厂)Numberofdatapoints(r?)log(CaT)D.374D13430lag(Alr)0.3130.36930iog(ci7)-D.311-D13B30pHD1S630目前针对液相中Ca4Al2Cl2(H)12的研究较为缺乏,更多的研究集中在混凝土和水泥合成中。一些研究表明当在氯化钙溶液中投加氧化铝和氧化钙时,氯铝酸钙结晶沉淀会迅速产生。该反应机理有数种解释,1974年,BenYair提出该反应是通过三钙盐(CaO)3Al2O3和CaCl2直接反应。1988年Yonezawa提出F盐的形成需要OH-参与Cl-和C3A的反应。1985年,Lambert提出去除水中的Cl-或者的需要同时取出相同摩尔的阳离子或者加入相同摩尔的阴离子以保持水电中性;Ca(OH)2中电离OH-是阴离子的主要补充...

1、当您付费下载文档后,您只拥有了使用权限,并不意味着购买了版权,文档只能用于自身使用,不得用于其他商业用途(如 [转卖]进行直接盈利或[编辑后售卖]进行间接盈利)。
2、本站所有内容均由合作方或网友上传,本站不对文档的完整性、权威性及其观点立场正确性做任何保证或承诺!文档内容仅供研究参考,付费前请自行鉴别。
3、如文档内容存在违规,或者侵犯商业秘密、侵犯著作权等,请点击“违规举报”。

碎片内容

循环水中氯离子去除方法

wxg+ 关注
实名认证
内容提供者

该用户很懒,什么也没介绍

确认删除?
VIP
微信客服
  • 扫码咨询
会员Q群
  • 会员专属群点击这里加入QQ群
客服邮箱
回到顶部