电脑桌面
添加小米粒文库到电脑桌面
安装后可以在桌面快捷访问

2冲击反循环钻孔法施工工艺VIP免费

2冲击反循环钻孔法施工工艺_第1页
1/11
2冲击反循环钻孔法施工工艺_第2页
2/11
2冲击反循环钻孔法施工工艺_第3页
3/11
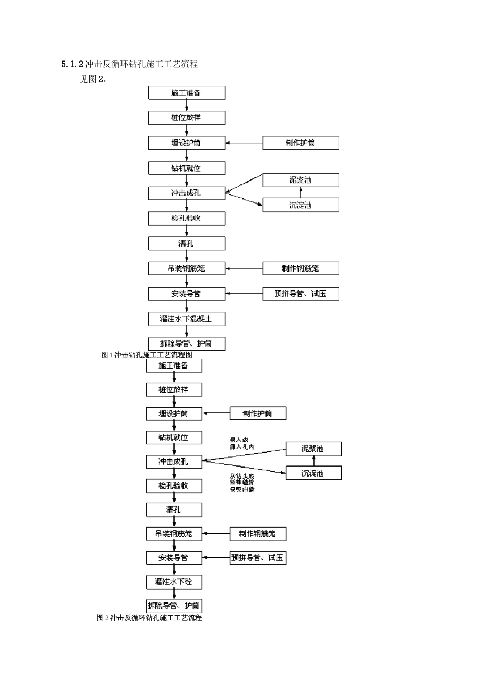
冲击反循环钻孔法施工工艺1前言随着国民经济的发展,铁路、公路的桥梁以及高层建筑的基础大多采用钻孔灌注桩基础,其成孔方法较多,而冲击钻孔法是常见的一种,因它能适应各种地层特别是冲击硬质岩层优势明显。近年来,使用冲击反循环钻孔法成孔速度大有提高,因而在复杂地质中的钻孔灌注桩基础大多优先选用冲击钻孔法来解决施工中的疑难问题。2工艺特点(1)设备简单,操作方便。(2)可以采用反循环冲击成孔提高效率。(3)可以穿过漂石、卵石、砾石等地层。(4)对处理复杂地层中的基础有显著的优点。(5)它可直接投入粘土块入孔自行造浆。3适用范围冲击钻孔法适用于孔径100cm〜300cm,钻孔深度50m。冲击钻机适用于所有土层,采用实心锤钻进时,在漂、卵石和基岩中显得比其他方法优越。4机械性能及参数见表1。表1常用冲击钻机技术性能表钻孔类型卷筒负荷(kN)钻头最大重量(t)冲程(m)冲击频率(次/min-1)电动机功率(k)钻机质量(t)YKC22201.30.35~1.040,45,50206.85YKC201510.45~1.040,45,50206.18YKC20-21210.3〜0.7656,58YKC302.51,0.&0.7,0.540,45,504011.15GID-150030.1〜1.00~303016CZ30302.50.5〜1.040,45,504013CZ22201.50.35〜1.040,45,50227CZ20201.540,45,50206.18CJF-202404.00.65,1.0,1.3536,4675冲击钻孔系统设备由冲击钻头、三脚立架、卷扬机组成。冲击钻机配有1〜5t重的冲击锥。国产的冲击钻机主要是CZ型的CZ-30、CZ-28、CZ-22等,另外还有YKC-31、YKC-30等型号。5钻孔施工5・1施工工艺流程5.1.1冲击钻孔施工工艺流程见图1。5.1.2冲击反循环钻孔施工工艺流程见图2。图1冲击钻孔施工工艺流程图图2冲击反循环钻孔施工工艺流程5・2施工工艺步骤5.2.1施工准备(1)平整场地(陆地)。平整场地应达到“三通一平”,以便钻机安装和移位;对于不利于施工机械运行的松散场地,应采取硬化、加固等措施。场地要采取有效的排水措施。根据施工图设计,合理选择和确定进出线路和钻孔顺序,制定场地布置方案。合理的安排泥浆池、沉淀池的位置,沉淀池的容积应满足2个孔以上排渣量的需要。(2)围堰筑岛(浅水)。对于浅水区域的桩基施工,可采用围堰筑岛方式施工,筑岛填料宜用粘土,岛面要有足够的施工场地,岛面标高应高出施工水位1.5〜2.0m。(3)平台施工(深水)。对于场地为深水时,可采用钢管桩施工平台、双壁钢围堰平台等固定式平台,也可采用浮式施工平台。(4)测量定位。桩位放样后,应埋设好护桩,并做好测量交底,随时进行检查。(5)制作埋设护筒。护筒一般用4〜8mm厚的钢板加工制成,高度为1500〜2000mm。钻孔桩的护筒内径应比钻头直径大200〜400mm。护筒顶部应高出地面250〜350mm。护筒顶高程,采用反循环时应高出地下水位2.0m。护筒位置要根据设计桩位,按纵横轴线中心埋设。埋设护筒的坑不要太大。坑挖好后,将坑底整平,然后放入护筒,经检查位置正确,筒身竖直后,四周即用黏土回填,分层夯实,并随填随观察,防止填土时使护筒位置偏移。护筒埋好后应复核校正,护筒中心与桩位中心应重合,偏差不得大于50mm。护筒的埋设深度:在黏土中不宜小于lm;在砂土中不宜小于1.5m,并保持孔内泥浆液面高于地下水位lm以上。(6)钻机就位安装。钻孔机就位时,必须保持平稳,不发生倾斜、位移,其下部要用方木垫平,塞牢。桅杆顶端用钢丝绳对称拉紧。为准确控制钻孔深度,应在机架上或机座上作出控制的标尺,以便在施工中进行观测、记录。冲击反循环钻孔采用液压起塔、液压步履纵、横移位安装就位。(7)泥浆制备及指标控制。泥浆必须具备的性质:物理稳定性,静置相当时间其性质不变化,不因重力而沉淀。化学稳定性,不因水泥、海水等异物混入而污染。适当的比重。比重大对护壁、浮渣有利,但比重太大会使泵的能力不足也影响钻进速度。良好的触变性。要求泥浆在流动时,阻力很小,以便泵送。当停止钻孔时,泥浆能很快凝聚成凝胶状,避免浆中砂粒迅速下沉,同时也维持孔壁稳定。形成薄而韧的泥皮,黏附于孔壁上,不透水,不坍塌。能够容易从沉淀池,旋转器中分离出来。不产生过多气泡。泥浆性能指标见表2。表2泥浆性能指标表钻孔方法地层情况泥浆性能指标要求相对密度黏度(s)...

1、当您付费下载文档后,您只拥有了使用权限,并不意味着购买了版权,文档只能用于自身使用,不得用于其他商业用途(如 [转卖]进行直接盈利或[编辑后售卖]进行间接盈利)。
2、本站所有内容均由合作方或网友上传,本站不对文档的完整性、权威性及其观点立场正确性做任何保证或承诺!文档内容仅供研究参考,付费前请自行鉴别。
3、如文档内容存在违规,或者侵犯商业秘密、侵犯著作权等,请点击“违规举报”。

碎片内容

2冲击反循环钻孔法施工工艺

您可能关注的文档

确认删除?
VIP
微信客服
  • 扫码咨询
会员Q群
  • 会员专属群点击这里加入QQ群
客服邮箱
回到顶部