电脑桌面
添加小米粒文库到电脑桌面
安装后可以在桌面快捷访问

楼梯设计规范(1)VIP免费

楼梯设计规范(1)_第1页
1/8
楼梯设计规范(1)_第2页
2/8
楼梯设计规范(1)_第3页
3/8
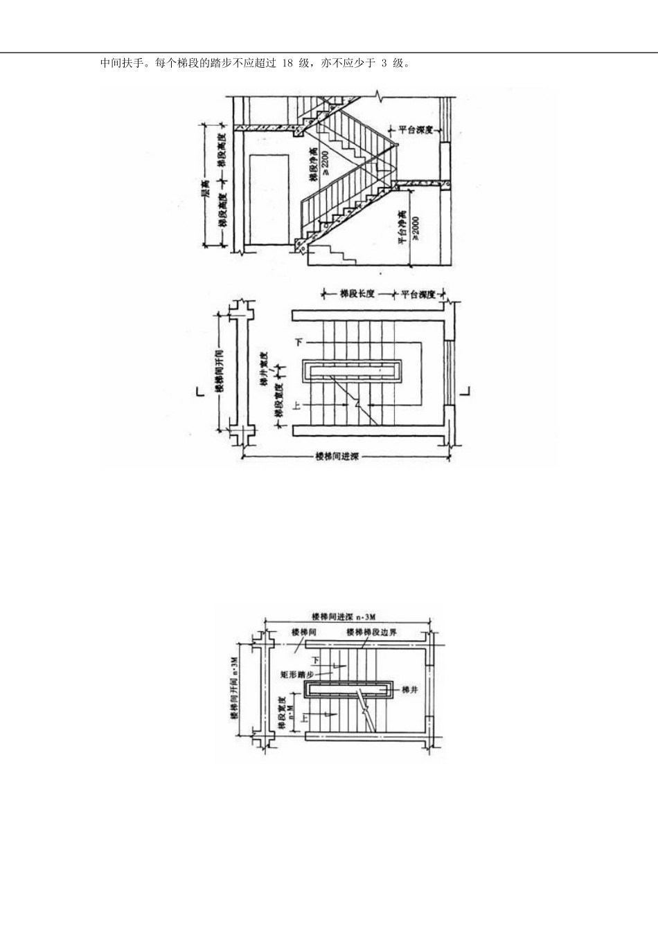
图2-5-3楼梯形式示意5.1.5楼梯的尺度楼梯涉及到梯段、踏步、平台、净空高度等多个尺寸,如图2-5-4所示。图2-5-4楼梯各部分尺度1.楼梯段的宽度楼梯段宽度是指墙面至扶手中心线或扶手中心线之间的水平距离,如图2-5-5所示。楼梯段的宽度除应符合防火规范的规定外,供日常主要交通用的楼梯的梯段宽度应根据建筑物使用特征,按每股人流宽为0.55+(0~0.15)m的人流股数确定,并不应少于两股人流。0~0.15m为人流在行进中人体的摆幅,公共建筑人流众多的场所应取上限值。图2-5-5楼梯间平面楼梯应至少于一侧设扶手,梯段净宽达三股人流时应两侧设扶手,达四股人流时宜加设中间扶手。每个梯段的踏步不应超过18级,亦不应少于3级。2.楼梯平台深度楼梯平台是连接楼地面与梯段端部的水平部分,有中间平台和楼层平台,平台深度不应小于楼梯梯段的宽度,并不应小于1.2m,当有搬运大型物件需要时应适当加宽。但直跑楼梯的中间平台深度以及通向走廊的开敞式楼梯楼层平台深度,可不受此限制,如图2-5-6所示。图2-5-6楼梯平台深度3.楼梯的坡度与踏步尺寸楼梯的坡度是指梯段的坡度,即楼梯段的倾斜角度。如图2-5-7所示。它有两种表示方法,即角度法和比值法。用楼梯段与水平面的倾斜夹角来表示楼梯坡度的方法称为角度法;用楼梯段在垂直面上的投影高度与在水平面上的投影长度的比值来表示楼梯坡度的方法称为比值法。一般来说,楼梯的坡度越大,楼梯段的水平投影长度越短,楼梯占地面积就越小,越经济,但行走吃力;反之,楼梯的坡度越小,行走较舒适,但占地面积大,不经济。所以,在确定楼梯坡度时,应综合考虑使用和经济因素。一般楼梯的坡度范围在23°~45°,适宜的坡度为30°左右。坡度过小时(小于23°),可做成坡道;坡度过大时(大于45°),可做成爬梯。公共建筑的楼梯坡度较平缓,常用26°34′(正切为1/2)左右。住宅中的共用楼梯坡度可稍陡些,常用33°42′(正切为1/1.5)左右。图2-5-7楼梯间剖面楼梯坡度一般不宜超过38°,供少量人流通行的内部交通楼梯,坡度可适当加大。楼梯、坡道、爬梯的坡度范围如图2-5-8。图2-5-8楼梯、台阶和坡道坡度的适用范围楼梯的坡度取决于踏步的高度与宽度之比,因此必须选择合适的踏步尺寸以控制坡度。踏步高度与人们的步距有关,宽度则应与人脚长度相适应。确定和计算踏步尺寸的方法和公式有很多,通常采用两倍的踏步高度加踏步宽度等于一般人行走时的步距的经验公式确定,即:2h+b=600~620mm式中h一踏步高度,b一踏步宽度。600~620mm为一般人行走时的平均步距。楼梯类别最小宽度最大高度住宅共用楼梯260175幼儿园、小学校等楼梯260150电影院、剧场、体育馆、商场、医院、旅馆和大中学校等楼梯280160其他建筑楼梯260170专用疏散楼梯250180服务楼梯、住宅套内楼梯220200度、楼梯的使用要求有关,很陡的楼梯,扶手的高度矮些,坡度平缓时高度可稍大。在30民用建筑中,楼梯踏步的最小宽度与最大高度的限制值,见表2-5-1。表2-5-1楼梯踏步最小宽度和最大高度(mm)对成年人而言,楼梯踏步高度以150mm左右较为舒适,不应高于175mm。踏步的宽度以300mm左右为宜,不应窄于250mm。当踏步宽度过大时,将导致梯段长度增加;而踏步宽度过窄时,会使人们行走时产生危险。在实际中经常采用出挑踏步面的方法,使得在梯段总长度不变情况下增长踏步面宽(如图2-5-9)。一般踏步的出挑长度为20~30mm。图2-5-9增加踏步宽度的方法4.楼梯栏杆扶手的高度楼梯栏杆扶手的高度,指踏步前沿至扶手顶面的垂直距离。楼梯扶手的高度与楼梯的坡o左右的坡度下常采用900mm;儿童使用的楼梯一般为600mm。对一般室内楼梯≥900mm,通常取l000mm。靠梯井一侧水平栏杆长度>500mm,其高度≥1000mm,室外楼梯栏杆高≥1050mm。高层建筑的栏杆高度应再适当提高,但不宜超过1200mm。5.楼梯的净空高度楼梯的净空高度包括楼梯段间的净高和平台上的净空高度。楼梯段间的净高是指梯段空间的最小高度,即下层梯段踏步前缘至其正上方梯段下表面的垂直距离,梯段间的净高与人体尺度、楼梯的坡度有关;平台过道处的净高是指平台过道地面至上部结构最低点(通常为平台梁)的垂直距离。在确定这...

1、当您付费下载文档后,您只拥有了使用权限,并不意味着购买了版权,文档只能用于自身使用,不得用于其他商业用途(如 [转卖]进行直接盈利或[编辑后售卖]进行间接盈利)。
2、本站所有内容均由合作方或网友上传,本站不对文档的完整性、权威性及其观点立场正确性做任何保证或承诺!文档内容仅供研究参考,付费前请自行鉴别。
3、如文档内容存在违规,或者侵犯商业秘密、侵犯著作权等,请点击“违规举报”。

碎片内容

楼梯设计规范(1)

您可能关注的文档

海纳百川+ 关注
实名认证
内容提供者

热爱教学事业,对互联网知识分享很感兴趣

确认删除?
VIP
微信客服
  • 扫码咨询
会员Q群
  • 会员专属群点击这里加入QQ群
客服邮箱
回到顶部