电脑桌面
添加小米粒文库到电脑桌面
安装后可以在桌面快捷访问

供应商评价流程VIP免费

供应商评价流程_第1页
1/2
供应商评价流程_第2页
2/2
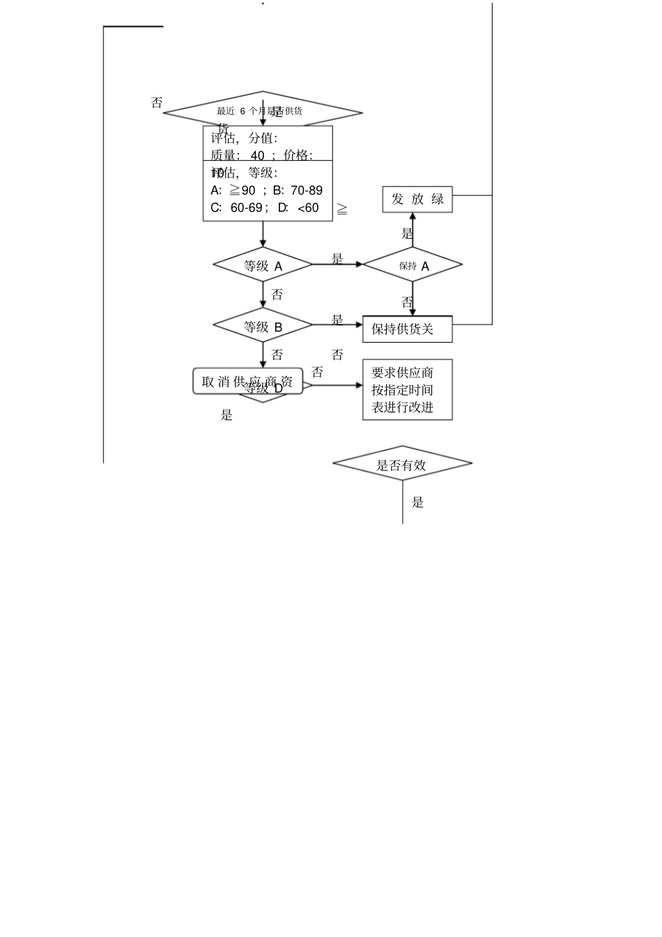
供应商评估流程1、所有供应商每季度进行一次阶段性评估并根据需要适时评红、黄、绿牌,具体评估要求根据供应商评估标准执行。2、所有批量采购均需在公司评估为合格(即C级以上)的供应商间选择。3、季度评估方式:序号评估内容评估部门最大评估分1质量质量部、生产部402价格采购部103交货采购部304服务质量部、生产部、采购部204、评估程序:1.每季度结束后,由各部门汇总上季度相关情况作为评估的原始依据。2.质量部、生产部、采购部等部门根据评估细则评出分数,填写至《供应商评估表》,经采购部汇总后归入相应等级,并根据评估结果更新《合格供应商名录》,淘汰出不合格供应商。每次更新应注明更新时间。3.评估结束后将评估结论通知供应商(供应商季度评估结论通知),并向重要材料供应商出具,《供应商质量表现报告单》,对需改进供应商要求其提出具体可行的改进措施,由采购部跟踪质量方面的改进以及其他方面的改进情况。4.若连续6个月无供货,则取消其合格供应商资格。如需恢复该供应商,应重新按新供应商评审程序进行。5.评估结果评估等级评估结果分值处理方式A优秀供应商≥90供应商日常保持B一般供应商70-89供应商正常改进C暂可接受供应商60-69限时积极改进D不合格供应商<60取消其供货资格供应商评估流程图合格供应商≧最近6个月是否供货货评估,分值:质量:40;价格:10评估,等级:A:≧90;B:70-89C:60-69;D:<60等级A等级B等级D是否保持A发放绿否是保持供货关是否是取消供应商资否要求供应商按指定时间表进行改进是否有效是否否是

1、当您付费下载文档后,您只拥有了使用权限,并不意味着购买了版权,文档只能用于自身使用,不得用于其他商业用途(如 [转卖]进行直接盈利或[编辑后售卖]进行间接盈利)。
2、本站所有内容均由合作方或网友上传,本站不对文档的完整性、权威性及其观点立场正确性做任何保证或承诺!文档内容仅供研究参考,付费前请自行鉴别。
3、如文档内容存在违规,或者侵犯商业秘密、侵犯著作权等,请点击“违规举报”。

碎片内容

供应商评价流程

您可能关注的文档

确认删除?
VIP
微信客服
  • 扫码咨询
会员Q群
  • 会员专属群点击这里加入QQ群
客服邮箱
回到顶部