电脑桌面
添加小米粒文库到电脑桌面
安装后可以在桌面快捷访问

电源基本拓扑结构VIP免费

电源基本拓扑结构_第1页
1/15
电源基本拓扑结构_第2页
2/15
电源基本拓扑结构_第3页
3/15
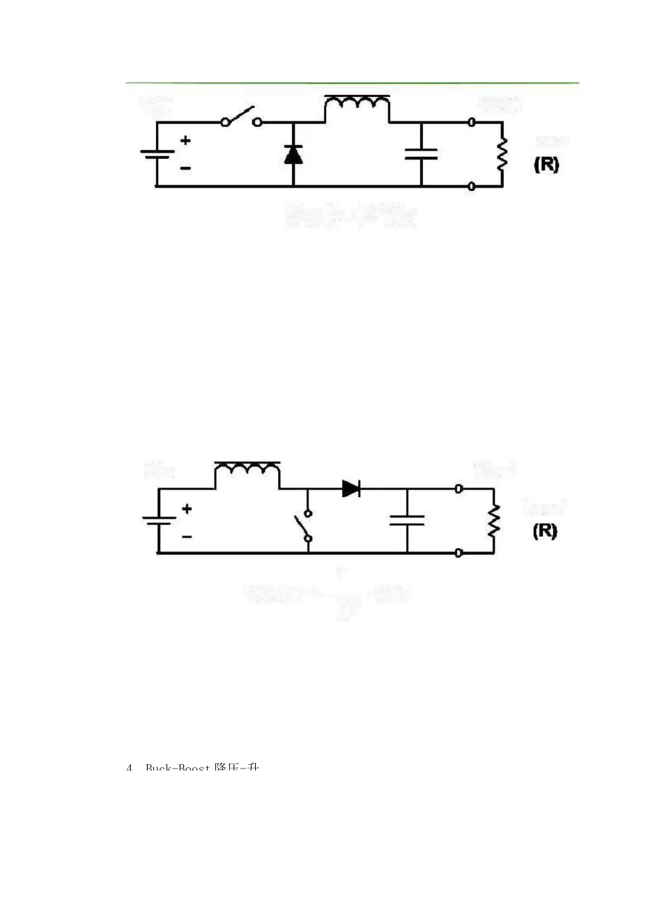
1、基本名词常见的基本拓扑结构■Buck降压■Boost升压■Buck-Boost降压-升压■Flyback反激■Forward正激■Two-TransistorForward双晶体管正激■Push-Pull推挽■HalfBridge半桥■FullBridge全桥■SEPIC■C'uk基本的脉冲宽度调制波形这些拓扑结构都与开关式电路有关。基本的脉冲宽度调制波形定义如下:2、Buck降压VinVinVout=-^Vin特点■把输入升至一个较高的电压。■与降压一样,但重新安排了电感、开关和二极管。■输出总是比大于或等于输入(忽略二极管的正向压降)。■输入电流平滑。特点■把输入降至一个较低的电压。■可能是最简单的电路。■电感/电容滤波器滤平开关后的方波。■输出总是小于或等于输入。■输入电流不连续(斩波)。■输出电流平滑。3、Boost升VoutLoaVout=DVinVoutLoa4、Buck-Boost降压-升Load(Rl特点■电感、开关和二极管的另一种安排方法。■结合了降压和升压电路的缺点。■输入电流不连续(斩波)。■输出电流也不连续(斩波)。■输出总是与输入反向(注意电容的极性),但是幅度可以小于或大于输入。■“反激”变换器实际是降压-升压电路隔离(变压器耦合)形式。5、Flyback反激DVout=VinnD'特点■如降压-升压电路一样工作,但是电感有两个绕组,而且同时作为变压器和电感。■输出可以为正或为负,由线圈和二极管的极性决定。■输出电压可以大于或小于输入电压,由变压器的匝数比决定。■这是隔离拓扑结构中最简单的■增加次级绕组和电路可以得到多个输出。6、Forward正激VinVoutLoa磁(R)特点■降压电路的变压器耦合形式。■不连续的输入电流,平滑的输出电流。■因为采用变压器,输出可以大于或小于输入,可以是任何极性。■增加次级绕组和电路可以获得多个输出。■在每个开关周期中必须对变压器磁芯去磁。常用的做法是增加一个与初级绕组匝数相同的绕组。■在开关接通阶段存储在初级电感中的能量,在开关断开阶段通过另外的绕组和二极管释放。7、Two-TransistorForward双晶体管正激VmaVout~——VinLo«d特点■两个开关同时工作。■开关断开时,存储在变压器中的能量使初级的极性反向,使二极管导通。■主要优点:■每个开关上的电压永远不会超过输入电压。■无需对绕组磁道复位。8、Push-Pull推挽特点■开关(FET)的驱动不同相,进行脉冲宽度调制(PWM)以调节输出电压。■良好的变压器磁芯利用率在两个半周期中都传输功率。■全波拓扑结构,所以输出纹波频率是变压器频率的两倍。■施加在FET上的电压是输入电压的两倍。9、Half-Bridge半桥特点■较高功率变换器极为常用的拓扑结构。■开关(FET)的驱动不同相,进行脉冲宽度调制(PWM)以调节输出电压。■良好的变压器磁芯利用率---在两个半周期中都传输功率。而且初级绕组的利用率优于推挽电路。■全波拓扑结构,所以输出纹波频率是变压器频率的两倍。■施加在FET上的电压与输入电压相等。10、Full-Bridge全桥VSn特点■较高功率变换器最为常用的拓扑结构。■开关(FET)以对角对的形式驱动,进行脉冲宽度调制(PWM)以调节输出电压。■良好的变压器磁芯利用率在两个半周期中都传输功率■全波拓扑结构,所以输出纹波频率是变压器频率的两倍。■施加在FETs上的电压与输入电压相等。■在给定的功率下,初级电流是半桥的一半。11、SEPIC单端初级电感变换器特点■输出电压可以大于或小于输入电压。■与升压电路一样,输入电流平滑,但是输出电流不连续。■能量通过电容从输入传输至输出。■需要两个电感。12>C'uk(SlobodanC'uk的专利)Vout=^-VinDf特点■输出反相■输出电压的幅度可以大于或小于输入。■输入电流和输出电流都是平滑的。■能量通过电容从输入传输至输出。■需要两个电感。■电感可以耦合获得零纹波电感电流。13、电路工作的细节下面讲解几种拓扑结构的工作细节■降压调整器:连续导电临界导电不连续导电■升压调整器(连续导电)■变压器工作■反激变压器■正激变压器14、Buck-降压调整器-连续导电time——”■电感电流连续。■Vout是其输入电压(V1)的均值。■输出电压为输入电压乘以开关的负荷比(D)。■接通时,电感电流从电池流出。■开关断开时电流流过二极管。■忽略开关和电感中...

1、当您付费下载文档后,您只拥有了使用权限,并不意味着购买了版权,文档只能用于自身使用,不得用于其他商业用途(如 [转卖]进行直接盈利或[编辑后售卖]进行间接盈利)。
2、本站所有内容均由合作方或网友上传,本站不对文档的完整性、权威性及其观点立场正确性做任何保证或承诺!文档内容仅供研究参考,付费前请自行鉴别。
3、如文档内容存在违规,或者侵犯商业秘密、侵犯著作权等,请点击“违规举报”。

碎片内容

电源基本拓扑结构

wxg+ 关注
实名认证
内容提供者

该用户很懒,什么也没介绍

确认删除?
VIP
微信客服
  • 扫码咨询
会员Q群
  • 会员专属群点击这里加入QQ群
客服邮箱
回到顶部