电脑桌面
添加小米粒文库到电脑桌面
安装后可以在桌面快捷访问

强弱电改造工程施工方案与工艺VIP免费

强弱电改造工程施工方案与工艺_第1页
1/6
强弱电改造工程施工方案与工艺_第2页
2/6
强弱电改造工程施工方案与工艺_第3页
3/6
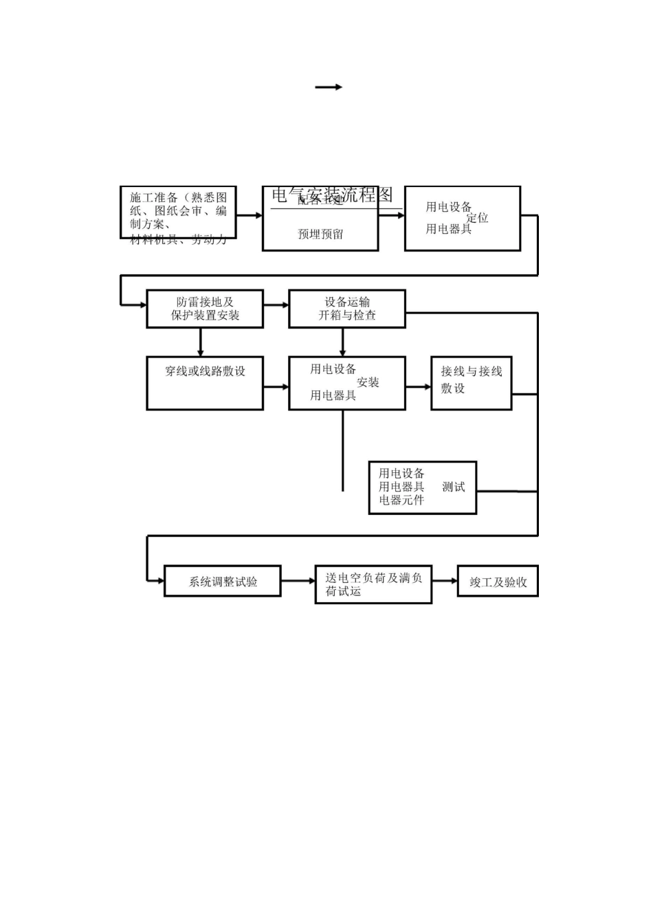
强弱电改造工程施工方案与工艺1.1配管配线1、按照设计要求密切和土建配合进行施工,找准设备设施座标标高,对管道敷设走向放线,协调与其它安装分部的配合,保证和安装工程顺利进行。2、按规范要求,凡直线段管长超过30m,或者管长超过20m有一个弯,管长超过15m有两个弯,管长超过8m有三个弯时,给穿线造成困难的地方,采用加大一级管径的措施。3、按照工艺操作规程进行配管、转弯、接头连接和进箱连接管口接线盒、灯头盒、开关盒等处,采取管堵帽、金属管帽、泡沫塑料堵口等措施,分别对不同的管口、盒口进行保护性堵塞以防止杂物掉入线管。特别是二装接头4、线管过变形缝的措施依照标准图做法处理。5、管线配合后,隐蔽前要组织对照图纸的验收检查,确保配合无误。6、凡需要按剔槽配合处理的地方,应先划线定位,再剔槽。剔槽工艺必须在土建外抹前进行。7、穿线前,用空压机吹扫管内杂物,并安上管护口保护。8、注意线路色标和线路编号要求,用规定的色标分别为相线A、B、C对应黄、绿、红色塑料线。工作零线用蓝色,保护零线用花色或黑色线,双回路电源要保证相序准确。9、穿线和接线结束,应用500V摇表检查线路绝缘并严格记录。绝缘电阻不得小于0・5MQ10、穿线严格按照工艺规程进行。不得损伤绝缘层和线路有扭结。1・2格栅灯安装1、灯具安装在土建装饰完成后进行,根据不同场所的要求和可能分别采用预埋件固定,膨胀螺栓固定。灯具及支架牢固端正、位置正确。2、灯具安装应有与装修线条、花饰吻合、协调、感观美观。嵌入式灯具应固定在专设的框架上,边缘应紧贴顶棚面;矩形灯具的边缘应与顶棚面的装饰线平行,对称安装时,其中心轴线应相互平行。3、接线连接应紧密,灯具表面清洁,内外干净明亮、吊杆垂直、双链平行。4、暗插座、暗开关的盖板应紧贴墙面,四周无缝隙。5、灯具安装前对系统进行绝缘测试和检查,灯具安装后进行通电试验。1.3开关安装1操作工艺工艺流程:清理f接线f安装1.1清理用錾子轻轻地将盒子内残存的灰块剔掉,同时将其它杂物一并清出盒外,再用湿布将盒内灰尘擦净。1.2线(1)一般接线规定A开关接线:(a)同一场所的开关切断位置应一致,且操作灵活,接点接触可靠;(b)电器、灯具的相线应经开关控制B插座接线:(a)单相两孔插座有横装和竖装两种。横装时,面对插座的上极接相线,下极接零线。(b)单相三孔及三相四孔的接地或接零线均应在上方。(c)交、直流或不同电压的插座安装在同一场所时,应有明显区别,且其插头与插座配套,均不能互相代用。(2)安装开关准备。先将盒内甩出的导线留出维修长度,削出线芯,注意不要碰伤线芯。将导线按顺时针方向盘绕在开关,插座对应的接线柱上,然后旋紧压头。如果是独芯导线,也可将线芯直接插入接线孔内,再用顶丝将其压紧。注意线芯不得外露。1.3开关安装:A暗装开关:按接线要求,将盒内甩出的导线与开关的面板连接好,将开关或插座推入盒内(如果盒子较深,大于2.5cm时,应加装套盒),对正盒眼,用机螺丝固定牢固。固定时要使面板端正,并与墙面平齐。B明装开关:先将从盒内甩出的导线由塑料(木)台的出线孔中穿出,再将塑料(木)台紧贴于墙面用螺丝固定在盒子或木砖上,如果是明配线,木台上的隐线槽应先顺对导线方向,再用螺丝固定牢固。塑料(木)台固定后,将甩出的相线,地(零)线按各自的位置从开关的线孔中穿出,按接线要求将导线压牢。然后将开关或插座贴于塑料(木)台上,对中找正,用木螺丝固定牢。最后再把开关的盖板上好。1.4砖墙刨沟工程1、工艺流程施工准备f放样f人员机械就位f刨沟施工f验收。2、主要施工方法:⑴、施工前应先进行现场放样,并精确计算出各种沟槽的尺寸。⑵、按照各种沟槽尺寸的长度准确进行刨沟。⑶、选现场施工应该注意防尘污染。

1、当您付费下载文档后,您只拥有了使用权限,并不意味着购买了版权,文档只能用于自身使用,不得用于其他商业用途(如 [转卖]进行直接盈利或[编辑后售卖]进行间接盈利)。
2、本站所有内容均由合作方或网友上传,本站不对文档的完整性、权威性及其观点立场正确性做任何保证或承诺!文档内容仅供研究参考,付费前请自行鉴别。
3、如文档内容存在违规,或者侵犯商业秘密、侵犯著作权等,请点击“违规举报”。

碎片内容

强弱电改造工程施工方案与工艺

确认删除?
VIP
微信客服
  • 扫码咨询
会员Q群
  • 会员专属群点击这里加入QQ群
客服邮箱
回到顶部