电脑桌面
添加小米粒文库到电脑桌面
安装后可以在桌面快捷访问

医院科室固定物品管理制度VIP免费

医院科室固定物品管理制度_第1页
1/3
医院科室固定物品管理制度_第2页
2/3
医院科室固定物品管理制度_第3页
3/3
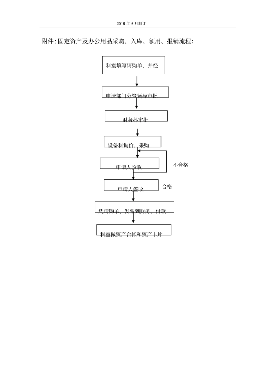
2016年6月制订感染科固定物品管理制度一、目的为加强办公用品和固定资产的管理,规范采购、领用、维修流程,严格控制行政费用开支。二、职责科主任、护士长负责办公用品和固定资产的管理、采购、维修和发放。超过一定金额的,按医院有关制度执行。三、办公用品的管理1、办公用品的分类:(1)消耗品:在使用后不保持实物形态的经营用的物品。(2)低值易耗品:在使用过程中保持实物形态不变的经营用的实物资产,但单位价值较低(低于1000元人民币),使用年限较短,不能作为固定资产的各种用具、设备。2、办公用品根据库存和日常使用情况,每周采购,采购计划经护士长审批,采购要做到品种齐全、品质优良、价格合理、库存适当。3、办公用品的采购应建立帐册,办理入库手续,入库时须有专人验收,对进库的物品的数量、质量、品种进行点验。4、库存办公用品存放必须按品种、规格、型号进行分类,库存要妥善保管,做好防潮、防盗工作。5、较贵重办公用品(指低值易耗品)须经科主任、护士长批准后才能领用。6、根据科室办公用品预算、办公用品领用控制在预算范围内。四、固定资产的管理1、固定资产的定义:使用期限超过一年,单位价值在人民币1000元以上并在使用过程中保持实物形态不变的经营用的实物资产确认为固定资产。2、固定资产分类无增值效应的资产管理人员有增值效应的资产管理人员桌椅,病床,电脑、打印机、文件柜、热水器护士长微量泵,监护仪、心电图机、空气消毒机、吸引器护士长和仪器设备管理员2016年6月制订3、固定资产购置根据科室预算购置,由科主任或护士长填写申购单后,经医院批准后,由医院设备科根据实际情况,负责采购或调整。预算外固定资产采购还必须经过医院的批准。4、科室和财务部应建立固定资产台帐。台帐一式两本,由科室和财务部分别保管。5、固定资产进行统一编号,并按科室制成卡片,由科室指定专人管理,资产变动时卡片上的记录也应随之更改。6、科室之间资产变动必须经得医院同意,由设备科负责统一协调,过后设备科在固定资产台帐上予以调整并知会财务部。7、固定资产的维修,若遇不能自行排除故障时,应立即通知设备科和分管部门派专人来处理。由设备科和分管部门负责同外界联系维修事宜。8、固定资产转出科室外部或出售、报废等涉及资产的变动的情形,由科主任或护士长按医院要求,履行医院有关手续后办理,并在固定资产台帐上注销,同时通知财务部。9、科室医务人员应妥善保管和正确使用科室的办公设备和设施,若因使用人的疏忽或不按规定程序操作而造成办公设备的损坏,由使用人承担相应的责任和维修费用。五、低值易耗品及固定资产的盘点及对帐管理:1、科室和财务部必须定期核对资产帐目,保证二帐相符。2、科室和财务部必须建立定期的资产盘点制度,保证帐实相符。3、盘点安排:每年度末进行固定资产盘点,并提供全部资产盘点清单,盘点结果做盘点报告。感染性疾病科2016年6月23日2016年6月制订附件:固定资产及办公用品采购、入库、领用、报销流程:不合格合格科室填写请购单,并经申请部门分管领导审批财务科审批设备科询价、采购申请人验收申请人签收凭请购单、发票到财务、付款科室做资产台帐和资产卡片

1、当您付费下载文档后,您只拥有了使用权限,并不意味着购买了版权,文档只能用于自身使用,不得用于其他商业用途(如 [转卖]进行直接盈利或[编辑后售卖]进行间接盈利)。
2、本站所有内容均由合作方或网友上传,本站不对文档的完整性、权威性及其观点立场正确性做任何保证或承诺!文档内容仅供研究参考,付费前请自行鉴别。
3、如文档内容存在违规,或者侵犯商业秘密、侵犯著作权等,请点击“违规举报”。

碎片内容

医院科室固定物品管理制度

文库当当响+ 关注
实名认证
内容提供者

该用户很懒,什么也没介绍

确认删除?
VIP
微信客服
  • 扫码咨询
会员Q群
  • 会员专属群点击这里加入QQ群
客服邮箱
回到顶部