电脑桌面
添加小米粒文库到电脑桌面
安装后可以在桌面快捷访问

半导体集成电路cmos试题教材VIP免费

半导体集成电路cmos试题教材_第1页
1/50
半导体集成电路cmos试题教材_第2页
2/50
半导体集成电路cmos试题教材_第3页
3/50
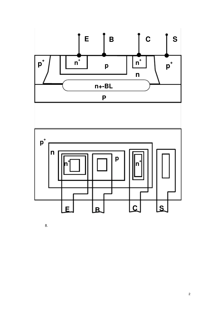
1第二部分参考答案第0章绪论1.通过一系列的加工工艺,将晶体管,二极管等有源器件和电阻,电容等无源元件,按一定电路互连。集成在一块半导体基片上。封装在一个外壳内,执行特定的电路或系统功能。2.小规模集成电路(SSI),中规模集成电路(MSI),大规模集成电路(VSI),超大规模集成电路(VLSI),特大规模集成电路(ULSI),巨大规模集成电路(GSI)3.双极型(BJT)集成电路,单极型(MOS)集成电路,Bi-CMOS型集成电路。4.数字集成电路,模拟集成电路,数模混合集成电路。5.集成电路中半导体器件的最小尺寸如MOSFET的最小沟道长度。是衡量集成电路加工和设计水平的重要标志。它的减小使得芯片集成度的直接提高。6.名词解释:集成度:一个芯片上容纳的晶体管的数目wafersize:指包含成千上百个芯片的大圆硅片的直径diesize:指没有封装的单个集成电路摩尔定律:集成电路的芯片的集成度三年每三年提四倍而加工尺寸缩小2倍。第1章集成电路的基本制造工艺1.减小集电极串联电阻,减小寄生PNP管的影响2.电阻率过大将增大集电极串联电阻,扩大饱和压降,若过小耐压低,结电容增大,且外延时下推大3.第一次光刻:N+隐埋层扩散孔光刻第二次光刻:P隔离扩散孔光刻第三次光刻:P型基区扩散孔光刻第四次光刻:N+发射区扩散孔光刻第五次光刻:引线孔光刻第六次光刻:反刻铝4.P阱光刻,光刻有源区,光刻多晶硅,P+区光刻,N+区光刻,光刻接触孔,光刻铝线5.NPN晶体管电流增益小,集电极串联电阻大,NPN管的C极只能接固定电位6.首先NPN具有较薄的基区,提高了其性能:N阱使得NPN管C极与衬底断开,可根据电路需要接任意电位。缺点:集电极串联电阻还是太大,影响其双极器件的驱动能力。改进方法在N阱里加隐埋层,使NPN管的集电极电阻减小。提高器件的抗闩锁效应。7.228.BECnn+p+Sn+-BLPp+n+pBECSpp+nn+n+3第2章集成电路中的晶体管及其寄生效应1.PNP管为四层三结晶体管的寄生晶体管,当NPN晶体管工作在正向工作区时,即NPN的发射极正偏,集电极反偏,那么寄生晶体管的发射极反偏所以它就截止,对电路没有影响。当NPN处于反向工作区时,寄生管子工作在正向工作区,它的影响不能忽略。当NPN工作在饱和区时寄生晶体管也工作在正向工作区,它减小了集电极电流,使反向NPN的发射极电流作为无用电流流向衬底。此时寄生效应也不能忽略2.在实际的集成晶体管中存在着点和存储效应和从晶体管有效基区晶体管要引出端之间的欧姆体电阻,他们会对晶体管的工作产生影响。3.MOS晶体管的有源寄生效应是指MOS集成电路中存在的一些不希望的寄生双极晶体管、场区寄生MOS管和寄生PNPN(闩锁效应),这些效应对MOS器件的工作稳定性产生极大的影响。4.在单阱工艺的MOS器件中(P阱为例),由于NMOS管源与衬底组成PN结,而PMOS管的源与衬底也构成一个PN结,两个PN结串联组成PNPN结构,即两个寄生三极管(NPN和PNP),一旦有因素使得寄生三极管有一个微弱导通,两者的正反馈使得电流积聚增加,产生自锁现象。4影响:产生自锁后,如果电源能提供足够大的电流,则由于电流过大,电路将被烧毁。5.版图设计时:为减小寄生电阻Rs和Rw,版图设计时采用双阱工艺、多增加电源和地接触孔数目,加粗电源线和地线,对接触进行合理规划布局,减小有害的电位梯度;工艺设计时:降低寄生三极管的电流放大倍数:以N阱CMOS为例,为降低两晶体管的放大倍数,有效提高抗自锁的能力,注意扩散浓度的控制。为减小寄生PNP管的寄生电阻Rs,可在高浓度硅上外延低浓度硅作为衬底,抑制自锁效应。工艺上采用深阱扩散增加基区宽度可以有效降低寄生NPN管的放大倍数;具体应用时:使用时尽量避免各种串扰的引入,注意输出电流不易过大。6.在第二次光刻生成有源区时,进行场氧生长前进行场区离子注入,提高寄生MOSFET的阈值电压,使其不易开启;增加场氧生长厚度,使寄生MOSFET的阈值电压绝对值升高,不容易开启。7.(1)增大基区宽度:由工艺决定;(2)使衬底可靠接地或电源。第3章集成电路中的无源元件1.双极性集成电路中最常用的电阻器是基区扩散电阻MOS集成电路中常用的电阻有多晶硅电阻和用MOS管形成的电阻。2.反偏PN结电容和MOS电容器。3.基区薄...

1、当您付费下载文档后,您只拥有了使用权限,并不意味着购买了版权,文档只能用于自身使用,不得用于其他商业用途(如 [转卖]进行直接盈利或[编辑后售卖]进行间接盈利)。
2、本站所有内容均由合作方或网友上传,本站不对文档的完整性、权威性及其观点立场正确性做任何保证或承诺!文档内容仅供研究参考,付费前请自行鉴别。
3、如文档内容存在违规,或者侵犯商业秘密、侵犯著作权等,请点击“违规举报”。

碎片内容

半导体集成电路cmos试题教材

您可能关注的文档

确认删除?
VIP
微信客服
  • 扫码咨询
会员Q群
  • 会员专属群点击这里加入QQ群
客服邮箱
回到顶部