电脑桌面
添加小米粒文库到电脑桌面
安装后可以在桌面快捷访问

高一地理 增效减负04 太阳对地球的影响学案-人教版高一全册地理学案VIP免费

高一地理 增效减负04 太阳对地球的影响学案-人教版高一全册地理学案_第1页
1/6
高一地理 增效减负04 太阳对地球的影响学案-人教版高一全册地理学案_第2页
2/6
高一地理 增效减负04 太阳对地球的影响学案-人教版高一全册地理学案_第3页
3/6
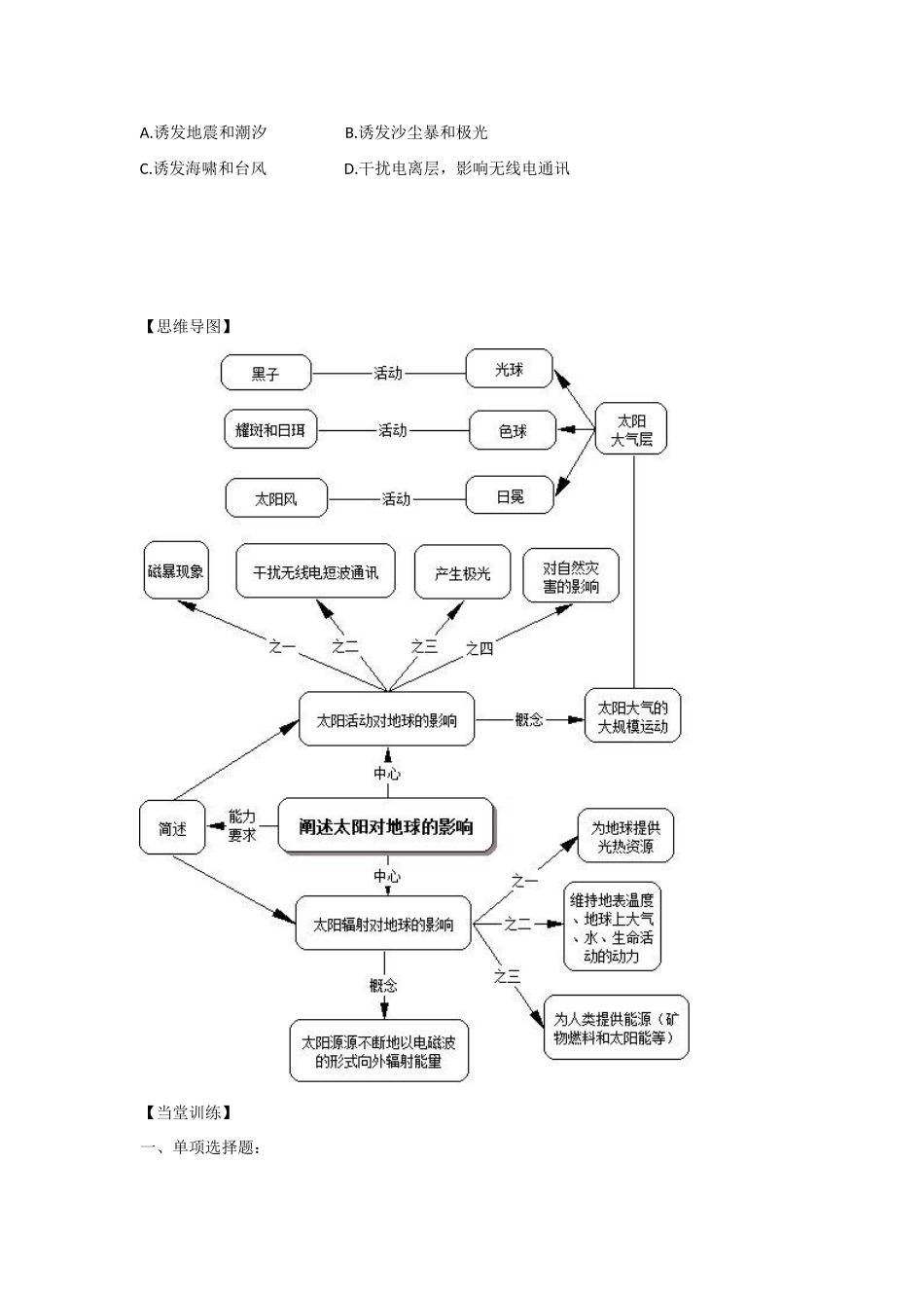
第二节太阳对地球的影响【目标导航】课程标准:理解太阳辐射对地球的影响。教学要求:了解太阳大气层的分层。运用图表资料,理解太阳活动(主要是黑子和耀斑)对地球的影响。【课堂互动】[知识点1]为地球提供能量〖问题探究〗1、什么叫太阳辐射?太阳的能量来源于哪里?对地球和人类有何影响?(1)太阳源源不断地以________的形式向四周放射能量,这种现象被称为太阳辐射。(2)太阳是一个巨大______的________,其来源于太阳内部的__________反应。(3)太阳对地球的人类的影响主要有:〖难点分解〗煤炭、石油、天然气等矿物燃料是地质历史时期生物固定以后积累下来的太阳能,水能、风能、波浪能等从根本上来说也是来自太阳辐射能。〖问题探究〗2、完成课本活动。[知识点1]太阳活动影响地球〖问题探究〗1、太阳的大气层从里向外分为几层?什么叫太阳活动?其主要标志有哪些?有何影响?(1)太阳大气层从里到外分为_________、_________和__________三层。(2)太阳______经常发生________的运动,称为太阳活动。最主要的________和________。〖比较分析〗列表比较太阳活动及其对地球的影响。太阳大气层特征太阳活动太阳活动的影响光球是肉眼可以观测到的太阳表面,呈______状_______,周期约___年1、地球上______通信受到影响,甚至出现中断现象;2、地球磁场出现“________”现象。3、两极地区出现_______。4、与地球上的自然灾害如地震、水旱灾害有关。色球位于光球_____部,呈______色,只有在________进或用特殊的________才能看到_________和日珥日冕是太阳大气的______层,只有在________时或用特殊的________才能看到太阳风〖问题探究〗2、完成课本活动。〖难点分解〗太阳活动是太阳大气层的运动而不是太阳本身的运动。磁暴是地球磁场受到干扰,罗盘指针剧烈颤动、不能正确指示方向的现象。【小试身手】单项选择题1.太阳能量来源于()A.核裂变反应B.核聚变反应C.其他恒星D.银河系中心2.下列地区中,使用太阳能热水器的效果最好的应该是()A.海南岛B.四川盆地C.青藏高原D.东北平原3.下列现象属于太阳活动对地球产生影响的是()A.地球两极地区出现极昼、极夜现象B.在地表作水平运动的物体发生偏向C.地面无线电短波通讯的短暂中断D.地表接受的太阳辐射能从低纬向高纬递减4.太阳活动可以()A.诱发地震和潮汐B.诱发沙尘暴和极光C.诱发海啸和台风D.干扰电离层,影响无线电通讯【思维导图】【当堂训练】一、单项选择题:1.有关人类对太阳辐射能的利用,正确的是()A.太阳能电站、太阳能热水器、太阳能汽车、太阳能电池等都是人类对太阳辐射的直接利用方式B.人类利用的煤、石油、水能、风能等都是地球自身存在(产生)的能源,与太阳辐射能无关C.人类开发利用的潮汐能是由太阳辐射产生的D.我国是利用太阳能较晚的国家之一2.太阳辐射的主要作用是()A.是维持地表温度,促进地球上水、大气、生物活动和变化的主要动力B.是产生磁暴现象的原动力C.人类生产和生活的能量不来自它D.是太阳内部核反应的能量来源3.关于太阳辐射能的叙述,正确的是()A.太阳辐射能来源于其内部的核聚变反应B.太阳辐射能绝大部分可以直接到达地表C.太阳辐射能在地表分布比较均匀D.太阳辐射能是促进地球上的水、大气变化,以及地壳运动的主要动力4.下列关于太阳大气的叙述,正确的是()A.我们能直接观测到的太阳,是太阳的光球层B.太阳大气稀薄,人们肉眼观测不到C.太阳大气从外向里分为光球、色球和日冕三层D.黑子就是太阳活动古书《五行志》记载:“汉成帝河平元年(公元前28年),三月已未,日出黄,有黑气,大如钱,居日中央。”据此回答5~7题。5.记载中所说的黑气指()A.耀斑B.X射线C.紫外线D.黑子6.这种现象发生在太阳的()A.光球层B.色球层C.日冕层D.内部7.发生这种现象的原因是()A.黑气区域是太阳表面的低温区域B.黑气区域温度比周围高C.黑气区域释放出大量偏黑色的气体D.黑气区域含有大量的水汽和尘埃。8.太阳活动对地球的影响表现有()A.扰乱地球上空的电离层,使地面的无线电短波通信受到影响,甚至中断B.使地球气候异常,从而产生“磁暴”现象C.在地球各地的夜空产生极光D.使地球高层大气高速散逸到星际空间9.“磁...

1、当您付费下载文档后,您只拥有了使用权限,并不意味着购买了版权,文档只能用于自身使用,不得用于其他商业用途(如 [转卖]进行直接盈利或[编辑后售卖]进行间接盈利)。
2、本站所有内容均由合作方或网友上传,本站不对文档的完整性、权威性及其观点立场正确性做任何保证或承诺!文档内容仅供研究参考,付费前请自行鉴别。
3、如文档内容存在违规,或者侵犯商业秘密、侵犯著作权等,请点击“违规举报”。

碎片内容

高一地理 增效减负04 太阳对地球的影响学案-人教版高一全册地理学案

您可能关注的文档

;绿洲书城+ 关注
实名认证
内容提供者

从事历史教学,热爱教育,高度负责。

确认删除?
VIP
微信客服
  • 扫码咨询
会员Q群
  • 会员专属群点击这里加入QQ群
客服邮箱
回到顶部