电脑桌面
添加小米粒文库到电脑桌面
安装后可以在桌面快捷访问

水利水电工程基础验收监理实施细则VIP免费

水利水电工程基础验收监理实施细则_第1页
1/7
水利水电工程基础验收监理实施细则_第2页
2/7
水利水电工程基础验收监理实施细则_第3页
3/7
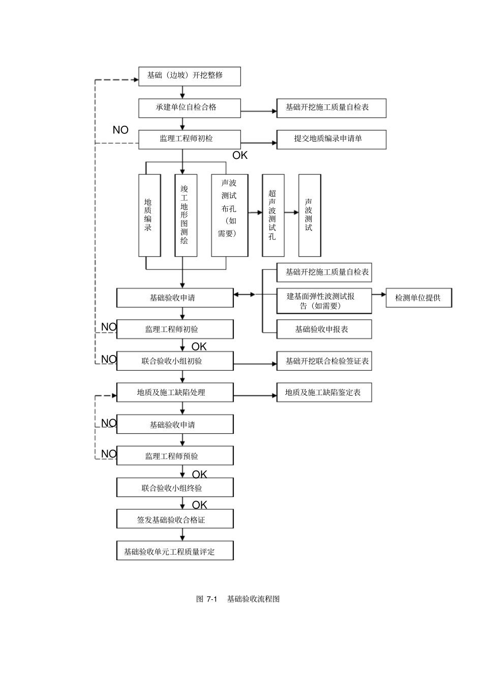
基础验收监理实施细则7.1总则(1)本细则编制依据:1)SL47-94《水工建筑物岩石基础开挖工程施工技术规范》。2)SDJ212-83《水工建筑物地下开挖工程施工技术规范》。3)SL52-93《水利水电工程施工测量规范》。4)SL288-2003《水利工程建设项目施工监理规范》。5)SL223-1999《水利水电建设工程验收规程》。6)SL176-1996《水利水电工程施工质量评定规程》(试行)。7)SDJ249.1-88《水利水电基本建设工程单元工程质量等级评定标准(一)》(试行)。8)施工合同文件,监理合同文件。9)设计图纸、技术要求及其他设计文件。(2)本细则适用于水利水电工程岩石基础工程的验收。(3)本细则所指的基础验收系指有关项目工程基础岩面覆盖前的基础交面验收。(4)基础验收应在基础岩面有关问题已进行全面处理,具备基础验收条件,并以承建单位“三检”合格的基础上申请验收,由监理单位组织业主、设计、地质和施工四方进行。(5)水利水电工程项目基础验收程序见图7-1。NOOKNONOOKNONOOKOK图7-1基础验收流程图基础(边坡)开挖整修承建单位自检合格监理工程师初检提交地质编录申请单基础开挖施工质量自检表地质编录竣工地形图测绘声波测试布孔(如需要)超声波测试孔声波测试基础验收申请监理工程师初验联合验收小组初验地质及施工缺陷处理基础验收申请监理工程师预验联合验收小组终验基础验收单元工程质量评定签发基础验收合格证基础开挖施工质量自检表建基面弹性波测试报告(如需要)基础验收申报表基础开挖联合检验签证表地质及施工缺陷鉴定表检测单位提供7.2基础验收准备(1)基础验收前的岩面处理应符合下列要求:1)基础按设计要求开挖完成后,对揭露的地质缺陷和存在的施工缺陷处理存在疑问需其他各方确定处理措施时,可及时向有关单位提出,要求有关单位进行现场勘察,确定其处理方案。2)基础岩面(地基、边坡)的陡坡及反坡处理需符合设计要求。3)开挖面突出的岩体应修成平滑状,边坡、马道及平台部位的危岩应及时进行清理,以保证下道工序施工的安全。4)对基础岩面(包括水平建基面和边坡)上,若出露光滑、平直的结构面,应予以凿毛处理。结构面上的泥土、锈斑、钙膜、破碎和松动的岩块以及不符合质量要求的岩等均必须清除或处理。5)基础开挖后其表面因爆破松动、表面呈薄片、尖角状的岩石、炮坑、炮窝松裂或经锤击发出空、哑声的松动岩块,应采用人工挖除、撬除或凿除。6)因层面、断层、裂隙等延伸切割造成的不稳定岩块,经确定不做锚固处理时,应予以清除。7)基础的整修及处理不得造成岩体的进一步破坏或损伤。8)基础整修后的轮廓限差应满足设计和有关规范的规定。(2)在基础岩面处理完成后,承建单位必须对开挖基础面的尺寸和岩体质量进行自检,并填写《岩石地基开挖单元工程质量自检表》、《岩石边坡开挖单元工程质量自检表》,在基础验收24小时前提交给监理机构。(3)建筑物基础开挖完成后,承建单位应按规范要求及时进行开挖竣工地形图的测量及导线、断面测量,检查是否存在欠挖或偏差。在欠挖处理完成后通知监理机构进行测量资料的检查,监理单位认为有必要时,可组织复测,直至无欠挖为止。经监理工程师认证的资料,方可作为基础验收资料。开挖竣工测量成图工作可安排在基础验收后完成,但草图应在验收前提供。(4)在建基面清理干净后,承建单位向地质部门提交经监理单位签证的《地质编录申请单》由地质部门进行地质编录,以便根据地质编录图和测量资料进行地质鉴定和地质缺陷处理。(5)为配合地质编录和基础验收,承建单位在地质编示前必须将桩号、高程标示在基础开挖面上,作为地质编录、基础验收的依据。(6)如需要进行声波测试和其他检测的部位,承建单位应及时进行造孔,造孔完成后通知测试单位进行测试,在测试完成后,其中间成果由测试单位及时提交监理机构作为基础验收资料。7.3基础验收程序(1)基础验收由监理机构组织业主、设计、地质及承建单位联合验收小组进行验收。基础验收分承建单位自检、联合验收小组初验和终验三个阶段进行,承建单位应负责执行各检查验收阶段提出的处理措施和要求。(2)基础验收准备工作完成后,承建单位向监理提交...

1、当您付费下载文档后,您只拥有了使用权限,并不意味着购买了版权,文档只能用于自身使用,不得用于其他商业用途(如 [转卖]进行直接盈利或[编辑后售卖]进行间接盈利)。
2、本站所有内容均由合作方或网友上传,本站不对文档的完整性、权威性及其观点立场正确性做任何保证或承诺!文档内容仅供研究参考,付费前请自行鉴别。
3、如文档内容存在违规,或者侵犯商业秘密、侵犯著作权等,请点击“违规举报”。

碎片内容

水利水电工程基础验收监理实施细则

确认删除?
VIP
微信客服
  • 扫码咨询
会员Q群
  • 会员专属群点击这里加入QQ群
客服邮箱
回到顶部