电脑桌面
添加小米粒文库到电脑桌面
安装后可以在桌面快捷访问

沼气池的构造原理(附设计图纸)VIP免费

沼气池的构造原理(附设计图纸)_第1页
1/13
沼气池的构造原理(附设计图纸)_第2页
2/13
沼气池的构造原理(附设计图纸)_第3页
3/13
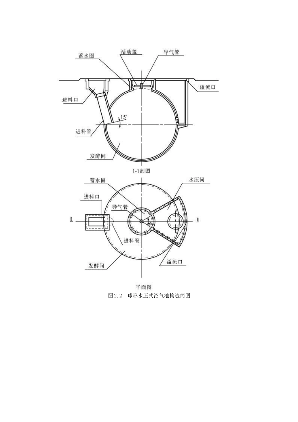
2沼气池的建造技术2.1沼气的基本知识2.1.1沼气及其产生过程沼气是有机物质在厌氧环境中,在一定的温度、湿度、酸碱度的条件下,通过微生物发酵作用,产生的一种可燃气体。由于这种气体最初是在沼泽、湖泊、池塘中发现的,所以人们叫它沼气。沼气含有多种气体,主要成分是甲烷(CH4)。沼气细菌分解有机物,产生沼气的过程,叫沼气发酵。根据沼气发酵过程中各类细菌的作用,沼气细菌可以分为两大类。第一类细菌叫做分解菌,它的作用是将复杂的有机物分解成简单的有机物和二氧化碳(CO2)等。它们当中有专门分解纤维素的,叫纤维分解菌;有专门分解蛋白质的,叫蛋白分解菌;有专门分解脂肪的,叫脂肪分解菌;第二类细菌叫含甲烷细菌,通常叫甲烷菌,它的作用是把简单的有机物及二氧化碳氧化或还原成甲烷。因此,有机物变成沼气的过程,就好比工厂里生产一种产品的两道工序:首先是分解细菌将粪便、秸秆、杂草等复杂的有机物加工成半成品——结构简单的化合物;再就是在甲烷细菌的作用下,将简单的化合物加工成产品——即生成甲烷。2.1.2沼气的成分沼气是一种混合气体,它的主要成分是甲烷,其次有二氧化碳、硫化氢(H2S)、氮及其他一些成分。沼气的组成中,可燃成分包括甲烷、硫化氢、一氧化碳和重烃等气体;不可燃成分包括二氧化碳、氮和氨等气体。在沼气成分中甲烷含量为55%~70%、二氧化碳含量为28%~44%、硫化氢平均含量为0.034%。2.1.3沼气的理化性质沼气是一种无色、有味、有毒、有臭的气体,它的主要成分甲烷在常温下是一种无色、无味、无臭、无毒的气体。甲烷分子式是CH4,是一个碳原子与四个氢原子所结合的简单碳氢化合物。甲烷对空气的重量比是0.54,比空气约轻一半。甲烷溶解度很少,在20℃、0.1千帕时,100单位体积的水,只能溶解3个单位体积的甲烷。甲烷是简单的有机化合物,是优质的气体燃料。燃烧时呈蓝色火焰,最高温度可达1?400?℃左右。纯甲烷每立方米发热量为36.8千焦。沼气每立方米的发热量约23.4千焦,相当于0.55千克柴油或0.8千克煤炭充分燃烧后放出的热量。从热效率分析,每立方米沼气所能利用的热量,相当于燃烧3.03千克煤所能利用的热量。2.2家用沼气池的类型随着我国沼气科学技术的发展和农村家用沼气的推广,根据当地使用要求和气温、地质等条件,家用沼气池有固定拱盖的水压式池、大揭盖水压式池、吊管式水压式池、曲流布料水压式池、顶返水水压式池、分离浮罩式池、半塑式池、全塑式池和罐式池。形式虽然多种多样,但是归总起来大体由水压式沼气池、浮罩式沼气池、半塑式沼气池和罐式沼气池四种基本类型变化形成的。与四位一体生态型大棚模式配套的沼气池一般为水压式沼气池,它又有几种不同形式。2.2.1固定拱盖水压式沼气池固定拱盖水压式沼气池有圆筒形(见图2.1)、球形(见图2.2)和椭球形(见图2.3)三种池型。这种池型的池体上部气室完全封闭,随着沼气的不断产生,沼气压力相应提高。这个不断增高的气压,迫使沼气池内的一部分料液进到与池体相通的水压间内,使得水压间内的液面升高。这样一来,水压间的液面跟沼气池体内的液面就产生了一个水位差,这个水位差就叫做“水压”(也就是U形管沼气压力表显示的数值)。用气时,沼气开关打开,沼气在水压下排出;当沼气减少时,水压间的料液又返回池体内,使得水位差不断下降,导致沼气压力也随之相应降低。这种利用部分料液来回串动,引起水压反复变化来贮存和排放沼气的池型,就称之为水压式沼气池。图2.18米3圆筒形水压式沼气池型(单位:毫米)图2.2球形水压式沼气池构造简图图2.3椭球形水压式沼气构造简图(单位:毫米)水压式沼气池,是我国推广最早、数量最多的池型,是在总结“三结合”、“圆、小、浅”、“活动盖”、“直管进料”、“中层出料”等群众建池的基础上,加以综合提高而形成的。“三结合”就是厕所、猪圈和沼气池连成一体,人畜粪便可以直接打扫到沼气池里进行发酵。“圆、小、浅”就是池体圆、体积小、埋深浅。“活动盖”就是沼气池顶加活动盖板。水压式沼气池型有以下几个优点:(1)池体结构受力性能良好,而且充分利用土壤的承载能力,所以省工省料,成本比较低。(2)适于...

1、当您付费下载文档后,您只拥有了使用权限,并不意味着购买了版权,文档只能用于自身使用,不得用于其他商业用途(如 [转卖]进行直接盈利或[编辑后售卖]进行间接盈利)。
2、本站所有内容均由合作方或网友上传,本站不对文档的完整性、权威性及其观点立场正确性做任何保证或承诺!文档内容仅供研究参考,付费前请自行鉴别。
3、如文档内容存在违规,或者侵犯商业秘密、侵犯著作权等,请点击“违规举报”。

碎片内容

沼气池的构造原理(附设计图纸)

确认删除?
VIP
微信客服
  • 扫码咨询
会员Q群
  • 会员专属群点击这里加入QQ群
客服邮箱
回到顶部