电脑桌面
添加小米粒文库到电脑桌面
安装后可以在桌面快捷访问

电镀生产线PLC控制VIP专享VIP免费

电镀生产线PLC控制_第1页
1/27
电镀生产线PLC控制_第2页
2/27
电镀生产线PLC控制_第3页
3/27
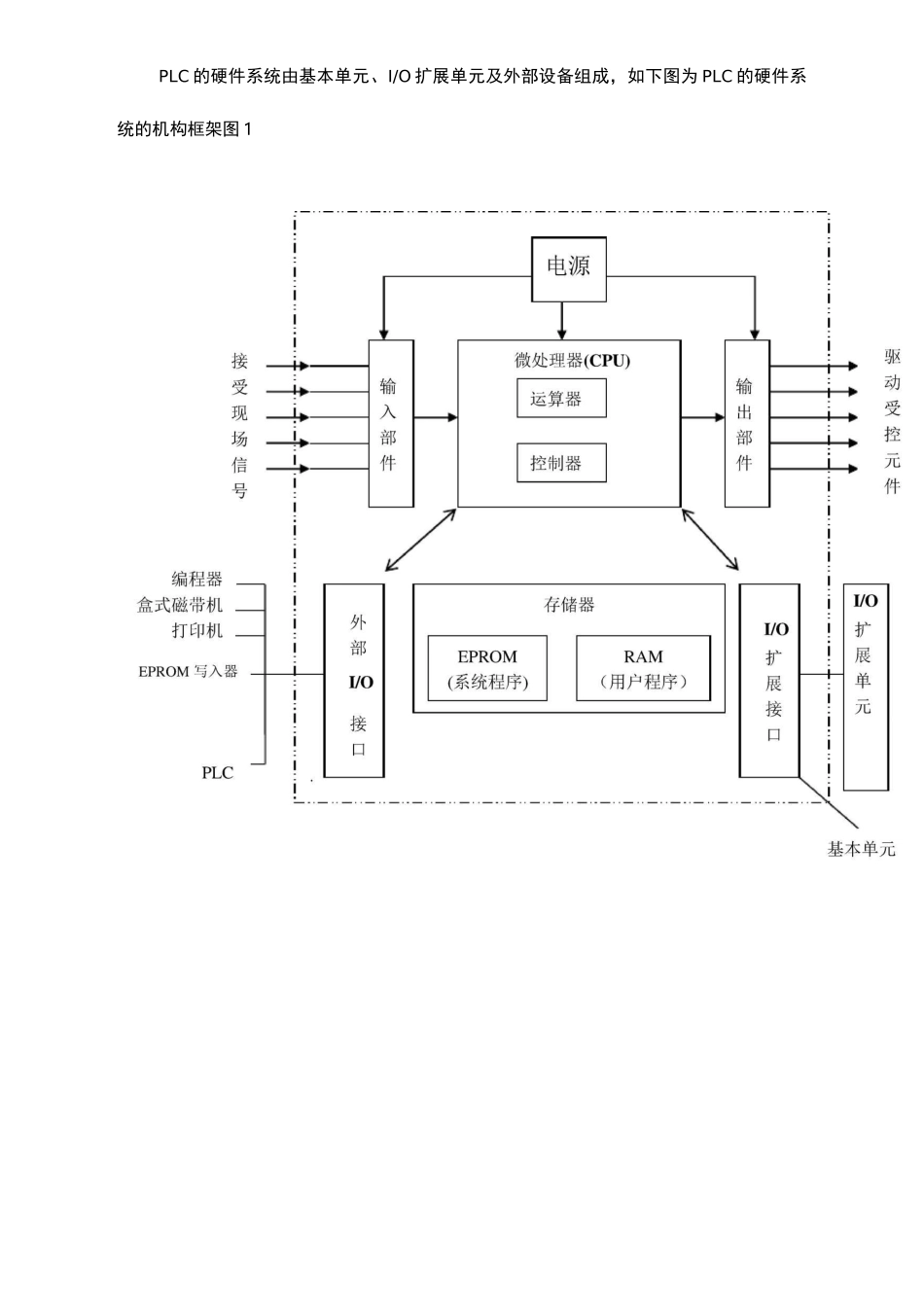
第一章引言1、设计目的和任务及内容1.1、设计目的综合运用本课程及前期课程的相关知识和技能,相对独立地设计和调试一个小型PLC应用系统,使学生获得控制技术工程的基本训练,提高工程意识和实践技能。同时提高学生对文献资料的检索和信息处理的能力,以及编写和整理设计文档的能力。1.2、设计任务熟悉工艺流程及生产设备的工作原理;根据控制要求,画出硬件电路图、PLC接线图及控制梯形图;利用编程软件编制程序,可先在计算机上进行仿真,然后在实验室完成调试;完成课程设计说明书。1.3、设计内容电镀生产线采用专用行车,行车架上装有可升降的吊钩。行车和吊钩各由一个电动机拖动。行车的进退和吊钩的升降均由相应的限位开关定位。假定该生产线有三个槽位。工艺要求:工件放入镀槽中,电镀280s后提起,停放28s,让镀液从工件上流回镀槽,然后放入回收液槽中浸30s,提起后停15s,接着放入清水槽中清洗30s。最后提起停15s后,行车返回原位,电镀一个工件的全过程结束。系统有自动和手动两种操作模式。第二章系统硬件设计2.1、系统硬件配置及组成原理2.1.1、电气控制线路的设计本自动线中的电动机控制线路,采用交流380/220V电源供电,电源开关采用刀开关与自动开关串连的组合形式,其中刀开关起隔离电源、安全检修的作用,自动开关起短路保护作用。电动机控制线路中各电机主电路接于380V电源,控制电路接于220V电源。各电机主电路采用接触器控制,并采用热继电器作过载保护,其中行车电机和吊钩电机采用电磁抱闸制动。因实际需要,吊钩电机采用转子串电阻起动。因此,电镀行车电动机的主电路、局部照明电路、向PLC负载供电的直流稳压电源。2.1.2、电动机的设计本文采用三相异步电动机控制作为行车和吊钩的动力单元。三相异步电动机具有结构简单,维护容易,运行可靠,价格便宜,具有较好的为太和动态特性的有点。2.1.3、PLC的选型PLC的选型在PLC的应用设计当中非常的重要,目前在国内外生产的PLC种类很多,在选用PLC时应考虑以下几点:首先规模要适当。输入、输出点数以及软件对PLC的功能及指令要求是选择PLC机型规模大小的重要依据。首先要有足够的输入、输出点数,并留有一定的裕量(百分之十的备用量)。如果只是为了实现单机自动化,或者机电一体化产品,可选用小型的PLCO如果控制系统较大,输入、输出点数较多,被控设备较分散的,可选用中型或大型的PLC。其次功能要相当,结构要合理。对于以开关量进行控制的系统,一般的低档机就能满足要求;对于以开关量控制为主,带少量模拟量控制的系统,应选用带A/D、D/A转换,加减运算,数据传送的低档机;对于控制比较复杂,控制性能较高的系统,应选用中档或高档机。根据以上对PLC的选型要进行的严格分析,再对照我们所设计的电镀生产线的控制系统的具体分析,我们所选用的控制系统是三菱公司的FX2N-32MR-001,CPU、电源、输入输出一体化机型,可以连接模拟量、定位、通讯、网络等各种特殊扩展设备。内置8K容量的RAM存储器,通过安装存储器卡盒,最大可扩展到16K容量。CPU处理速度0..08us/基本指令,I/O点数各为16点,便可以满足其控制要求,且有一定的裕量。2.1.4SPLC的控制功能PLC是一种一位处理器为核心的工业通用自动控制装置,其实质是一种工业控制用的专用计算机。因此它的组成以一般的微型计算机基本相同,也是有硬件系统和软件系统两大部分组成。PLC的硬件系统由基本单元、I/O扩展单元及外部设备组成,如下图为PLC的硬件系统的机构框架图1图1PLC的硬件系统结构框图1、微处理器(CPU)与通用计算机一样,CPU是PLC的核心部件,在PLC控制系统中的控制系统中的作用类似于人体的神经中枢,整个PLC工作过程都是在CPU的统一指挥下进行的。它的主要功能有以下几点:(1)接受从编程器输入的用户程序和数据,送入存储器存储;(2)用扫描方式接受输入设备的状态信号,并存入相应的数据区(输入映像寄存器);(3)监测和诊断电源,PLC内部电路工作状态和用户程序编程过程中的语法错误;(4)执行用户程序,完成各种数据的运算、传递和存储等功能;(5)根据数据处理的结果,刷新有关标志位的状态和输出状态寄存器表的内容,以实现输...

1、当您付费下载文档后,您只拥有了使用权限,并不意味着购买了版权,文档只能用于自身使用,不得用于其他商业用途(如 [转卖]进行直接盈利或[编辑后售卖]进行间接盈利)。
2、本站所有内容均由合作方或网友上传,本站不对文档的完整性、权威性及其观点立场正确性做任何保证或承诺!文档内容仅供研究参考,付费前请自行鉴别。
3、如文档内容存在违规,或者侵犯商业秘密、侵犯著作权等,请点击“违规举报”。

碎片内容

电镀生产线PLC控制

确认删除?
VIP
微信客服
  • 扫码咨询
会员Q群
  • 会员专属群点击这里加入QQ群
客服邮箱
回到顶部