电脑桌面
添加小米粒文库到电脑桌面
安装后可以在桌面快捷访问

保健品(胶囊剂)工艺规程VIP免费

保健品(胶囊剂)工艺规程_第1页
1/14
保健品(胶囊剂)工艺规程_第2页
2/14
保健品(胶囊剂)工艺规程_第3页
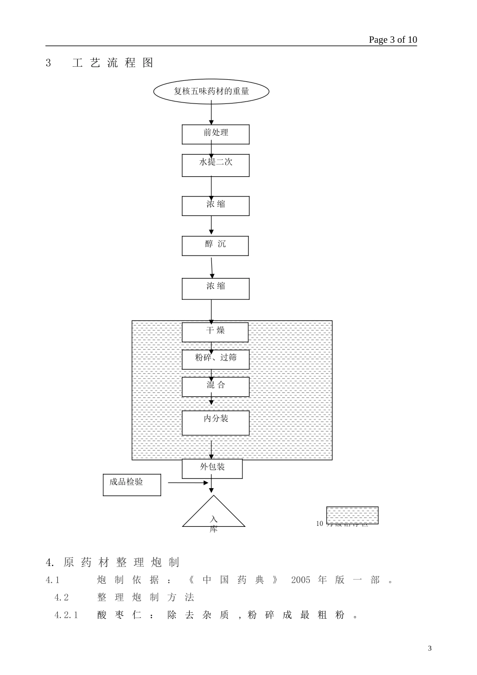
3/14
Page1of10宁神胶囊工艺规程类别:技术标准起草:日期:审核:日期:批准:日期:版本变更原因执行日期复审日期复审状况00新建分发部门目的范围职责目录1产品概述2处方和批准文号3工艺流程图4原药材的整理炮制5制剂操作过程及过程控制要求6原辅料质量标准和检验方法7中间产品质量要求和检验方法8成品质量标准和检验方法9包装材料和包装规格、质量标准10说明书、产品包装文字说明和标志11设备一览表及主要设备生产能力12物料平衡、收率的指标及计算公式1Page2of101产品概述1.1产品特点1.1.1性状本品为胶囊剂,内容物为黄棕色粉末,气微香,味苦。1.1.2功能与主治:具有改善睡眠功能。1.1.3用法与用量:每日1次,每次3粒,口服。1.1.4规格:每粒胶囊装0.35克。1.1.5有效期:二年1.2处方来源:2处方和批准文号2.1处方112547.0g192kg112113.5g96kg110973.5g96kg111722.1g58kg110442.1g58kg合计18.2g500kg制成胶囊5粒13.7万粒2.2批准文号:2Page3of103工艺流程图10万级洁净区4.原药材整理炮制4.1炮制依据:《中国药典》2005年版一部。4.2整理炮制方法4.2.1酸枣仁:除去杂质,粉碎成最粗粉。前处理醇沉干燥粉碎、过筛复核五味药材的重量混合内分装水提二次入库外包装浓缩浓缩成品检验3Page4of104.2.2桑椹:除去杂质。4.2.3合欢花:除去杂质。4.2.4五味子:除去杂质,用时捣碎。4.2.5柏子仁:除去杂质。5制剂操作过程及过程控制要求5.1称量配料工序:按照每批处方量称量各种药材备用。5.2提取、浓缩5.2.1提取:将已备好的五味药材称量复核,复核后的药材投入提取罐内,加6倍量的饮用水,浸泡2-3小时后,升温第一次煎煮,煎煮2小时后,放液,药液用300目滤布过滤;第二次加4倍量的水,煎煮1.5小时,放液,过滤,合并滤液,将滤液放入贮罐静置2-6小时,备用。5.2.2一次浓缩:将静置后的上清液减压浓缩,真空度为-0.060~-0.085Mpa,温度为60℃±5℃,浓缩至相对密度为1.10~1.15时(60℃±5℃测),收取浓缩液(1),备用。5.3醇沉、二次浓缩5.3.1醇沉:将浓缩液(1)打入醇沉罐中,加入95%的乙醇,使药液的乙醇浓度达到75%,要求一边加入乙醇一边不断搅拌,静置16-24小时,备用。5.3.2二次浓缩:将静置后的上清液,进行减压浓缩,回收乙醇,真空度为-0.060~-0.085MPa,温度60℃±5℃,浓缩至相对密度1.15~1.20时(60℃±5℃测),收取浓缩液(2),备用。5.4干燥取浓缩液(2)真空干燥(真空度不低于-0.08Mpa,温度第一阶段为60℃~80℃,第二阶段为50℃~70℃)至水分<4%,收料,所得干膏,备用。5.5粉碎、混合、过筛将干膏用粉碎机粉碎(80目筛),粉碎时要求加入与硬脂酸镁、微粉硅胶一起粉碎,得细粉在槽形混合机内混合15-20分钟,混合均匀后,4Page5of10过60目筛密封备用,同时送检,检验合格后分装,即得成品。要求室内RH≤35%,T:18-26℃。5.6胶囊填充及抛光5.6.1将混合工序的混合粉在全自动胶囊填充机上用1号胶囊进行填充,每粒胶囊填充0.35克药粉。(室内RH≤35%,T:18-26℃)5.6.2填充后的胶囊用抛光机抛光。5.6.3抛光后的胶囊用双层防潮袋密封保存,备用。5.7包装5.7.1内分装5.7.1.1复核药品的品名、批号、规格、重量;按批包装指令复核内包装材料质量和数量。5.7.1.2分装时做到批号准确、清晰、无误;装量准确。5.7.2外包装及入库5.7.2.1复核包装药品的品名、批号、规格、重量;根据批包装指令领取规定量的包装箱。5.7.2.2按批包装指令要求在包装上打印批号、生产日期、有效期。5.7.2.3将5.7.1.2项下合格的产品装入纸桶中,放入装箱单,并移至成品仓库,挂上待验标志牌,请验。经QA检验合格后封箱,打包,把待验标志牌换成合标志牌即可。5.7.2.4包装结束后,及时统计包装材料,做到领用数等于实用数,残损数,剩余数之和;印有批号的标签统计数量后由专人负责销毁,并做好销毁记录。5.8清场5.8.1每一工序操作完毕,按各工序“清场标准操作程序”规定进行清场并凭“清场合格证”为据,挂清场合格标示牌。5.8.2生产过程中各岗位具体操作详见各岗位SOP,并填写好生产记录;生产结束后进行清场,5Page6of10清场结果符合十万级洁净区清洁、清场标准操作规程或相应区域清洁、清场标准操作规程。5.9质量及卫生...

1、当您付费下载文档后,您只拥有了使用权限,并不意味着购买了版权,文档只能用于自身使用,不得用于其他商业用途(如 [转卖]进行直接盈利或[编辑后售卖]进行间接盈利)。
2、本站所有内容均由合作方或网友上传,本站不对文档的完整性、权威性及其观点立场正确性做任何保证或承诺!文档内容仅供研究参考,付费前请自行鉴别。
3、如文档内容存在违规,或者侵犯商业秘密、侵犯著作权等,请点击“违规举报”。

碎片内容

保健品(胶囊剂)工艺规程

您可能关注的文档

确认删除?
VIP
微信客服
  • 扫码咨询
会员Q群
  • 会员专属群点击这里加入QQ群
客服邮箱
回到顶部