电脑桌面
添加小米粒文库到电脑桌面
安装后可以在桌面快捷访问

会议策划方案模板-2VIP免费

会议策划方案模板-2_第1页
1/11
会议策划方案模板-2_第2页
2/11
会议策划方案模板-2_第3页
3/11
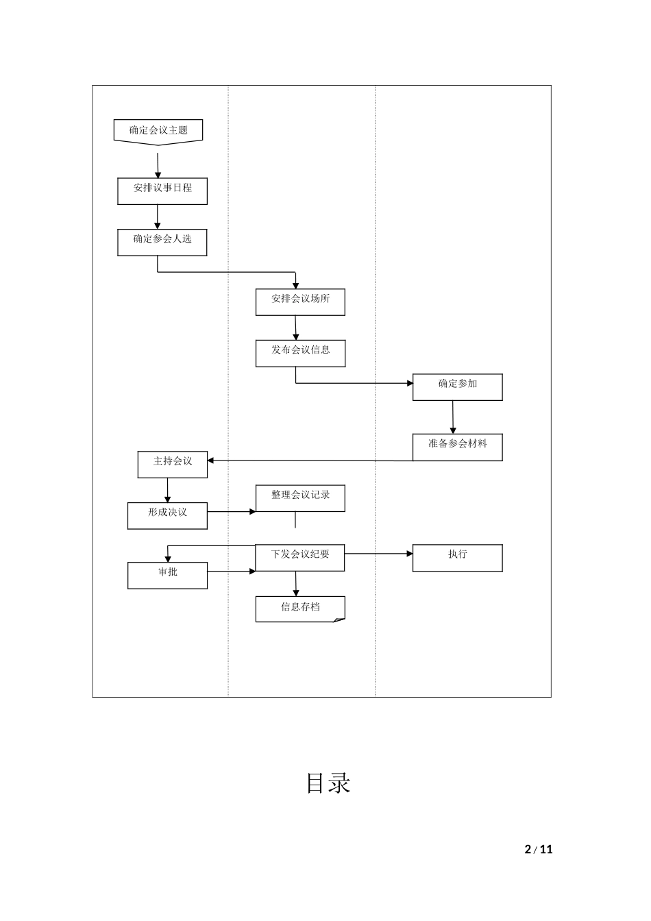
会议策划方案09级会展策划*班*组2010年*月*日会议组织流程图相关负责人综合部参会人员1/11目录2/11确定会议主题安排议事日程确定参加发布会议信息安排会议场所准备参会材料确定参会人选信息存档形成决议主持会议整理会议记录审批下发会议纪要执行前言一、会议主题……………………………3二、会议目的……………………………3三、会议时间……………………………5四、会议地点……………………………5五、会议组织……………………………5六、邀请嘉宾……………………………5七、参会人员……………………………5八、会议内容……………………………5九、日程与议程…………………………5十、会场布置……………………………5十一、组织与分工………………………5十二、筹备程序…………………………5十三、费用预算…………………………5十四、注意事项…………………………10十五、附录………………………………10********会议策划方案3/11前言7月28日是鑫源公司的厂庆日,每年的这一天鑫源公司都将开展一系列的活动。去年7月28日,鑫源公司隆重推出了鑫源等离子摩托车,在摩托车市场上刮起了一股鑫源等离子旋风,引起了摩托车行业不小的震动。一年来,鑫源等离子摩托虽然在市场上产生了一定的影响,但等离子摩托的销量却不甚理想。特别是2005年1—3月,等离子摩托的销量持续下降,到3月份达到最低的909辆。虽然4月份以后,公司采取了一些奖励政策,加之常规车型停产,等离子摩托的销量开始逐月回升,但仍未恢复到去年的最好水平,更无法达到支撑公司销量的水平。除了行业的大环境外,经销环节推等离子摩托的积极性不高,是重要原因。加之今年公司广宣政策的调整,上半年公司没有组织全国性的等离子摩托的推广活动,而各片区开展的活动也参差不齐,也是原因之一。当然产品线的问题、产品质量的问题也影响了等离子摩托销量的提升。为此,公司决定在下半年打出一系列组合拳,助推等离子摩托销量的提升。在产品上将进一步扩大等离子摩托的产品线,并开展等离子摩托的全面质量整顿,使等离子摩托的质量得到全面的提升,产生一个质的飞跃;在政策上将针对代理商和零售商出台一系列奖励政策;在推广上将组织开展1—2次全国性的等离子摩托的促销活动以及持续开展区域性的促销活动。并决定在7月28日拉开活动的序幕,打响攻坚战的第一枪。一、会议主题:冬天,让我们感动上帝——鑫源摩托2005年半年营销工作会议二、会议目的:1、通过分析行业形势,总结上半年的营销工作,找出工作得失,统一思想认识,明确下半年的工作方向;2、通过展示和推介鑫源等离子摩托新车型以及进行了全面质量整改的等离子摩托车型,使代理商对鑫源等离子摩托车的产品线和产品品质有一个新的认识,增强代理商销售等离子摩托车的信心和决心;3、通过宣布下半年等离子摩托车的相关政策和宣贯下半年等离子摩托的推广方案,提高代理商推广等离子摩托车的积极性,并了解和掌握推广等离子摩托车的方法和手段。三、会议时间2005年7月27日——7月29日四、会议地点4/11君临大酒店五、会议的组织主办单位承办单位协办单位支持单位六、邀请嘉宾七、参加人员:1、代理商总经理或操盘手:55人(含鑫源-大林代理商10人);2、代理商财务主管:20人;3、公司高层领导:15人;4、销售公司:20人(含事务所总经理);5、工作人员:10人;6、合计:120人。八、会议内容:(一)经销商会议1、董事长分析行业形势,提出鑫源公司下半年工作思路,并介绍销售公司新的领导班子(销售公司新的领导班子亮相);2、销售公司总经理作下半年营销工作规划,并宣布下半年销售政策(各种奖励政策);3、余波助理总结2005年上半年营销工作及下半年营销推广大纲(含广宣政策);4、缪文斌宣贯2005年鑫源-大林摩托上市营销方案5、温荣华宣贯2005年下半年等离子推广策划方案6、奚霞宣贯2005年下半年售后服务活动方案(含售后服务政策)5/117、分组讨论(二)等离子销售表彰及等离子产品订货会1、销售公司总经理宣布2004年8月—2005年7月等离子销售先进的表彰决定。2、董事长给先进颁奖3、张滨总工程师介绍等离子摩托车新车型和等离子摩托车全面质量...

1、当您付费下载文档后,您只拥有了使用权限,并不意味着购买了版权,文档只能用于自身使用,不得用于其他商业用途(如 [转卖]进行直接盈利或[编辑后售卖]进行间接盈利)。
2、本站所有内容均由合作方或网友上传,本站不对文档的完整性、权威性及其观点立场正确性做任何保证或承诺!文档内容仅供研究参考,付费前请自行鉴别。
3、如文档内容存在违规,或者侵犯商业秘密、侵犯著作权等,请点击“违规举报”。

碎片内容

会议策划方案模板-2

您可能关注的文档

确认删除?
VIP
微信客服
  • 扫码咨询
会员Q群
  • 会员专属群点击这里加入QQ群
客服邮箱
回到顶部