电脑桌面
添加小米粒文库到电脑桌面
安装后可以在桌面快捷访问

监理投资控制内容及控制措施VIP免费

监理投资控制内容及控制措施_第1页
1/7
监理投资控制内容及控制措施_第2页
2/7
监理投资控制内容及控制措施_第3页
3/7
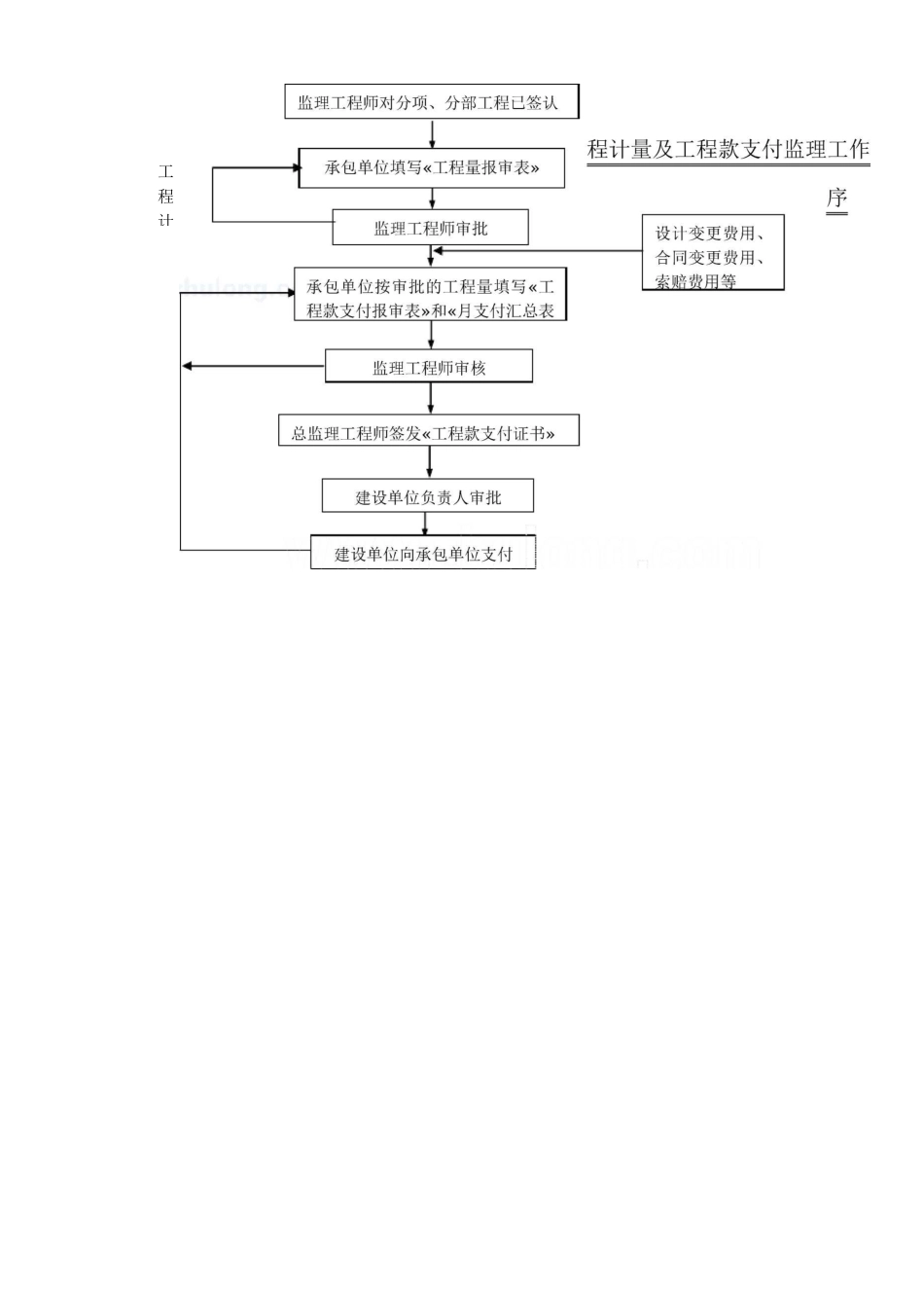
广州某酒店施工阶段就监理投资控制内容及控制措施1.1摘要本章分别阐明了监理项目施工阶段投资控制的内容、方法;并且针对本工程项目的特征和业主的要求,从施工过程前后控制等方面详细阐述了本监理项目具体投资控制措施。做到了目标明确,方法合理可行,措施具体。1・2投资控制的目标施工阶段投资控制的目标为:将本项目工程造价控制在施工承包合同中约定的合同价内。1.3投资控制的方法熟悉施工合同文件及监理合同文件,特别是熟悉有关监理工程师在计量与支付方面的职责与权力条款。熟悉设计图纸、工程地质报告、周边施工文件,对影响投资控制目标实现的风险进行分析。对易于引起投资失控的事件,如设计变更、工程签证等,严格按规定的程序进行处理。审核施工组织设计及增项工程的施工图预算。逐步分解投资总目标,亦即逐层进行项目分解。做到能分能合,便于查询,且分解的层次有可靠的数据来源,避免漏项和重复。每月编制投资控制报表,并注意对影响投资目标实现的长期和短期因素进行分析,及时采取控制措施。审核施工单位提出的工程进度款计划,每月上报业主。并将上月计划款与实际用款进行对比,及时了解项目的资金动向。审核材料购货单,及时了解材料价格的变动,审查材料、设备的质量和规格。审核施工单位编制的工程结算书,提出咨询意见。将设计概算、施工投标价和施工结算对比分析。检查、监督施工单位执行合同情况,使其全面履约定期、不定期地进行工程费用超支分析,并提出控制工程费用突破的方案和措施。1.4投资控制的措施1・4・1投资的事前控制采用“量价分离”的单位包干与部分项目“合价包干”的招标方式,使各施工投标单位根据自己的工资水平、员工素质、材料采购渠道、机械装备情况、管理水平自主报价,通过竞争中标,这样能非常有效地节约工程投资;预测工程风险及可能发生索赔的原因,制定防范对策;1.4.2投资的事中控制督促建设单位按合同规定,如期向承包单位支付工程进度款,做好外部协调、配合工作,及时答复承包单位提出的问题及配合要求,避免发生索赔事件;工程变更、设计修改要慎重,事前应进行技术经济分析,较大变更应报业主单位认可;及时地对已完合格工程进行计量签订,及时审核签发付款凭证,建立严格的签证制度。首先是专业监理工程师必须熟悉施工合同的内容,对于施工单位申报的签订内容,能正确判断其是否包含在合同包干价款内,然后才决定是否签证,以免重复计价。其次,在签证制度中规定施工单位申报签证时间及监理工程师受理的时间,以保证监理工程师能准确计量(如:隐蔽工程必须在隐蔽之前申报)。检查、监督承包商单位履约情况,防止发生违约事件;专业监理工程师要定期向总监理工程师报告投资的动态情况。1.4.3投资的事后控制审核承包单位提交的工程结算书,弄清各分部工程的最终价值;公正地处理承包单位提出的索赔。1.5投资控制程序1.5.1工程量计量程序工程计1.5.2施工阶段投资控制程序1・6节省投资的建议1.6.1把好施工管理关加强工程质量管理在施工中,返修工程越多工程费用就越多,必须实行现场管理责任制,搞好整体项目的单项工程、分部工程及隐蔽工程的检查监督和质量验收,及时发现和找出问题,解决问题,以保证工程质量。加强工程进度的管理拖延工期时间越长,管理费、人工费等各种费用支出越大。加强施工现场的组织协调,把大型和中小型机械、把机械化和半机械化结合起来,合理确定材料、机械、资金及劳动力等最佳组合方式,搞好物资的合理调运,就可避免不必要的重复工作,节省人力、物耗,降低成本。加强工程变更及现场签证管理,严格控制工程变更要控制成本,应做到不准随意变更巳经批准的图纸,不准随意提高设计标准,即使是必须进行的变更,也要按程序进行。在工程项目的实施过程中,由于多方面的情况变更会发生合同预算外的签证,此时必须严格对此予以控制;对承包商提出工程数量、单价和施工时间的变更签证,应分清责任,对合理的签证,及时地根据合同条款,变更通知及有关规定进行变更费用、工期审核,并将审核的结果报业主审定,同时及时调整工程造价,使业主掌握投资方向的信息。避免发生工程管理人员只管签证,不管算...

1、当您付费下载文档后,您只拥有了使用权限,并不意味着购买了版权,文档只能用于自身使用,不得用于其他商业用途(如 [转卖]进行直接盈利或[编辑后售卖]进行间接盈利)。
2、本站所有内容均由合作方或网友上传,本站不对文档的完整性、权威性及其观点立场正确性做任何保证或承诺!文档内容仅供研究参考,付费前请自行鉴别。
3、如文档内容存在违规,或者侵犯商业秘密、侵犯著作权等,请点击“违规举报”。

碎片内容

监理投资控制内容及控制措施

您可能关注的文档

确认删除?
VIP
微信客服
  • 扫码咨询
会员Q群
  • 会员专属群点击这里加入QQ群
客服邮箱
回到顶部