电脑桌面
添加小米粒文库到电脑桌面
安装后可以在桌面快捷访问

2025年预防艾滋病梅毒和乙肝母婴传播服务流程图VIP专享VIP免费

2025年预防艾滋病梅毒和乙肝母婴传播服务流程图_第1页
1/9
2025年预防艾滋病梅毒和乙肝母婴传播服务流程图_第2页
2/9
2025年预防艾滋病梅毒和乙肝母婴传播服务流程图_第3页
3/9
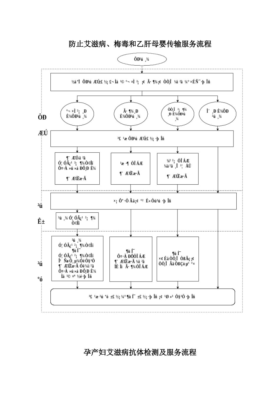
防止艾滋病、梅毒和乙肝母婴传输服务流程孕产妇艾滋病抗体检测及服务流程确认实验、CD4T淋巴细胞计数及病毒载量检测均在疾控中心进行。孕期每三个月和产后4-6周对孕产妇各进行一次CD4T淋巴细胞计数的检测,同时在发现孕产妇感染艾滋病时和孕晚期各进行一次病毒载量的检测。孕期末艾滋病抗体检测及服务流程(合用于孕期未接受HIV检测的产妇)艾滋病感染孕产妇所生小朋友艾滋病感染早期诊疗检测及服务流程艾滋病感染孕产妇所生小朋友艾滋病抗体检测及服务流程艾滋病感染产妇所生新生儿新生儿护理、应用抗病毒药品、对家长进行喂养指导、营养咨询等,定时随访、体格检查及生长发育监测出生后六周采集第一份血样本制备成滤纸片干血斑(DBS)将干血斑转运到性艾中心参比实验室进行早期诊疗阳性反映阴性反映尽快采集第二份血样本,送检婴儿满三个月,再次采集血样本,送检阳性反映呈阳性反映阳性反映阴性反映报告“HIV感染早期诊疗检测成果阳性”尽快再次采集血样本,送检阳性反映阴性反映报告“婴儿HIV感染早期诊疗检测成果阴性”诊疗小朋友HIV感染,提供转介服务,随访并监测病情按照未感染小朋友解决,继续提供小朋友保健及随访服务各级医疗保健机构应在艾滋病感染确诊孕产妇后、感染孕产妇分娩后及感染孕产妇所生小朋友满1、3、6、9、12和18月龄时分别进行随访,并上报个案卡,共8张个案卡孕产妇梅毒检测及服务流程梅毒阳性孕妇每月监测RPR1次,监测治疗效果梅毒感染孕产妇所生小朋友的随访与先天梅毒感染状态监测梅毒阳性孕产妇所生小朋友随访时间3、6、9、12、15、18月龄*非梅毒螺旋体实验涉及RPR、TRUST等办法#梅毒螺旋体实验涉及TPPA、TPHA及应用该原理的快速检测等办法孕产妇乙肝检测及服务流程乙肝母婴乙肝表面抗原或乙肝两对半化验(初次产检)阳性孕妇:1.监测肝脏功效2.治疗、营养支持、指导婴儿:1.出生后24小时内接种第一剂乙肝疫苗10微克2.满月接种第二剂乙肝疫苗10微克3.满6个月接种第三剂乙肝疫苗10微克4.出生6小时内注射(最少24小时内)乙肝免疫球蛋白100国际单位,越早效果越好

1、当您付费下载文档后,您只拥有了使用权限,并不意味着购买了版权,文档只能用于自身使用,不得用于其他商业用途(如 [转卖]进行直接盈利或[编辑后售卖]进行间接盈利)。
2、本站所有内容均由合作方或网友上传,本站不对文档的完整性、权威性及其观点立场正确性做任何保证或承诺!文档内容仅供研究参考,付费前请自行鉴别。
3、如文档内容存在违规,或者侵犯商业秘密、侵犯著作权等,请点击“违规举报”。

碎片内容

2025年预防艾滋病梅毒和乙肝母婴传播服务流程图

您可能关注的文档

确认删除?
VIP
微信客服
  • 扫码咨询
会员Q群
  • 会员专属群点击这里加入QQ群
客服邮箱
回到顶部