电脑桌面
添加小米粒文库到电脑桌面
安装后可以在桌面快捷访问

2025年基站开通流程图VIP免费

2025年基站开通流程图_第1页
1/3
2025年基站开通流程图_第2页
2/3
2025年基站开通流程图_第3页
3/3
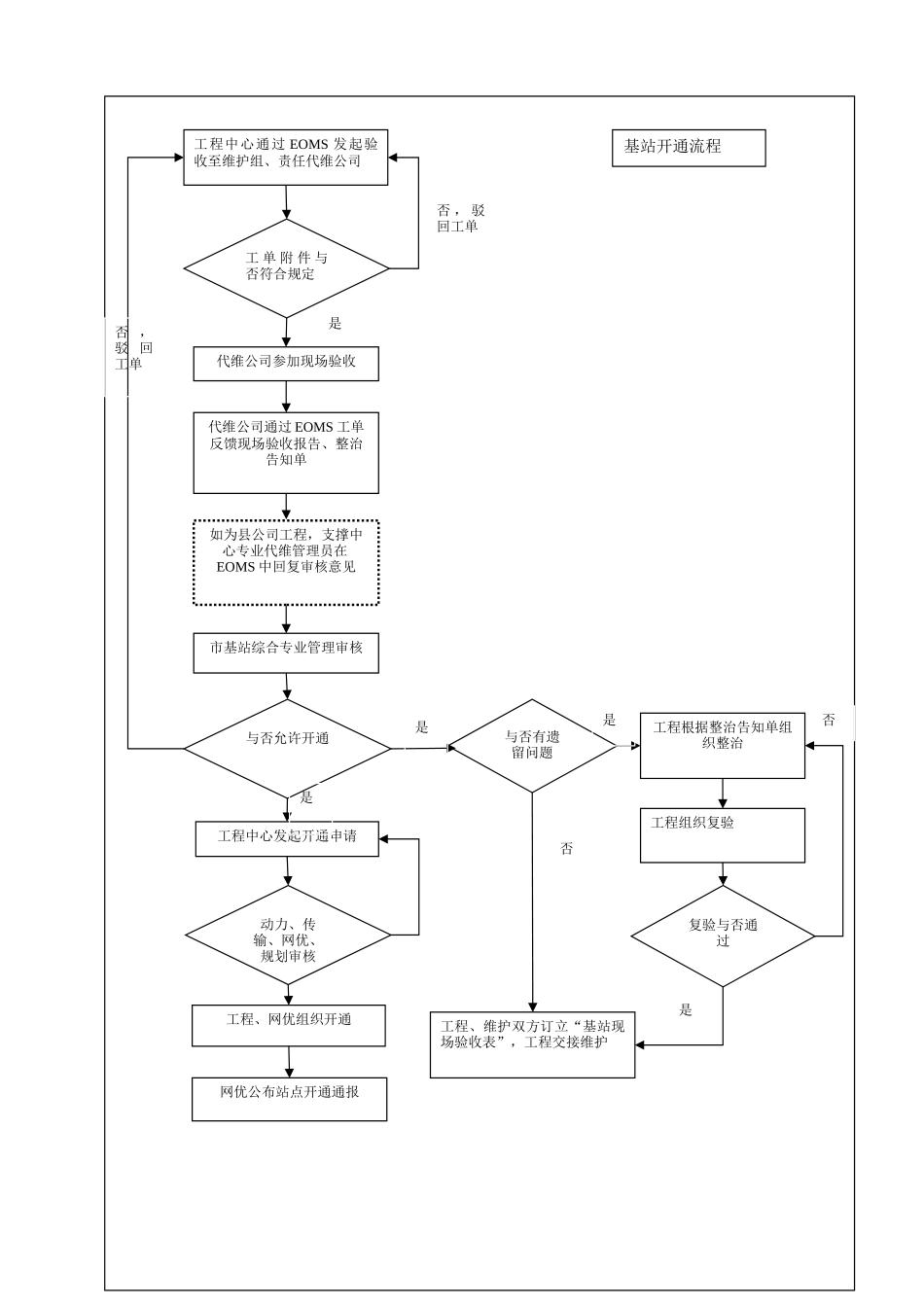
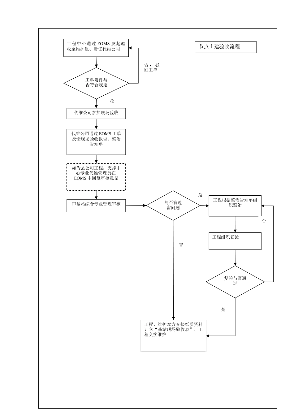
工程中心通过EOMS发起验收至维护组、责任代维公司工单附件与否符合规定NO与否有遗留问题网优公布站点开通通报工程、网优组织开通如为县公司工程,支撑中心专业代维管理员在EOMS中回复审核意见市基站综合专业管理审核与否允许开通代维公司参加现场验收工程根据整治告知单组织整治工程中心发起开通申请否,驳回工单否代维公司通过EOMS工单反馈现场验收报告、整治告知单动力、传输、网优、规划审核工程、维护双方订立“基站现场验收表”,工程交接维护是工程组织复验复验与否通过否是是基站开通流程否,驳回工单是是工程中心通过EOMS发起验收至维护组、责任代维公司工单附件与否符合规定NO与否有遗留问题如为县公司工程,支撑中心专业代维管理员在EOMS中回复审核意见市基站综合专业管理审核代维公司参加现场验收工程根据整治告知单组织整治否,驳回工单否代维公司通过EOMS工单反馈现场验收报告、整治告知单工程、维护双方交接纸质资料订立“基站现场验收表”,工程交接维护是工程组织复验复验与否通过否是是节点土建验收流程工程中心通过EOMS发起验收至维护组、代维公司、动力班审核工单附件与否符合规定NO与否有遗留问题如为县公司工程,支撑中心专业代维管理员在EOMS中回复审核意见市基站综合专业管理审核代维公司参加现场验收工程根据整治告知单组织整治否代维公司通过EOMS工单反馈现场验收报告、整治告知单工程、维护双方订立“基站现场验收表”,工程交接维护。传输组织开通是工程组织复验复验与否通过否是是工程凭传输维护、动力确认后设计文献进站施工动力配套配备,动环监控正常否否是节点设备工程验收流程

1、当您付费下载文档后,您只拥有了使用权限,并不意味着购买了版权,文档只能用于自身使用,不得用于其他商业用途(如 [转卖]进行直接盈利或[编辑后售卖]进行间接盈利)。
2、本站所有内容均由合作方或网友上传,本站不对文档的完整性、权威性及其观点立场正确性做任何保证或承诺!文档内容仅供研究参考,付费前请自行鉴别。
3、如文档内容存在违规,或者侵犯商业秘密、侵犯著作权等,请点击“违规举报”。

碎片内容

2025年基站开通流程图

静心书店+ 关注
实名认证
内容提供者

专注于各类考试试卷和真题。

确认删除?
VIP
微信客服
  • 扫码咨询
会员Q群
  • 会员专属群点击这里加入QQ群
客服邮箱
回到顶部