电脑桌面
添加小米粒文库到电脑桌面
安装后可以在桌面快捷访问

2025年护理缺陷处理程序及应急预案VIP免费

2025年护理缺陷处理程序及应急预案_第1页
1/2
2025年护理缺陷处理程序及应急预案_第2页
2/2
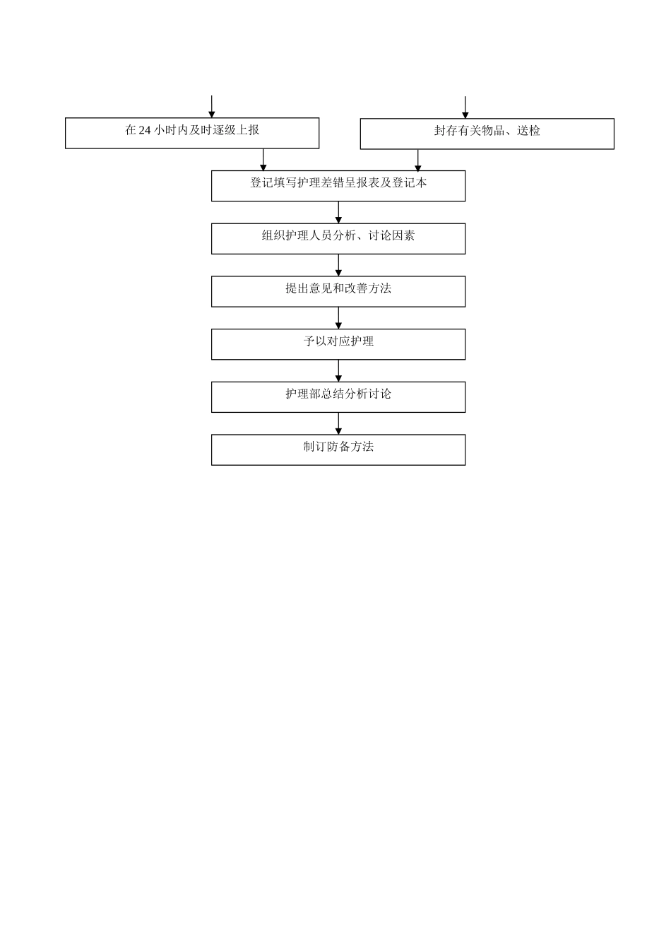
护理缺点解决程序及应急预案【应急预案】1.保护患者:亲密观察患者病情,立刻告知医生,及时纠正错误,尽量将错误的危害降到最小。2.逐级上报:在24小时内逐级上报。护理事故和严重差错应立刻报告。3.封存有关物品:输液器、注射器、残存药液、血液、药品等容器,并及时送检。4.登记填写《护理差错呈报表》、《护理差错登记本》,并将《护理差错呈报表》上报护理部。5.科室在一周内组织护理人员分析讨论差错发生因素并提出解决意见和改善方法。6.解决:根据差错的严重程度,分别予以口头批评、书面检讨、经济处分、质控扣分、停职反省、待岗等解决。护理部每月进行差错分析,并在护士长例会上进行通报,制订防备方法。【应急流程】出现护理差错后亲密观察患者病情变化及时纠正,将危害降到最小在24小时内及时逐级上报登记填写护理差错呈报表及登记本组织护理人员分析、讨论因素提出意见和改善方法予以对应护理护理部总结分析讨论封存有关物品、送检制订防备方法

1、当您付费下载文档后,您只拥有了使用权限,并不意味着购买了版权,文档只能用于自身使用,不得用于其他商业用途(如 [转卖]进行直接盈利或[编辑后售卖]进行间接盈利)。
2、本站所有内容均由合作方或网友上传,本站不对文档的完整性、权威性及其观点立场正确性做任何保证或承诺!文档内容仅供研究参考,付费前请自行鉴别。
3、如文档内容存在违规,或者侵犯商业秘密、侵犯著作权等,请点击“违规举报”。

碎片内容

2025年护理缺陷处理程序及应急预案

您可能关注的文档

确认删除?
VIP
微信客服
  • 扫码咨询
会员Q群
  • 会员专属群点击这里加入QQ群
客服邮箱
回到顶部