电脑桌面
添加小米粒文库到电脑桌面
安装后可以在桌面快捷访问

土地使用权证书流程图VIP免费

土地使用权证书流程图_第1页
1/6
土地使用权证书流程图_第2页
2/6
土地使用权证书流程图_第3页
3/6
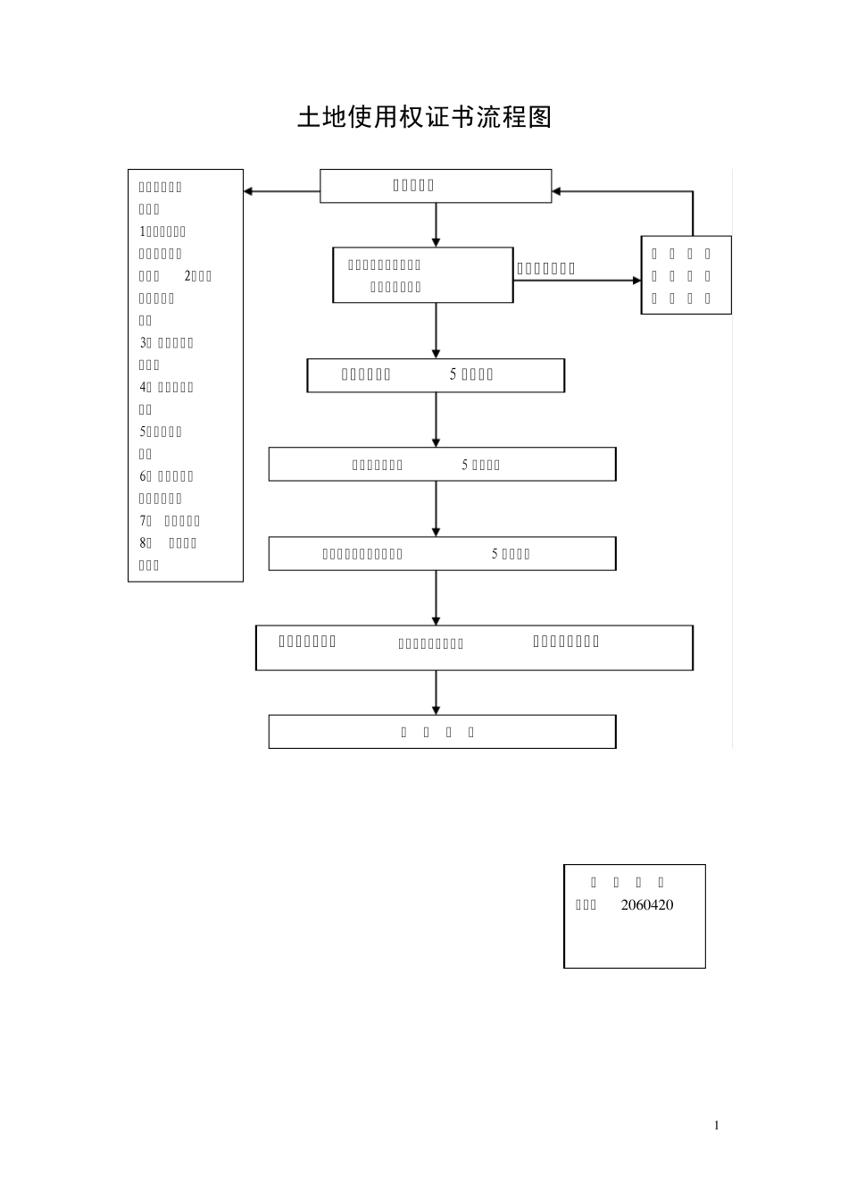
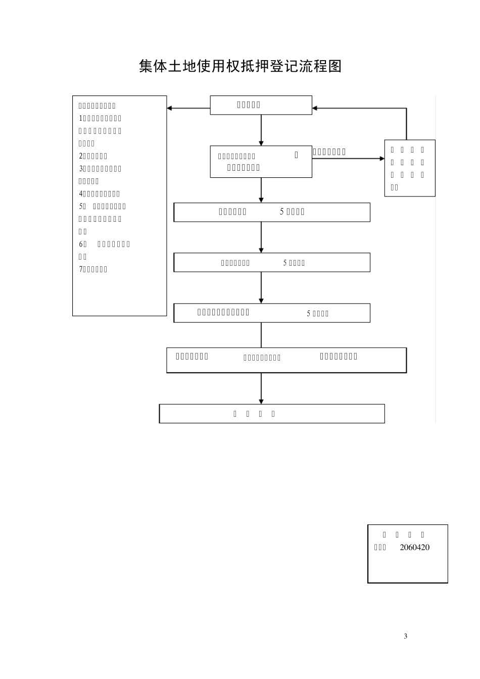
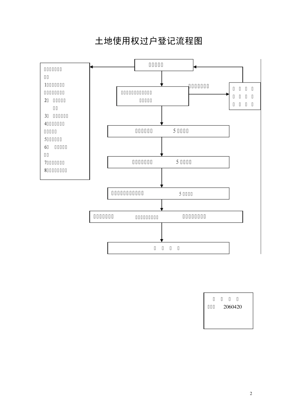
1 土地使用权证书流程图 申请材料不齐全 申请人申请 应提交的申报材料: 1、个人(法人代表)身份证明书;2、、土地登记申请书; 3、 土地登记委托书; 4、 其他有关材料。 5、指界委托书; 6、 营业执照和机构代码证; 7、 身份证明; 8、 权属证明材料; 行政服务中心国土局窗口受理(即办) 一 次 性 告知 申 请 人补 充 申 请分局地籍调查5 个工作日 地籍科权属初审5 个工作日 行政事项服务科审核制证5 个工作日 申请人凭证件到行政服务中心国土局窗口领取土地证书 办 结 归 档 监 督 投 诉 电话:2 0 6 0 4 2 0 2 土地使用权过户登记流程图 申请材料不齐全 申请人申请 应提交的申报材料: 1、个人(法人代表)身份证明书; 2、 土地登记委书; 3、 指界委托书; 4、营业执照和机构代码证; 5、身份证明; 6、 权属证明材料; 7、土地登记申请 8、其他有关材料。 行政服务中心国土局窗口受理(即办) 一 次 性 告知 申 请 人补 充 申 请分局地籍调查5 个工作日 地籍科权属初审5 个工作日 申请人凭证件到行政服务中心国土局窗口领取土地证书 办 结 归 档 行政事项服务科审核制证5 个工作日 监 督 投 诉 电话:2 0 6 0 4 2 0 3 集体土地使用权抵押登记流程图 申请材料不齐全 申请人申请 应提交的申报材料: 1、被抵押土地的集体土地所有者同意抵押的证明; 2、抵押合同; 3、抵押人和抵押权人身份证明; 4、抵押登记申请书; 5、 经土地行政主管部门确认的地价评估报告; 6、 土地使用权属证明; 7、其他材料。 行政服务中心国土局窗口受理(即办) 一 次 性 告知 申 请 人补 充 申 请材料 分局地籍调查5 个工作日 地籍科权属审核5 个工作日 申请人凭证件到行政服务中心国土局窗口领取土地证书 办 结 归 档 行政事项服务科审核制证5 个工作日 监 督 投 诉 电话:2 0 6 0 4 2 0 4 初始土地登记流程图 申请材料不齐全 申请人申请 应提交的申报材料: 1、个人(法人代表)身份证明书; 2、 地登记委托书; 3、 指界委书; 4、 营业执照和机构代码证; 5、身份证明; 6、 权属证明材料; 7、 土地登记申请书; 8、 其他有关材行政服务中心国土局窗口受理(即办) 一 次 性 告知 申 请 人补 充 申 请分局地籍调查5 个工作日 地籍科权属初审5 个工作日 申请人凭证...

1、当您付费下载文档后,您只拥有了使用权限,并不意味着购买了版权,文档只能用于自身使用,不得用于其他商业用途(如 [转卖]进行直接盈利或[编辑后售卖]进行间接盈利)。
2、本站所有内容均由合作方或网友上传,本站不对文档的完整性、权威性及其观点立场正确性做任何保证或承诺!文档内容仅供研究参考,付费前请自行鉴别。
3、如文档内容存在违规,或者侵犯商业秘密、侵犯著作权等,请点击“违规举报”。

碎片内容

土地使用权证书流程图

确认删除?
VIP
微信客服
  • 扫码咨询
会员Q群
  • 会员专属群点击这里加入QQ群
客服邮箱
回到顶部