电脑桌面
添加小米粒文库到电脑桌面
安装后可以在桌面快捷访问

12项目计划与进度控制管理办法VIP免费

12项目计划与进度控制管理办法_第1页
1/12
12项目计划与进度控制管理办法_第2页
2/12
12项目计划与进度控制管理办法_第3页
3/12
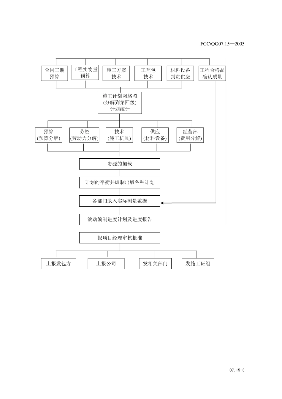
FCC/Q G 07.15—2005 中国石化集团第四建设公司 2005—05—10批准 2005—06—01实施 07.15-1 项目计划与进度控制管理办法 1 适用范围 本办法规定了项目部应用 P3软件进行施工计划的编制及施工进度管理的具体内容和有关要求,并提出 P3软件进行工程管理过程中与相关部门的流程衔接、分工责任。公司大、中型项目必须执行。专业公司、公司小型项目在满足报表上报的基础上,参照执行。 2 项目计划统计主要管理职责 2.1 计划管理 ——按公司批准的项目管理实施规划,结合现场实际,做详细的施工任务分工; ——依据公司分承包方名录,确认其资质,办理分包工程的审批手续,建立分包台帐; ——根据业主兼顾公司内部管理要求编制 WBS编码; ——按单项工程编制总体进度执行计划(三级计划); ——对多工种交叉作业和施工难度大的特殊作业按单位工程编制详细的作业计划(四级计划); ——分阶段编制年、季施工计划; ——编制月施工计划并落实分解下达到施工专业队; ——汇编周作业计划,并下达到作业班/组; ——编制单项工程的收尾计划; ——按合同规定时间向发包方(业主、总承包方或监理有要求时也应报送,下同)报送各类施工计划; ——按规定时间向公司工程管理处报送各类施工计划; ——工程结束后,对 P3(或 Project)目标工程与现行工程进行对比、分析、评价,并对项目的计划管理工作进行书面总结。 2.2 统计管理 ——根据公司年报要求,搞好各专业盘点、审核、汇编统计年报; ——根据批准的概(预)算,设计变更、现场签证按照工序比重法,在核实实物量及形象进度的基础上,审核确认、汇编项目部月统计报表,上报发包方和工程管理处; ——按发包方要求时间编制周统计报表,逐项分析周计划执行的偏差原因; FCC/Q G 07.15—2005 07.15-2 ——按工程管理处要求的表式、内容、时间上报半月报; ——按合同规定时间,依据现场完成情况向发包方报送月统计报表,并提供给财务部门,及时收取工程进度款; ——根据施工计划,检查考核计划任务完成情况; ——按季度搜集、整理施工生产统计资料,将工程项目进展情况报工程管理处。 2.3 项目相关部门工作职责 计划管理和进度控制要求项目各部门必须密切配合,明确相互之间的关系和各自的管理内容、管理幅度,理顺管理流程,实现 P3的集成管理。 计划管理和进度控制过程中需项目各业务部门所做的工作如下: a) 由经营部提供合同附本,进行合同交...

1、当您付费下载文档后,您只拥有了使用权限,并不意味着购买了版权,文档只能用于自身使用,不得用于其他商业用途(如 [转卖]进行直接盈利或[编辑后售卖]进行间接盈利)。
2、本站所有内容均由合作方或网友上传,本站不对文档的完整性、权威性及其观点立场正确性做任何保证或承诺!文档内容仅供研究参考,付费前请自行鉴别。
3、如文档内容存在违规,或者侵犯商业秘密、侵犯著作权等,请点击“违规举报”。

碎片内容

12项目计划与进度控制管理办法

您可能关注的文档

小辰5+ 关注
实名认证
内容提供者

出售各种资料和文档

确认删除?
VIP
微信客服
  • 扫码咨询
会员Q群
  • 会员专属群点击这里加入QQ群
客服邮箱
回到顶部