电脑桌面
添加小米粒文库到电脑桌面
安装后可以在桌面快捷访问

基坑监测监理实施细则VIP免费

基坑监测监理实施细则_第1页
1/8
基坑监测监理实施细则_第2页
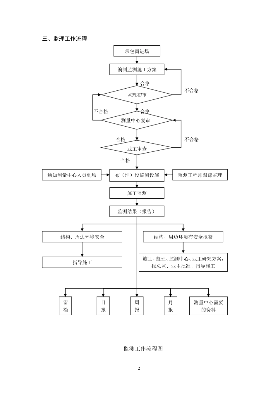
2/8
基坑监测监理实施细则_第3页
3/8
监理实施细则 (基坑监测) 项目监理机构(章): 专业监理工程师: 总监理工程师: 日期: 1 一、工程概况 本 标 段 包 含 二 站 三 区 间 , 分 别 为 南 门 路 站 、 团 结 桥 站 、 竹 辉 路 站 ~ 南 门 路 站区 间 、 南 门 路 站 ~ 团 结 桥 站 区 间 、 团 结 桥 站 ~ 宝 带 东 路 站 区 间 。 标 段 站 线 总 跨 度2.43km。 标 段 线 路 主 要 沿 人 民 路 、 东 吴 北 路 布 设 , 始 于 竹 辉 路 站 南 端 , 中 间 经 过外 城 河 及 人 民 桥 、 南 环 快 速 路 高 架 桥 、 湄 长 港 及 团 结 桥 、 吴 中 路 , 终 于 宝 带 东 路站 。 南 门 路 站 位 于 人 民 南 路 与 端 文 路 交 叉 路 口 下 , 车 站 为 地 下 两 层 岛 式 车 站 , 长202.2m, 宽 22.8m , 高 14.07m , 标 准 段 埋 深 16.2~ 18m, 覆 土 3.1m, 团 结 桥 站 位于 东 吴 北 路 与 团 结 桥 巷 交 叉 路 口 下 , 车 站 为 地 下 两 层 岛 式 车 站 , 长174.6m, 宽19.7m, 高14.1m, 标 准 段 埋 深17.6~ 19.3m, 覆 土3.5m。 为 及 时 掌 握 施 工 安 全状 态 , 需 要 对 施 工 过 程 进 行 严 密 监 测 , 达 到 信 息 化 施 工 的 目 的 。 二、专业工程特点 1 、 监 测 就 是 在 施 工 过 程 中 , 通 过 设 置 各 种 测 量 元 件 和 仪 器 , 实 时 收 集 现 场实 际 数 据 并 加 以分 析, 根据 分 析结 果对 原设 计和 施 工 方案进 行 必要 的 调整,并 反馈到 下 一施 工 过 程 ,对 下 一阶段 的 施 工 进 行 分 析和 预测 ,从而保证工 程 施 工 安 全 、经 济地 进 行 。 2 、 本 工 程 南 门 路 站 采用明挖顺做法施 工 , 团 结 桥 站 采用盖挖顺作法及 明挖法顺做法施 工 。 基坑开挖较深 且为 中 软土 基坑, 施 工 工 序转换多, 工 程 环 境及 区域工 程 复杂。 周边建筑物繁多且距离基坑较近,车 站 的 围护结 构边线 已经 侵入城市主 干道——人 民 路 、 东 吴 北 路 , 施 工 过 程 中 人...

1、当您付费下载文档后,您只拥有了使用权限,并不意味着购买了版权,文档只能用于自身使用,不得用于其他商业用途(如 [转卖]进行直接盈利或[编辑后售卖]进行间接盈利)。
2、本站所有内容均由合作方或网友上传,本站不对文档的完整性、权威性及其观点立场正确性做任何保证或承诺!文档内容仅供研究参考,付费前请自行鉴别。
3、如文档内容存在违规,或者侵犯商业秘密、侵犯著作权等,请点击“违规举报”。

碎片内容

基坑监测监理实施细则

您可能关注的文档

确认删除?
VIP
微信客服
  • 扫码咨询
会员Q群
  • 会员专属群点击这里加入QQ群
客服邮箱
回到顶部