电脑桌面
添加小米粒文库到电脑桌面
安装后可以在桌面快捷访问

2025年应急处置流程图VIP免费

2025年应急处置流程图_第1页
1/1
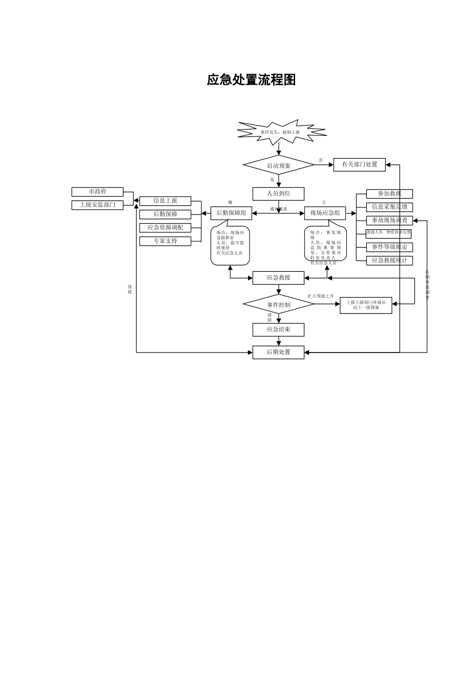
应急处置流程图有关部门处置事件发生,接到上报启动预案人员到位后勤保障组现场应急组场合:现场应急指挥室人员:值守值班领导有关应急人员场 合 : 事 发 现场人 员 : 现 场 应急 组 重 要 领导 、 分 管 领 导科 室 负 责 人 、有关应急人员是否主辅救援人员、物资需求反馈事故现场调查事件等级拟定应急救援统计信息采集反馈参加救援信息上报后勤保障应急资源调配专家支持市政府上级安监部门通讯联系应急救援应急结束事件控制消除扩大等级上升 上报上级部门申请启动上一级预案后期处置续报后期事故调查

1、当您付费下载文档后,您只拥有了使用权限,并不意味着购买了版权,文档只能用于自身使用,不得用于其他商业用途(如 [转卖]进行直接盈利或[编辑后售卖]进行间接盈利)。
2、本站所有内容均由合作方或网友上传,本站不对文档的完整性、权威性及其观点立场正确性做任何保证或承诺!文档内容仅供研究参考,付费前请自行鉴别。
3、如文档内容存在违规,或者侵犯商业秘密、侵犯著作权等,请点击“违规举报”。

碎片内容

2025年应急处置流程图

确认删除?
VIP
微信客服
  • 扫码咨询
会员Q群
  • 会员专属群点击这里加入QQ群
客服邮箱
回到顶部