二级建造师注册业务流程及流程图事项一:二级建造师初始注册 业务流程: (一)受理、初审:主体是区(县)住建委。 初审材料: 1.《二...
工程施工管理工作流程图6.3.1 工程施工过程管理流程流程名称工程施工过程管理流程文献受控状态文献管理部门总经理/总工程师办公室项目经...
HONG 施工阶段监理工作总程序:项目监理组进驻现熟悉图纸有关资料、编制监理实行监理人 员 名单 通监理工程师权限告知监理程序告知使用...
监理质量控制基本程序 1. 施工阶段质量控制工作流程框图(见框图1) 2. 材料控制工作流程框图(见框图2) 3. 测量控制监理工作流程框...
(完整)监理工作程序流程图 1 主要监理工作流程图 1. 施工安装阶段监理服务流程 2. 开工审核监理工作流程 3. 施工图纸会审流程 4....
1、施工阶段进度控制计划在工程承包合同中,确定工期总目标承包单位、建设单位根据工期总目标编制施工总进度计划承包单位审批施工总进度计...
附录1:监理工作流程图 附图一 (一)总监理程序框图 施 工 准 备 阶 段 监 理 施 工 阶 段 否 监 理 是 否 总开工令...
长 沙 华 星 建 设 监 理 有 限 公 司 准 备 阶 段 监 理 图1 施工监理服务实施程序 建设单位与监理单位签订委托监理...
施 工 阶 段 监 理 工 作总程序: 施 工 准备阶 段 监 理 程序: 筑 龙 网 W W W . Z H U L O N 开 工申请核签...
第 1 页 共 10 页 合同管理程序 1 、 合同管理监理工作程序总图(见框图 1) 2 、 监理工作总流程框图(见框图 2) 3 、 ...
日常疫情防控应急流程 晨午检 通知疫情报告员(孟凡新) 保健员(刘敏老师) 询问是否有疫区居住史、旅居史 有 无 家长带回治疗并每...
一、现代男西装精做工艺: 1.打线钉:前大片、前侧片、挂面、领里、领面、作标记、前片、驳线、串口线、袋位、腰节线、扣位、袖标点、领肩...
1 (一)加电类故障判断流程 不加电指示灯不亮指示灯亮一下即灭接上市电或一开机市电即断每天第一次开机时不加电或要等很长时间才启动有...
开机全过程以每行一个过程来看 IO.SYS MSDOS.SYS CONFIG.SYS COMMAND.COM AUTOEXEC.BAT 这五个文件是开机的五个应该有的文件顺序 电...
桥架工艺流程图 桥架: 剪板下料 折弯、电焊 酸洗 磷 化 喷塑、镀锌(冷、热) 成品检验 包 装 电缆工艺流程图 6K V 及以上...
电气安装施工流程图
电机修理工艺流程图 重新装配 测试 焊补 做槽绝缘、槽楔 铁芯修理 整机总装 电机出厂试验 喷漆或刷漆 局部装配 电机入厂验收、编...
备煤工艺流程图匚二]脱排水装过山山山G/精煤J!/精煤」/ 缺 // 敬 / 煤 3.堆 W 机来自洗煤厂箱煤可逆配仓带式输机― 堆取料机 堆...
、人员招聘流程图核定薪资福利V结束、新员工报到流程图三、员工转证定级流程图四、员工离职流程图五、员工办理调休(休假)手续流程图六、...
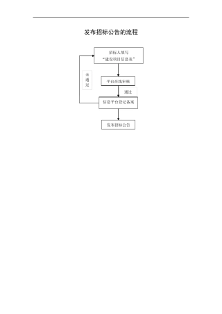
发布招标公告的流程 招标人填写 “建设项目信息表” 信息平台登记备案 平台在线审核 通过 未通过 发布招标公告 在线投标报名的流程...

